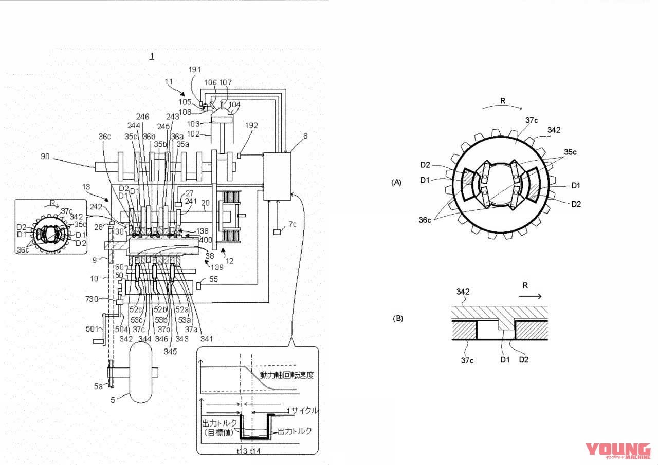
シームレストランスミッション搭載車両の概要と、ギヤ内部のポール(ラチェット機構のようなものらしい)の図。
ヤマハの新しい特許が2022年5月24日に発行された。その内容は「シームレス変速機の変速ショックを抑制する」というものだが、図版に使用されている車両はMotoGPマシン・YZR-M1ではなく、我々もよく知る市販車「YZF-R1」だった。こ、これは………ッ!! 目次 1 動力伝達を切断することなく変速できるシームトランスレスミッション2 市販車にはとても搭載できない、そう思っていた時期がありました3 […]







































