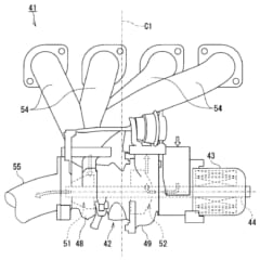
貴重な開発風景のカット。10年以上にわたるテストで膨大な試作車が生まれ、その中にターボや1340㏄超の大排気量版などが存在した。
ヤングマシンお家芸のスクープネタとして、何度も執拗に追いかけ回してきた次期ハヤブサの姿。3代目新型のお披露目に伴ってスズキが公開した開発ストーリー動画により明らかになった試作車「ターボ」は、我々が長い間追い求めてきた夢の1台でもあった。 目次 1 これがハヤブサに乗るぅ?! YMスクープ班の血圧急上昇2 “ターボ隼”夢の根拠:電動アシスト式ターボ特許関連図面(’ […]












































