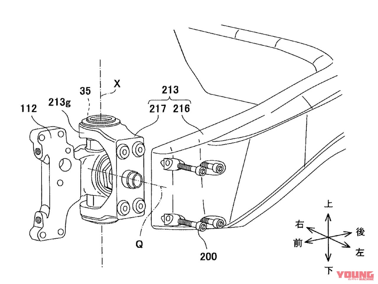
ハブステア部分はボルトオン機構も検討している模様。213gと書かれた部品を交換することでキャスター角の設定が容易になる。これがコストダウンにも貢献するようだ。
ビモータの復活がEICMA2019で発表され、その際にお披露目された「TESI H2(テージ エイチツー)」はフレームを持たない最新世代ハブステア機構でファンを驚かせた。しかし今回入手したカワサキの特許図の出願日は2018年夏。ビモータ設計が固まる前に、カワサキによる設計もあり得たのか。または違った狙いがある……? 目次 1 【読み飛ばしOK】テージH2のハブステア機構と特許図は、似ているようでか […]







































