記事へ戻る

[画像 No.2/10]ビモータが新プロジェクト!! 謎のリンケージ写真をSNSで公開

2022/01/14
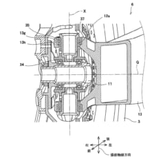
カワサキの公開特許図|ビモータが新プロジェクト!! 謎のリンケージ写真をSNSで公開
フロントアームを平行する2本のリンクで支持し、ショックアブソーバーに対してはリンクロッドで荷重を伝達。操舵機構はハンドル下のステアリング軸からリンクを介してハブステアへと連結されている。メインフレームは持たない構造のようだ。ストロークによるホイールベースの変化量は少ない方向か。
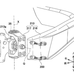
ビモータは、新年最初のSNS投稿で『New year……new project!』と題した一葉の写真を公開した。そこに映し出されていたのは、なんらかの平行リンク的な機構と思われる部分のアップで、よく見ると細かいところまで削り出しで製作してあるものだとわかる。 光の加減から、車体の低い位置にあるパーツのようにも思えるが、フロントのダブルウィッシュボーンだとすればステアリング軸が足りないし、かといって […]
003-9