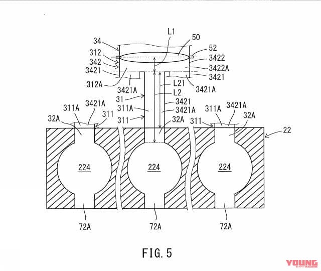
エンジンに接続された吸気通路部における下流側吸気通路部を示す模式図。
ヤマハの新しい特許が2022年8月17日に発行された。その内容は「複数の燃焼室を有するエンジンとターボチャージャーを備える車両において、アクセル操作に対するエンジンの応答性を向上させる」というもの。図版の車両はMT-10がベースだが、エンジンは3気筒が用いられている。 目次 1 車体姿勢の制御に不可欠な“忠実なレスポンス”を具現化する 車体姿勢の制御に不可欠な“忠実なレスポンス”を具現化する “ユ […]
欧州では価格未発表だが、北米では前年から200ドル増の9399ドルと発表 ヤマハは北米で新型「YZF-R7」を発表。欧州で発表された新型「R7」にモデルチェンジ内容は準じつつ、北米独自のカラーリングで[…]
論より証拠! 試して実感その効果!! カーシャンプーやワックスをはじめ、さまざまなカー用品を手がけてきた老舗ブランド「シュアラスター」。そのガソリン添加剤シリーズ「LOOP」のフラッグシップモデルが、[…]
2026モデルのモトクロッサーYZ450Fをベースに電動化 電動トライアルマシンの「TY-E」でFIMトライアル世界選手権EVクラスに参戦するなど、カーボンニュートラル達成に向けた取り組みにも積極的な[…]
ニンジャH2 SX SE 2026年モデル発売! スーパーチャージャー搭載のスポーツツアラー「Ninja H2 SX SE」の2026年モデルが、2025年11月1日に発売。おもな変更点は、カラー&グ[…]
より高度な電子制御でいつでもどこでも快適な走りを!! 【動画】2026 CB1000GT | Honda Motorcycles ホンダがEICMA 2025にて発表した「CB1000GT」は、「Hi[…]
名機と呼ばれるVツインエンジンを搭載! 今や希少な国内メーカー製V型2気筒エンジンを搭載するSV650/Vストローム650が生産終了となり、名機と呼ばれた645ccエンジンにひっそりと幕を下ろしたかに[…]
より高度な電子制御でいつでもどこでも快適な走りを!! 【動画】2026 CB1000GT | Honda Motorcycles ホンダがEICMA 2025にて発表した「CB1000GT」は、「Hi[…]
スポーツライディングの登竜門へ、新たなる役割を得たR7が長足の進化 ミラノで開催中のEICMA 2025でヤマハの新型「YZF-R7(欧州名:R7)」が登場した。2026年から従来のワールドスーパース[…]
背中が出にくい設計とストレッチ素材で快適性を確保 このインナーのポイントは、ハーフジップ/長めの着丈/背面ストレッチ素材」という3点だ。防風性能に特化した前面と、可動性を損なわない背面ストレッチにより[…]
ニンジャH2 SX SE 2026年モデル発売! スーパーチャージャー搭載のスポーツツアラー「Ninja H2 SX SE」の2026年モデルが、2025年11月1日に発売。おもな変更点は、カラー&グ[…]










