鞍乗型車両のフロントカウル構造(その2)
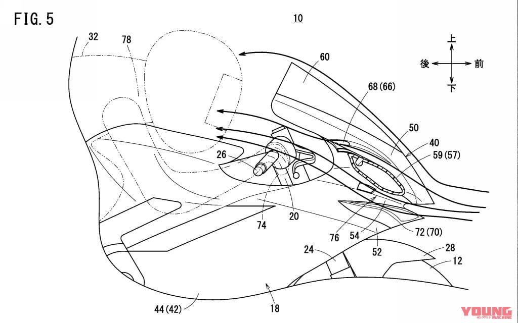
ホンダが二輪車の「フロントカウル構造」に関する特許を出願していたことがわかった。2022年6月15日に出願され、公開は2023年12月27日。カウル内を通った走行風によってダウンフォースを得る仕組みだ。 目次 1 カウルは2タイプ、それぞれで特許が出願されている!2 フロントカウル構造、タイプ13 フロントカウル構造、タイプ2 カウルは2タイプ、それぞれで特許が出願されている! 2027年以降、M […]
狙い目はこれだ!豪華すぎる「モニター3大特典」 単なるアンケート回答とはワケが違う。JESIMAIKが提示した条件は、ライダーなら見逃せない内容となっている。 人気アイテムを1点プレゼント! 最新イン[…]
ドゥカティに3冠をもたらした栄光のマシン 2007年にケイシー・ストーナーがファクトリーライダーになるまで、モトGPにおけるドゥカティは苦戦を強いられていました。直線は速いが、曲がらないというレッテル[…]
「HAVE A BIKE DAY.」加藤ノブキ × TANAX 『加藤ノブキ』は、椎名林檎のCDジャケットや、東京モーターサイクルショー2024のメインビジュアルなども手がける、トップクラスのイラスト[…]
可変バルブ機構と縦目2灯フェイスを備えた本格派オフローダー まずはWR125Rが持つポテンシャルをおさらいしておきたい。最大の特徴は、走行中に吸気カムが切り替わる可変バルブ機構(VVA)を採用した水冷[…]
ライダーの使い勝手を徹底的に考えて作られたコンパクトナビ 株式会社プロトが輸入、販売するバイク用ナビゲーション「ビーライン モト2」は、ライダーの使用環境に最適化された専用設計モデルである。一般的なカ[…]
穏やかでない社名は南北戦争に由来。人種差別の意図はないと断言 1991年、成功を収めた弁護士、マシュー・チェンバースが興したバイクメーカー、コンフェデレート。和訳すると「南軍」を意味する社名は、創業地[…]
メンテフリーで静粛。高級車さながらの「ベルトドライブ」 定期的に行うチェーンのメンテナンス。油まみれの手は作業の実感を呼んでくれるけれど、ちょっと煩わしいのも確か。ヒョースンが放つ新型「GV250X […]
レースはやらない社長の信念に反して作成 前述の通り、ボブ・ウォレスがFIAの競技規定付則J項に沿ってミウラを改造したことから始まったイオタ伝説。Jというのはイタリア語に存在しないため、イオタは「存在し[…]
憧れの英国スポーツ、でも毎日の渋滞や維持費が心配? カッコいいスポーツバイクに乗りたい。休日はワインディングを駆け抜け、その流麗なスタイリングをガレージで眺めたい。そんな想いの前に立ちはだかるのが、「[…]
50㏄原付一種と同じルールで走る新原付 はっきり言って、ちょっと侮っていました。だってスペックだけで想像したら、スーパーカブ110を遅くしたのが、新基準原付となるスーパーカブ110 Lite。私は大型[…]












