鞍乗型車両のフロントカウル構造(その2)
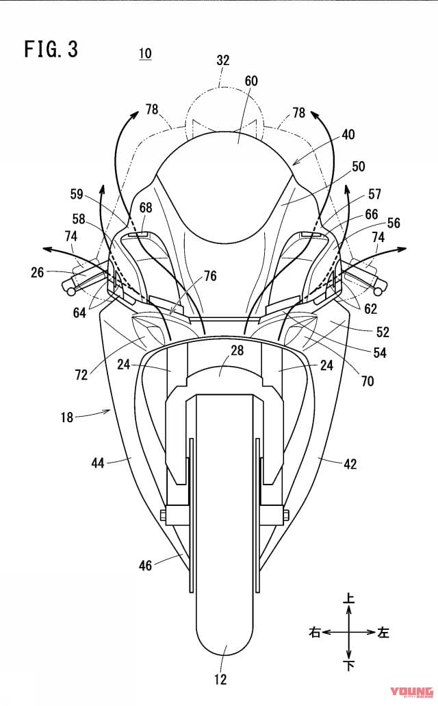
ホンダが二輪車の「フロントカウル構造」に関する特許を出願していたことがわかった。2022年6月15日に出願され、公開は2023年12月27日。カウル内を通った走行風によってダウンフォースを得る仕組みだ。 目次 1 カウルは2タイプ、それぞれで特許が出願されている!2 フロントカウル構造、タイプ13 フロントカウル構造、タイプ2 カウルは2タイプ、それぞれで特許が出願されている! 2027年以降、M […]
欲しいバイクは早い者勝ち! 全店500台の特選車大放出! お年玉や福袋や初売りといえば、年齢にかかわらず誰もがワクワクする年始の風物詩だ。そしてライダーにとって胸躍るのが「バイク王の初売り」である。 […]
排気量に見合った絶妙なシャーシがオフロードで効く!! オフロードバイクのYZF-R1の触れ込みで登場したWR250R、そして長年オフロードバイクのエントリーモデルとして愛されてきたセロー250…がカタ[…]
メイン収納以外に5ポケットを装備。日帰りから1泊までのツーリングに”使える”ツーリング用ウェストバッグ ツーリングにおける「荷物どこに積むか問題」。 ウェストバッグは腰に巻くだけだから、乗り降りの際に[…]
カブトの技術を結集した150個限定仕様 「F-17R Mips」の最大の特徴は、その帽体構造にある。最新のハイパーガラス繊維と高強度有機繊維素材、そしてカーボンを組み合わせた「A.C.T.-2+C(精[…]
ホコリや汚れを呼ぶ潤滑スプレー 鍵を差すときに動きが渋いなーとか、引っ掛かるなーと感じたことはありませんか? 家の鍵や自転車の鍵、倉庫の南京錠など、身の回りにはいろいろな鍵がありますが、屋外保管しがち[…]
2026年2月発売! 注目のカワサキ製新型ネイキッド3モデルに早速触れてみる 10月30日から11月9日までの期間に開催されたジャパンモビリティショーで初披露となったカワサキの人気モデルZ900RSの[…]
3Mシンサレート採用の4層構造で冬走行の冷えを軽減する 本商品は、防風ポリエステル生地/3Mシンサレート中綿/裏起毛の4層構造で手全体を効率よく保温する設計。一般的なポリエステル綿と比べて中綿が軽く、[…]
CFD解析で最適化された圧倒的な「抜け」の良さ KAMUI-5の最大の特徴は、CFD(数値流体解析)を用いて配置と形状が再設計されたベンチレーションシステムにある。走行風を効率よく取り込み、ヘルメット[…]
折りたたみ機構と視界性能を両立した実用設計 本商品は、ミラーマウントに装着する汎用タイプで、8mmと10mmに対応する左右セットモデルである。最大の特徴は、ミラーを内側に折りたためる構造で、保管時やバ[…]
得意の125ccクラスで意地を見せた走りのパフォーマンス! スズキは’60年代、ホンダに続きヤマハが挑戦を開始した世界GPチャレンジに追随、50ccと125ccの小排気量クラスを主軸に世界タイトルを獲[…]












