上から見た図。
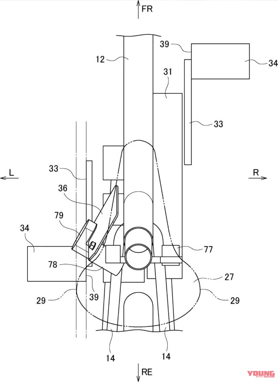
スズキの「e-PO(イーポ)」と思われる車両に関する特許が公開された。出願は2023年2月となっており、2023年秋のジャパンモビリティショーでの参考出品車には装備されていなかった仕様が検討されていることがわかる。 目次 1 堂々と公道を走れる原付一種の折り畳み電動モペッド、発売早よ!2 バッテリーが切れたら乗れないという問題を解決!3 特許図版はe-POに酷似?!4 e-POは小さな保安部品や前 […]
ノーマルからアドベンチャースタイルに TX- ストラーダの特徴のひとつに、車両のカテゴリーや走りに合わせて自分仕様にスタイルチェンジできるという機能がある。必要なものは、オプションパーツのTX-V バ[…]
参加のハードルは極限まで低い! 驚くべきは、これだけのボリュームがありながら「事前申込不要」かつ「参加費無料」という太っ腹な設定だ。 手厚いサポート: スタッフによる丁寧な車両解説。初心者でも気負わず[…]
大幅な飛躍を実現した第二世代の空冷2バルブZ 第二世代の空冷Zとして、’81年から発売が始まったZ1000JとZ1100GPは、’73年型Z1に端を発する第一世代の問題点を解消し、ライバルに対するアド[…]
PCX160ベースのクロスオーバースクーター ADV160が、先代モデル・ADV150の後継機種として初登場したのは2023年のこと。ベースモデルとなったPCX160と同様に、トラコンに相当するホンダ[…]
ボルトやナットが落ちないナットグリップ機能も魅力 ソケット外周のスプリングとスチールボールを組み合わせた、コーケンならではのナットグリップソケットと、六面式ボールジョイント機構を組み合わせたソケット。[…]
※画像はイメージです 配線不要で取り付けが簡単。クラファンでも大人気のドラレコ クルマはもちろんだが、バイクなどもドライブレコーダーで走行中の動画を記録するのは必須とも言える。未搭載の車両やバイクでの[…]
我慢できずに単独で全開走行! 1982年にAMAデイトナ100マイルレースを空冷CB750F改で制し、翌1983年には参戦2年目となるWGP500でヤマハのケニー・ロバーツと死闘を演じて当時史上最年少[…]
最新バイクにはない「味」と「所有感」。なぜ今、空冷直4を語るのか 現代のバイクは確かに高性能で壊れない。水冷エンジンは夏場の渋滞でも安心だし、電子制御のおかげで雨の日だって不安はほぼなく走れる。だが、[…]
メンテフリーで静粛。高級車さながらの「ベルトドライブ」 定期的に行うチェーンのメンテナンス。油まみれの手は作業の実感を呼んでくれるけれど、ちょっと煩わしいのも確か。ヒョースンが放つ新型「GV250X […]
止められても切符処理されないことも。そこにはどんな弁明があったのか? 交通取り締まりをしている警察官に停止を求められて「違反ですよ」と告げられ、アレコレと説明をしたところ…、「まぁ今回は切符を切らない[…]
























