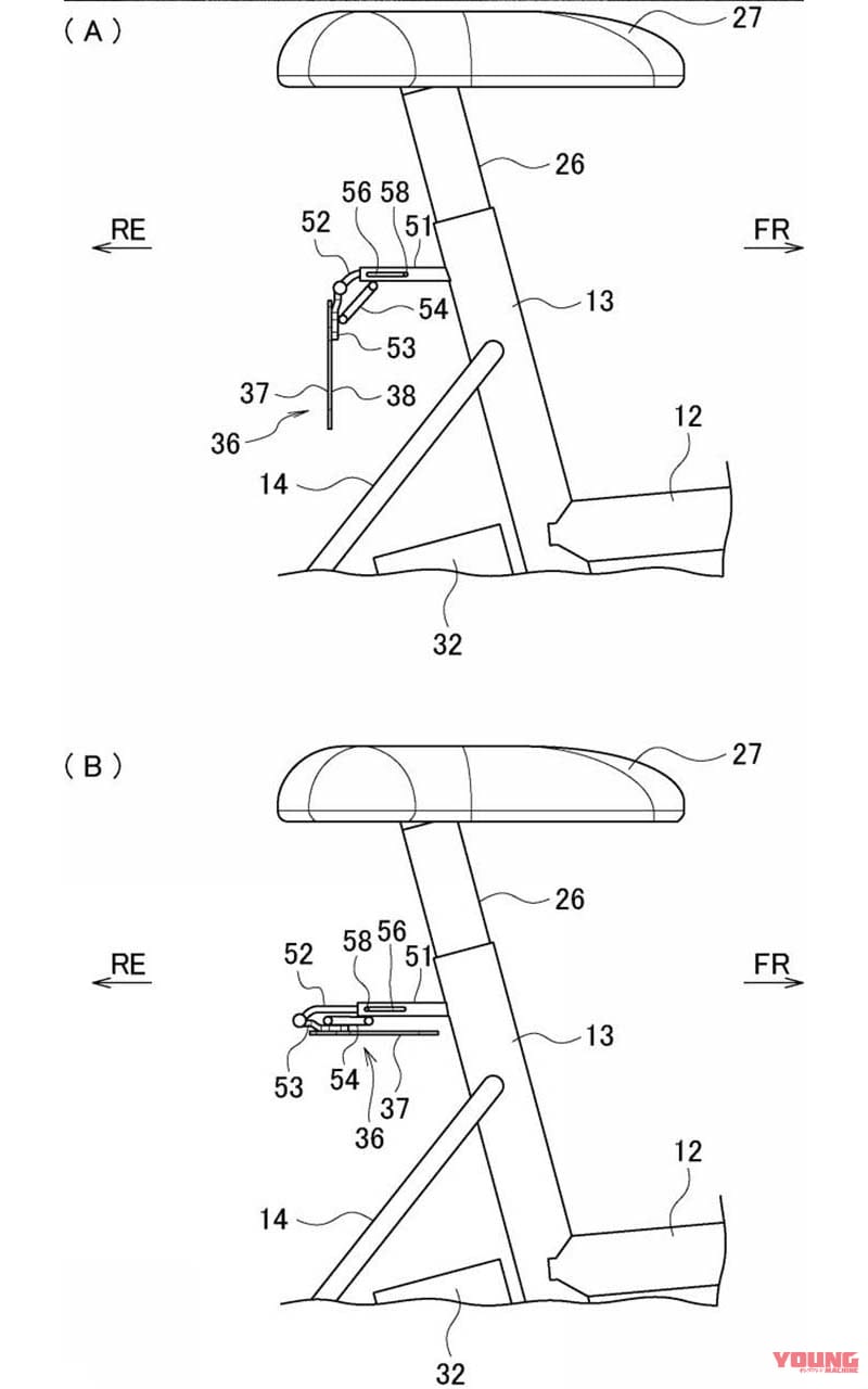
横から見た図。
スズキの「e-PO(イーポ)」と思われる車両に関する特許が公開された。出願は2023年2月となっており、2023年秋のジャパンモビリティショーでの参考出品車には装備されていなかった仕様が検討されていることがわかる。 目次 1 堂々と公道を走れる原付一種の折り畳み電動モペッド、発売早よ!2 バッテリーが切れたら乗れないという問題を解決!3 特許図版はe-POに酷似?!4 e-POは小さな保安部品や前 […]
BADHOPが、自らの存在と重ね合わせたモンスターマシンとは すでに解散してしまったが、今も多くのファンに支持されるヒップホップクルー、BADHOP。川崎のゲットーで生まれ育ったメンバーが過酷な環境や[…]
RCBテクノロジーを継承し誕生したCB900F CB750FOURの登場から10年ライバル車の追撃から復権するためホンダが選択したのは耐久レース常勝のワークスマシンRCB1000の心臓を持ち既存のバイ[…]
これまで以上に万人向き、さらに気軽な乗り味に! 10月上旬の全日本ロードレース選手権第6戦では、フル参戦しているJ-GP3クラスで3位を獲得。今季2度目の表彰台に立てたのですが、そのちょっと前に、かつ[…]
つながらなければ意味がない!「MIDLAND Re-BORN(リ・ボーン)」を実施! 創業65周年という節目を迎え、MIDLAND(ミッドランド)が掲げたスローガンは「MIDLAND Re-BORN([…]
リカバリーウェア市場においてNo.1を宣言! 2月8~9日の日程で開催されたワークマンの2026春夏新製品発表会。現在、同社はリカバリーウェア「MEDiHEAL(メディヒール)」の売れ行きが絶好調であ[…]
高いコスパと「旅」をテーマにした日常着としてのデザイン 『葬送のフリーレン』は、魔王を倒した勇者一行の後日譚を描くファンタジー作品だ。主人公のエルフ・フリーレンが、かつての仲間との約束を果たすため、あ[…]
2026年度「昼の瀬戸内海カジュアルクルーズ」の概要 商船三井さんふらわあが発表した2026年の「昼の瀬戸内海カジュアルクルーズ」は、大阪と大分県・別府を結ぶ航路にて実施される特別運航だ。 通常、同社[…]
街中の視線を独り占めする「愛おしいデザイン」 coffret(コフレ)の最大の特徴は、その名の通り「小箱」のようなコロンとした愛らしいフォルムだ。全長約2.1m、幅約1mというコンパクトさは、見ている[…]
大型バイクと違って400ではカウル装着に人気がいまひとつ! 1979年にデビューしたカワサキZ400FXは、ホンダCB400フォアから久しぶりの4気筒で、しかもDOHCと頂点テクノロジーを搭載していた[…]
X350の実力を証明した瞬間! こんなに嬉しいことはない。表彰台の真ん中に立つのは「ウィズハーレーレーシング」のエース宮中洋樹さん(RSYライダーズサロン横浜所属)だ。 ボクたち「ウィズハーレーレーシ[…]
























