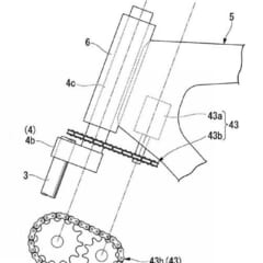
車線維持にも働く。ステアリング下にアクチュエータを配置するようだ。
ホンダが「鞍乗り型車両の姿勢制御装置」の特許を登録していたことがわかった。公開日は6月2日で、ステアリング制御によってバイクの直進安定性をアシストするもののようだ。 目次 1 4輪の車線維持システムと類似2 ライダーの操作か外乱によるものか区別してくれる模様 4輪の車線維持システムと類似 4輪の技術で『車線内の中央を走るように制御する』というシステムがあるのをご存じだろうか。ホンダで言えば「レーン […]
待望のリニューアル!タナックスのキャンピングシートバッグシリーズ! ツーリング用シートバッグの定番として長年多くのライダーに選ばれてきたタナックスのキャンピングシートバッグシリーズがリニューアルされた[…]
Screenshot ヘルメットのトレンドはマットタイプ マットタイプ(ツヤ消し)のヘルメット人気、凄いですよね。 とある販売店さんに聞いたところ、新規でヘルメットを購入される方の約7割がマットタイプ[…]
KCBMの熱狂とライダーとの交流 1998年から続くKCBMは、コーヒーを片手にライダー同士が親睦を深める、カワサキファンにとっての聖域ともいえるイベントだ。2025年の開催当日は2000台から300[…]
400cc以下なら4気筒より2気筒が優位? CBX400Fが誕生するまでの経緯は、’17年型CBR250RRや’92年型CB400SF、’86年型NSR250Rなどの生い立ちに通じるものがある。 もち[…]
2026年2月発売! 注目のカワサキ製新型ネイキッド3モデルに早速触れてみる 10月30日から11月9日までの期間に開催されたジャパンモビリティショーで初披露となったカワサキの人気モデルZ900RSの[…]
何でもありルールに世界のメーカーが飛びついた WRCグループBカテゴリーは1982〜86年まで続いたラリー競技。レース好きならご存じの通り、レギュレーションはほぼ「何でもあり」的なニュアンスでした。レ[…]
16日間で211万着の「メディヒール」が物量攻勢で復活 ワークマンが展開するPBリカバリーウェア「MEDIHEAL(メディヒール)」シリーズが、いま爆発的なヒットを記録している。2026年、秋冬商戦に[…]
日本発のトランスフォーマブル・バイク「タタメルバイク」 タタメルバイクは、日本のものづくりの精神と、自由な発想が融合して生まれた「持ち運べるパーソナルモビリティ」だ。最大の特徴は、その名の通りの折り畳[…]
火の玉「SE」と「ブラックボールエディション」、ビキニカウルの「カフェ」が登場 カワサキモータースジャパンは、ジャパンモビリティショー2025で世界初公開した新型「Z900RS」シリーズについてスペッ[…]
アドベンチャールックは伊達じゃない! 大型バイザーの恩恵 まず目を引くのが、オフロードテイストを感じさせる大型ピークバイザーだ。これは単なるファッションではない。 直射日光を遮る“ひさし”としての機能[…]






