記事へ戻る

[画像 No.7/7]スーパーカブに新アイデア! ブレーキペダルひとつで後輪ブレーキとパーキングブレーキを兼ねる構造の特許

2025/04/28
|スーパーカブに新アイデア! ブレーキペダルひとつで後輪ブレーキとパーキングブレーキを兼ねる構造の特許
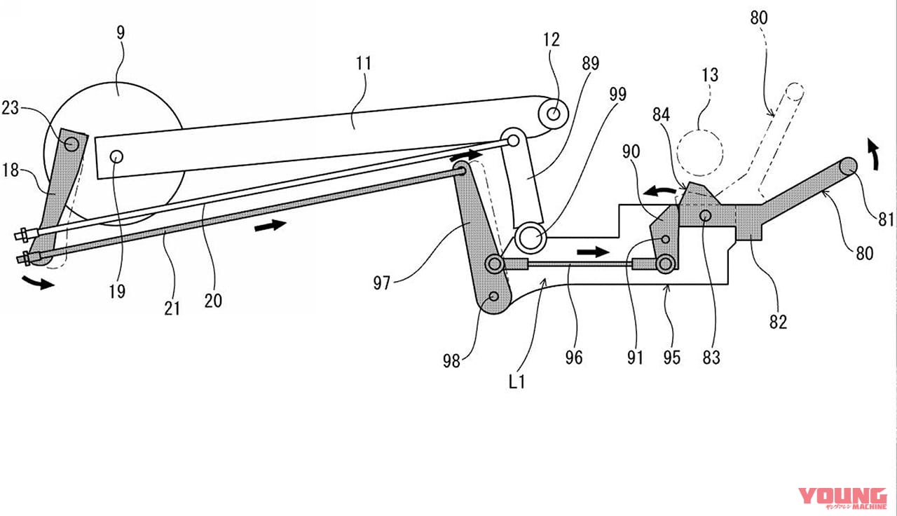
左図のようにブレーキペダルをかき上げることで2本目のロッドが引かれ、踏むことで解除される仕組みだ。
ホンダは、2023年にスーパーカブなどで利用できる特許を出願し、2025年3月に登録&公開された。自動遠心クラッチとフットブレーキを組み合わせた車両ならではの機構で、ブレーキペダルひとつでパーキングブレーキを兼ねる構造だ。※この情報は公開特許に基づいていますが、本田技研工業や販売店への問い合わせはご遠慮ください 目次 1 誤操作が少なくシンプルな構造で実現するという 誤操作が少なくシンプルな構造で […]