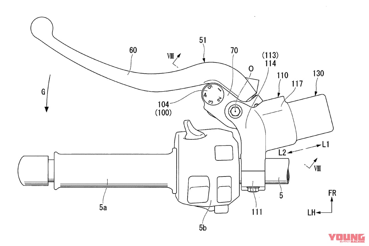
通常のクラッチはレバーからの入力をケーブルか油圧で物理的に伝達していたが、センサーからワイヤ(電線)で電子的に伝えるのがクラッチ バイワイヤ。レバー操作に必要な力は従来以上に軽くて済む。
今や貴重なミドルクラスの並列4気筒車として、堅調な販売を続けているCBR650R/CB650R。乗りやすさとスポーツ性の好バランスが光る1台だが、ホンダはそこに“イージー”というさらなる一手を加えてくる?! 特許出願でその存在が明らかになっている「電子式クラッチ」が投入されるというのだ!! 目次 1 革命的装備も価格差はヒトケタ万円以内?!2 ワイヤーではなく電気信号の”クラッチバイワ […]







































