記事へ戻る

[画像 No.4/5]次期ホンダ「CB1000ホーネット」「CB1000R」にもEクラッチ採用!? レブル250/CL250に続くのはCB1000系か

2024/04/18
|次期ホンダ「CB1000ホーネット」「CB1000R」にもEクラッチ採用!? レブル250/CL250に続くのはCB1000系か
【予想CG】CB1000 Hornet E-Clutch
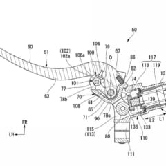
ホンダのEクラッチに関する特許が3月~4月にかけて登録・発行された。間もなく発売のCBR650R/CB650Rが『Honda E-Clutch(ホンダ イークラッチ)』を搭載しているわけだが、特許図に用いられた車両はどう見てもCB1000Rで……。 目次 1 マニュアルトランスミッションの発展形としてのEクラッチ2 クラッチバイワイヤはどこいった? マニュアルトランスミッションの発展形としてのEク […]