
ホンダが二輪車の「フロントカウル構造」に関する特許を出願していたことがわかった。2022年6月15日に出願され、公開は2023年12月27日。カウル内を通った走行風によってダウンフォースを得る仕組みだ。
●文:ヤングマシン編集部(ヨ)
カウルは2タイプ、それぞれで特許が出願されている!
2027年以降、MotoGPでは現在のようなウイングが禁止または縮小の方向でレギュレーションの改正が行われる予定だ。ほかにもライドハイトデバイスなど、市販車に結び付けにくいとされるメカニズムについても何らかの措置があるのではないかと言われている。
これを先取りするかのような特許がホンダから出願されていたことがわかった。特許名は「鞍乗型車両のフロントカウル構造」であり、2022年6月15日に2パターン同時の出願が同名で行われている。
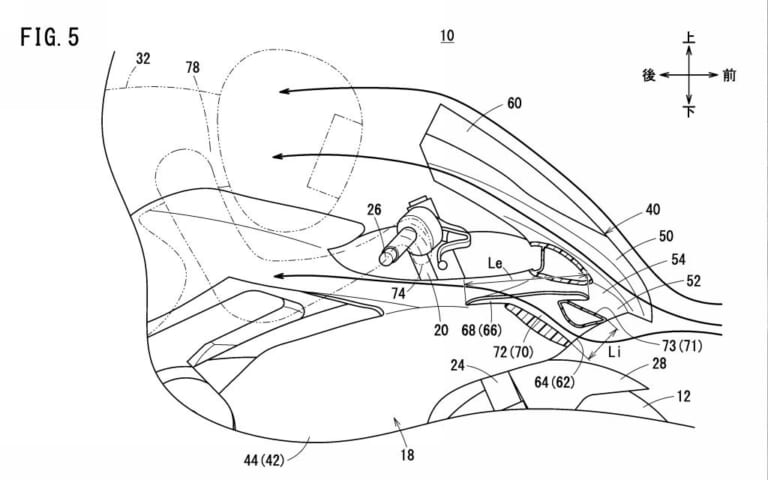
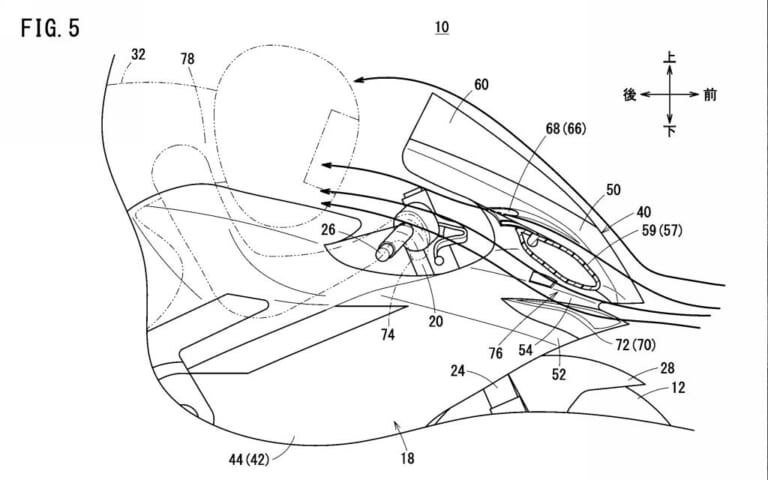
いずれの特許も、ダウンフォースを大きくしながら空気抵抗を低減することができるフロントカウル構造についてのもの。外側に羽が生えたような構造ではなく、カウル内部を通過した走行風に対して、断面が逆翼形状となった部分でダウンフォースを発生させる仕組みになっている。
通常のウイングも揚力ではなくダウンフォースを発生させるため逆翼形状となっているが、これをフロントカウルの両端に設けることで空気抵抗は大きくなる。これを解決するため、カウルに設けたダクトに走行風を通過させ、その中でダウンフォースを発生させるのがこの特許の骨子だ。
外翼タイプよりも空気抵抗を低減することができるといい、さらにフロントカウルから後方に流れる風を上方かつ外側に向けて流すことでライダーへの風の直撃を弱めることが可能で、これも空気抵抗の低減に貢献する。後方に排出された走行風がライダーを包むエアカーテンのように機能するわけだ。
また、空気抵抗の低減だけでは走行風が車体に張り付くように流れてしまって車体の運動性が阻害されかねないが、この構造では運動性の確保も謳われている。
2種類のカウルはカウルの分割構造やダクトの造りが異なっており、走行風の流し方も異なるため、それぞれに様々な機種で応用ができそうだ。これらは従来もあった、ウイング端を露出させないためのダクトウイングの発展形と見ることもできそうで、ある意味では先祖返りのようなスッキリとしたカウル形状を実現することになりそう。
もちろん、エアロダイナミクスの向上は燃費改善にも効果があるため、公道を走れるスーパースポーツモデルにも適用されることになるだろう。次期もしくは次々期CBR1000RR-Rあたり(まさかのCBR1000RR-RRとか!?)で見ることができる……か?
フロントカウル構造、タイプ1
鞍乗型車両のフロントカウル構造(その1)
フロントカウル構造、タイプ2
鞍乗型車両のフロントカウル構造(その2)
※掲載内容は公開日時点のものであり、将来にわたってその真正性を保証するものでないこと、公開後の時間経過等に伴って内容に不備が生じる可能性があることをご了承ください。
あなたにおすすめの関連記事
操作感はまるで4気筒スーパーカブ!? ライダーのクラッチ操作を機械が肩代わりしてくれる電子制御システムの登場だ! ホンダは世界初 二輪車用「Honda E-Clutch」の情報をホームページで公開。発[…]
4輪の車線維持システムと類似 4輪の技術で『車線内の中央を走るように制御する』というシステムがあるのをご存じだろうか。ホンダで言えば「レーンキープアシストシステム=LKAS」と呼ばれるもので、日本語で[…]
コーナリング中の自動ブレーキでも車体姿勢をキープできる これはライダーなら直感的に「そりゃ実現は難しいよね」と思う代物で、たとえばカーブで車体が傾いているときに自動ブレーキが作動したとしたら挙動が乱れ[…]
より操作に忠実な過給機付きエンジンを実現する! ホンダがアフリカツインに過給機を搭載?! そんなニュースが現実味を帯びてきたかもしれない。2020年の特許公開時には海外メディアを中心に話題となったが、[…]
オートクラッチ操作とマニュアル操作を自在に切替可能? 2021年6月にお伝えした『クラッチもバイワイヤ! ホンダの新たな特許、指1本で軽々操作できる……だけじゃない?!』という記事を覚えている方はいら[…]
最新の関連記事(メカニズム/テクノロジー)
バイク向けの次世代コネクテッドクラスター かつてオーディオ機器を生産し、現在はカーナビやドライブレコーダーといったモビリティ向けの製品を主力としているパイオニアが、2026年1月6日(火)~9日(金)[…]
いまや攻めにも安全にも効く! かつてはABS(アンチロックブレーキシステム)といえば「安全装備」、トラクションコントロールといえば「スポーツ装備」というイメージを持っただろう。もちろん概念的にはその通[…]
油圧ディスクブレーキだけど、“油(オイル)”じゃない いまや原付のスクーターからビッグバイクまで、ブレーキ(少なくともフロントブレーキ)はすべて油圧式ディスクブレーキを装備している。 厳密な構造はとも[…]
[A] 前後左右のピッチングの動きを最小限に抑えられるからです たしかに最新のスーパースポーツは、エンジン下から斜め横へサイレンサーが顔を出すスタイルが主流になっていますよネ。 20年ほど前はシートカ[…]
ミリ波レーダーと各種電制の賜物! 本当に”使えるクルコン” ロングツーリングや高速道路の巡航に便利なクルーズコントロール機能。…と思いきや、従来型のクルコンだと前方のクルマに追いついたり他車に割り込ま[…]
最新の関連記事(ホンダ [HONDA])
4気筒CBR250との棲み分けでさらに長期モデル化の一途へ! ホンダが1982年5月にリリースしたVT250Fは、パワフルな2スト勢に対抗できる唯一の存在として瞬く間に10万台を突破するベストセラーと[…]
ホンダにとって英国はスポーツバイクの奥深さを学んだ特別なカルチャーのの土地柄! 1985年、ホンダはGB400/500と名づけられたビッグシングル(単気筒)スポーツをリリース。 その風貌はトラディショ[…]
400cc以下なら4気筒より2気筒が優位? CBX400Fが誕生するまでの経緯は、’17年型CBR250RRや’92年型CB400SF、’86年型NSR250Rなどの生い立ちに通じるものがある。 もち[…]
レジェンド:フレディ・スペンサー視点「軽さと許容範囲の広さが新時代のCBの証だ」 私は長年、新しいバイクのテストをしてきたが、その際に意識するのはバイクから伝わる感覚、アジリティ(軽快性)、そして安定[…]
原付免許で乗れる“新しい区分の原付バイク”にHondaが4モデルを投入! 新たな排ガス規制の適用に伴い、2025年10月末をもってHondaの50cc車両は生産を終了しましたが、2025年4月1日に行[…]
人気記事ランキング(全体)
2026年2月発売! 注目のカワサキ製新型ネイキッド3モデルに早速触れてみる 10月30日から11月9日までの期間に開催されたジャパンモビリティショーで初披露となったカワサキの人気モデルZ900RSの[…]
3Mシンサレート採用の4層構造で冬走行の冷えを軽減する 本商品は、防風ポリエステル生地/3Mシンサレート中綿/裏起毛の4層構造で手全体を効率よく保温する設計。一般的なポリエステル綿と比べて中綿が軽く、[…]
CFD解析で最適化された圧倒的な「抜け」の良さ KAMUI-5の最大の特徴は、CFD(数値流体解析)を用いて配置と形状が再設計されたベンチレーションシステムにある。走行風を効率よく取り込み、ヘルメット[…]
折りたたみ機構と視界性能を両立した実用設計 本商品は、ミラーマウントに装着する汎用タイプで、8mmと10mmに対応する左右セットモデルである。最大の特徴は、ミラーを内側に折りたためる構造で、保管時やバ[…]
得意の125ccクラスで意地を見せた走りのパフォーマンス! スズキは’60年代、ホンダに続きヤマハが挑戦を開始した世界GPチャレンジに追随、50ccと125ccの小排気量クラスを主軸に世界タイトルを獲[…]
最新の投稿記事(全体)
欲しいバイクは早い者勝ち! 全店500台の特選車大放出! お年玉や福袋や初売りといえば、年齢にかかわらず誰もがワクワクする年始の風物詩だ。そしてライダーにとって胸躍るのが「バイク王の初売り」である。 […]
排気量に見合った絶妙なシャーシがオフロードで効く!! オフロードバイクのYZF-R1の触れ込みで登場したWR250R、そして長年オフロードバイクのエントリーモデルとして愛されてきたセロー250…がカタ[…]
メイン収納以外に5ポケットを装備。日帰りから1泊までのツーリングに”使える”ツーリング用ウェストバッグ ツーリングにおける「荷物どこに積むか問題」。 ウェストバッグは腰に巻くだけだから、乗り降りの際に[…]
カブトの技術を結集した150個限定仕様 「F-17R Mips」の最大の特徴は、その帽体構造にある。最新のハイパーガラス繊維と高強度有機繊維素材、そしてカーボンを組み合わせた「A.C.T.-2+C(精[…]
ホコリや汚れを呼ぶ潤滑スプレー 鍵を差すときに動きが渋いなーとか、引っ掛かるなーと感じたことはありませんか? 家の鍵や自転車の鍵、倉庫の南京錠など、身の回りにはいろいろな鍵がありますが、屋外保管しがち[…]
- 1
- 2






















































