記事へ戻る

[画像 No.6/11]2027年の新レギュレーション対応?! ホンダがダウンフォース強化のためのカウル内蔵“逆ウイング”の特許を出願

2024/01/05
|2027年の新レギュレーション対応?! ホンダがダウンフォース強化のためのカウル内蔵“逆ウイング”の特許を出願
鞍乗型車両のフロントカウル構造(その1)
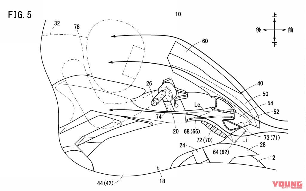
ホンダが二輪車の「フロントカウル構造」に関する特許を出願していたことがわかった。2022年6月15日に出願され、公開は2023年12月27日。カウル内を通った走行風によってダウンフォースを得る仕組みだ。 目次 1 カウルは2タイプ、それぞれで特許が出願されている!2 フロントカウル構造、タイプ13 フロントカウル構造、タイプ2 カウルは2タイプ、それぞれで特許が出願されている! 2027年以降、M […]