
ホンダが「鞍乗り型車両の姿勢制御装置」の特許を登録していたことがわかった。公開日は6月2日で、ステアリング制御によってバイクの直進安定性をアシストするもののようだ。
●文:ヤングマシン編集部(ヨ)
4輪の車線維持システムと類似
4輪の技術で『車線内の中央を走るように制御する』というシステムがあるのをご存じだろうか。ホンダで言えば「レーンキープアシストシステム=LKAS」と呼ばれるもので、日本語で言えば車線維持システム。高速道路などで車線内をふらつくクルマを見かけたことがあると思うが、ハンドル操作が雑だったり、変に力が入っていたり、または注意力散漫だったりとさまざまな理由によって、車線内を左右にフラフラと行ったり来たりする現象がある。
ホンダ LKAS(車線維持システム)のイメージ。アクティブセーフティのひとつだ。
LKASは車線逸脱を防ぐという名目で、カメラで捉えた車線を逸脱しないように電動パワーステアリングで操作を支援し、振動による注意喚起や実際のステアリング介入で車線の中央に戻す働きがある。もちろん人間の操作が優先されるので、人力で行きたい方向にステアリングを切ることは可能だし、ウインカーを点ければ介入も止まる。
そんなLKAS、実際に運転したことがある方は実感しているかもしれないが、じつは横風による進路の乱れにも補正が働く。これが意外なほどの効果を発揮するのだ。特に背の高いミニバン系では効果が大きく、体感的には横風で振られる幅が半分以下になる印象だ。
考えてみれば、予想できない外乱の場合、人間だったら認知から反応までに最低でもコンマ数秒はかかってしまうわけだが、電子制御であれば圧倒的に短時間で補正操作を開始できる。LKASがどの程度の反応時間かは公表されていないが、少なくとも人間の反応速度を大きく上回っているのは間違いないだろう。
ライダーの操作か外乱によるものか区別してくれる模様
電子制御を嫌う方の言い分として「そんなものは下手くそだから頼る必要があるんだ」というものがあるが、これは正しい部分もあるが間違っている部分もある。
人間の操縦スキルは、おおざっぱに言って予測と認知、判断、操作から成ると言え、このうち予測は経験によるものが大きく個人差があるものの、まだ人間がコンピュータに勝る部分が多い領域だろう。また、操作も熟練の操縦者であれば電子制御を上回る。
しかし認知~判断に関しては、とっくに機械が人間を追い越していると言わざるを得ない。センシングしている領域にもよるが、それこそ1000分の1秒単位で情報を拾い、演算し、その後にどのような反応をするか判断し、補正操作を開始する。そのリアクションタイムは長くても0.1秒程度だろうが、人間の場合は予測していない現象に出くわしたとき0.5秒程度の空白が生じてしまうのが普通なのだ。
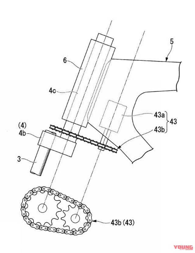
……と、やや脱線しつつLKASについて長々と書いてきたが、これには理由がある。ホンダが特許を登録した「鞍乗り型車両の姿勢制御装置」なるものが、横風への対応について記述しているからだ。
これはバイクのステアリングにアクチュエーターを追加し、意図しない急激なロール(車体の傾き)が発生したときに姿勢を回復させるような制御が働くというもので、そのロール挙動が外乱によるものかライダーの操作によるものかも判別するという。また、LKASと同様に車線中央をキープする機能もあるようだ。
本特許のシステム図。
これにより、たとえば高速道路などで強い横風にさらされたり、大型トラックを追い越しまたは追い越される際にバイク側が風で左右に振られるのを補正してくれるわけだ。
また、本特許は横風への対応が主題だが、システム図にはカメラやレーダー装置、さらにはナビゲーション装置まで含まれているので、システム全体としては4輪のLKASと同様の機能や、さらには自動運転まで含む研究が行われていると推察できる。
じっさいにこうしたものが市販バイクに採用されるのか、採用されるとしてそれがいつになるのかはわからないが、ホンダがさまざまな周辺技術を幅広く研究していることに心強さを感じずにはいられない。
いつか続報を期待してまーす!
※本記事の文責は当該執筆者(もしくはメディア)に属します。※掲載内容は公開日時点のものであり、将来にわたってその真正性を保証するものでないこと、公開後の時間経過等に伴って内容に不備が生じる可能性があることをご了承ください。
あなたにおすすめの関連記事
コーナリング中の自動ブレーキでも車体姿勢をキープできる これはライダーなら直感的に「そりゃ実現は難しいよね」と思う代物で、たとえばカーブで車体が傾いているときに自動ブレーキが作動したとしたら挙動が乱れ[…]
オートクラッチ操作とマニュアル操作を自在に切替可能? 2021年6月にお伝えした『クラッチもバイワイヤ! ホンダの新たな特許、指1本で軽々操作できる……だけじゃない?!』という記事を覚えている方はいら[…]
より操作に忠実な過給機付きエンジンを実現する! ホンダがアフリカツインに過給機を搭載?! そんなニュースが現実味を帯びてきたかもしれない。2020年の特許公開時には海外メディアを中心に話題となったが、[…]
2022年8月には新世代GSX-R1000と思われるエンジンの特許情報が公開され…… スズキは国内の公式HPで、リッタースーパースポーツ「GSX-R1000R」および軽二輪スクーター「バーグマン200[…]
動力伝達を切断することなく変速できるシームトランスレスミッション コンマ1秒のラップタイムを競うレースの世界では、昔から無駄のないシフトワークがライダーに必要なスキルとされてきた。できるだけ素早くシフ[…]
最新の関連記事(メカニズム/テクノロジー)
ピーキーに力強くより、先がイメージできる変化率、欲しいのはアテにできるトラクションの過渡特性! 私、ネモケンが1975~1978年に世界GP転戦したとき、親しかったバリー・シーン(Barry Shee[…]
バイク向けの次世代コネクテッドクラスター かつてオーディオ機器を生産し、現在はカーナビやドライブレコーダーといったモビリティ向けの製品を主力としているパイオニアが、2026年1月6日(火)~9日(金)[…]
いまや攻めにも安全にも効く! かつてはABS(アンチロックブレーキシステム)といえば「安全装備」、トラクションコントロールといえば「スポーツ装備」というイメージを持っただろう。もちろん概念的にはその通[…]
油圧ディスクブレーキだけど、“油(オイル)”じゃない いまや原付のスクーターからビッグバイクまで、ブレーキ(少なくともフロントブレーキ)はすべて油圧式ディスクブレーキを装備している。 厳密な構造はとも[…]
[A] 前後左右のピッチングの動きを最小限に抑えられるからです たしかに最新のスーパースポーツは、エンジン下から斜め横へサイレンサーが顔を出すスタイルが主流になっていますよネ。 20年ほど前はシートカ[…]
最新の関連記事(ホンダ [HONDA])
鏡面仕上げのアルミパーツとツヤのある塗装がおごられたトライアル車って? バイクいじり好きの筆者・小見が、日頃から修理や改造でお世話になっている溶接会社が東京都葛飾区堀切にある。発電所の基礎ボルトや産業[…]
CBR250カムギアトレーンが3世代でレーシーなデザインへ変身! ホンダは1986年、水冷DOHC16バルブの4気筒に、GPマシン専用メカニズムと謳われた伝家の宝刀カムギアトレーンを採用したCBR25[…]
現代に蘇った究極のアウトドアマシン、CT125ハンターカブの軌跡 CT125ハンターカブは、2020年6月26日にスーパーカブシリーズの「リバイバルシリーズ」第3弾として誕生した。スーパーカブC125[…]
125ccスクーター『LEAD125(リード125)』が華やかになりました! Hondaがラインアップする原付二種スクーターの中でも実用面においてはトップクラスの実力派が『LEAD125』だということ[…]
新機軸「違いの分かる男の4気筒路線」 1970年代を間近に控えた69年、バイク界に衝撃を与え、世界的な性能の基準を揺るがしたホンダCB750FOUR(フォア)。ナナハンブームの先駆けとなり、公道モデル[…]
人気記事ランキング(全体)
現代に蘇った究極のアウトドアマシン、CT125ハンターカブの軌跡 CT125ハンターカブは、2020年6月26日にスーパーカブシリーズの「リバイバルシリーズ」第3弾として誕生した。スーパーカブC125[…]
縦目2灯の斬新スタイルとVVAエンジンの実力を確認 「WR125R」の基本スペックを知るならこの記事だ。WR125R最大の特徴は、YZF-R125やXSR125と基本設計を共有する水冷4ストローク単気[…]
126~250ccスクーターは16歳から取得可能な“AT限定普通二輪免許”で運転できる 250ccクラス(軽二輪)のスクーターを運転できるのは「AT限定普通二輪免許」もしくは「普通二輪免許」以上だ。 […]
鏡面仕上げのアルミパーツとツヤのある塗装がおごられたトライアル車って? バイクいじり好きの筆者・小見が、日頃から修理や改造でお世話になっている溶接会社が東京都葛飾区堀切にある。発電所の基礎ボルトや産業[…]
スペンサーカラーと同じパターンで3色をラインナップ ホンダが昨秋の重慶モーターサイクルショーで発表した、新型4気筒エンジン搭載モデル「CB500 SUPER FOUR」。既報の通り商標が出願されていた[…]
最新の投稿記事(全体)
ウソかホントか!? 年越し宗谷岬アタックで実走テスト!! 2024年11月からエリーパワーのリチウムイオンバッテリー『HY93-C』を使い始めたフリーラインスライターの谷田貝です。どうもね、リチウムイ[…]
グランプリレースの黄金時代が甦る! 1970年代~80年代にかけて伝説的なアメリカンライダーのケニー・ロバーツ氏が走らせたYZR500は、イエローのストロボライン(ヤマハは現在スピードブロックと呼称)[…]
ST1000:名門×技術力の融合「NANKAI&三陽工業 RS-ITOH」 全日本ロードレース選手権ST1000クラスに参戦する「NANKAI&三陽工業 RS-ITOH」だが、カワサキの雄として知られ[…]
オンロード80%、オフロード20%の使用を想定 ミシュランから、2019年に登場した初代アナキーアドベンチャーの後継モデルが登場する。その名も「MICHELIN ANAKEE ADVENTURE 2([…]
スタイリッシュなグラフィック採用 バイザーを外すことでオンロードにも対応するマルチパーパスヘルメットである「ツアークロスV」。そのツアークロスVのラインナップの中で、大自然をのびのびバイクで走るような[…]
- 1
- 2













































