最新の投稿記事(全体)
毎日乗るなら軽さと足つき! 不安をなくす最高のエクスペリエンス 「スポーツバイクは前傾姿勢がキツそうだし、足つきも不安で毎日の通勤や通学には向かなそう」。そんな悩みを軽やかに吹き飛ばすのが、ヤマハのY[…]
鮮烈な印象を与えたヤマハ200ccロードスポーツ ヤマハ発動機は、斬新なトライや洗練されたデザインといった印象などで、ひとつ頭が抜けているメーカーだと以前から思っていた。 ヤマハ・バイクのデザインとい[…]
最新スポーツの“極小シート”を救う「20%ダウン」のサイズ感 今回の「RS」最大のトピックは、その絶妙なサイズ設定にある。 ベースとなったのは、汎用巻き付けタイプのベストセラー「ゲルザブR」。従来のR[…]
古き良きアメリカンテイストを再現した定番オープンフェイスのニューグラフィック 『クラシックエアー チョッパー』は、かつてのアメリカンレースシーンで大流行したファイヤーパターンをあしらった最新グラフィッ[…]
高回転油冷シングルのどこまでも伸びていく心地よさが魅力! スズキは1991年、ヤマハSR400/500やホンダGB400/500によって広められた懐古趣味的なシングルとは次元を異にした、走りのロードゴ[…]
人気記事ランキング(全体)
1.「裏ペタ」という不思議なカスタム SS系やストリートファイター系のカスタムバイクで、時折見かけることがある「裏ペタ」。要はナンバープレートを、リヤフェンダーの内側に貼り付けるカスタム(!?)のこと[…]
シトロエンが欲しがったミウラの対抗馬 1966年のジュネーブ・モーターショーで発表されたランボルギーニ・ミウラは世界中に衝撃を与えたこと間違いありません。当時、マセラティを所有していたシトロエンも同様[…]
実は9000台程度しか生産されなかったレアモデル 実のところヨーロッパは、1966年から1975年の間に9000台程度が製造されたにすぎません(諸説あります)。ロータスの会社規模を顧みれば、それでも多[…]
365GTB/4 デイトナ:275GTB/4を引き継ぎつつ大幅にアップデート 1968年のパリ・モーターショーでデビューした365GTB/4は、それまでのフラッグシップモデル、275GTB/4を引き継[…]
どんな車種にも似合う、シックなモノトーン仕様 通常のエアーコンテンドジャケットといえば、レーシングスーツ譲りのカッティングとスポーティな配色が持ち味だ。しかし、今回のリミテッドエディションではあえて色[…]



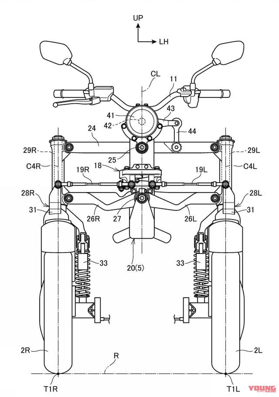
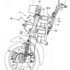
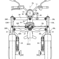
![HONDA X-ADV 3W [IMAGE CG]](https://young-machine.com/main/wp-content/uploads/2019/02/img02-11-360x360.jpg)

































