
ホンダが「前二輪揺動三輪車」にまつわる特許を登録していたことがわかった。発行日は3月2日とけっこう前だが、単に3輪バイクを実現するというようなものではなく、3輪ならではの自動ブレーキ対応やロール制御技術を開発しているようだ。
●文:ヤングマシン編集部(ヨ)
コーナリング中の自動ブレーキでも車体姿勢をキープできる
ヤングマシン2019年1月号掲載のCG。2015年の東京モーターショーではホンダが「ネオウイング」を初披露していた。
ホンダが3輪バイクを開発しているという噂は、2015年あたりから出たり消えたりしつつ、最近は気配が消えつつあった。しかし、どうやら開発は続いている可能性があるようだ。ホンダが登録した「前二輪揺動三輪車」にまつわる特許が、去る2023年3月に発行されたのだ。
4輪に始まった運転支援の充実ぶりが2輪にも波及し、最近ではレーダーを使ったアダプティブクルーズコントロール(ACC)が実現。パワーモードやサスペンションの電子制御なども、登場初期から比べれば制御の細やかさが相当にレベルアップしている。
ただ、バイクはライダーが跨って乗るもので、車体を傾けて走ることから、不意の強い加減速はご法度とされてきた。もちろんACCは前車に追従して走ることから、ある程度の加減速はするものの、基本的にはゆったりスロットルを開けたり閉じたりで、挙動が乱れる可能性がある緊急的なブレーキの作動までには至っていない。
これはライダーなら直感的に「そりゃ実現は難しいよね」と思う代物で、たとえばカーブで車体が傾いているときに自動ブレーキが作動したとしたら挙動が乱れ、ライダーが振り落とされんばかりに安定性を失うのではないかと想像してしまう。特に怖そうだなとイメージしてしまうのはフロントタイヤの挙動で、タイヤがグリップを失ったり、急激な減速で車体が立ってまっすぐ行ってしまうシーンが容易に想像できる。
これを解決する(ためだけではないのだろうが)技術として一定の回答になりそうなのが、前2輪の3輪バイクということのようだ。
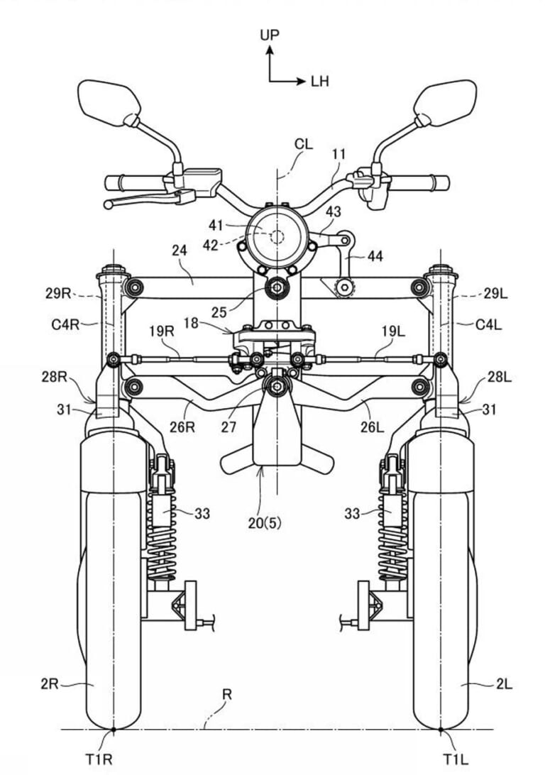
この特許では、まず前2輪のロールを補助する「揺動補助装置」というものがあり、これで車体の傾きを制御する。車両の姿勢状態(どれだけ傾いているか等)にもとづいて姿勢制御トルクを演算し、旋回状態であるかどうかを判断するとともに、直進状態であれば車両を直立キープしつつ自動ブレーキを作動、また旋回状態と判断すれば、車体の傾斜を維持するトルクを発生しながら自動ブレーキを作動させる。
普段は2輪と同じようにステアリングを自由にし、ライダーの意思どおりに動くようにしておきつつ、制御が必要な際には自立ロールトルク(車体を直立させる)、またはロール維持トルク(車体の傾斜を保つ)を発生させるわけだ。カーブの途中でロールを維持するということは、走行ラインを可能な限り乱さないように制御する、ということに繋がるはず。
これらの制御は、走行速度が上がると低くなり、下がると高くなるという。車速が上がると安定するバイクの特性を生かし、低速の不安定なところで積極的に介入するということだろう。
『3輪バイクに自動ブレーキを搭載することが望まれるものの、車体が左右に傾くため、自動ブレーキの作動時にはライダーがバランスを取るために複雑な操作を必要とする』という課題に対し、ロール制御を加えることでライダーの負担軽減し、自動ブレーキ実装へのハードルを下げることが可能になるというわけだ。
ホンダが2021年末に公開した自立バイク「ライディングアシスト2.0」をご記憶の方もおられるだろうが、これと同じような立ちゴケしない姿勢制御技術を盛り込むことも可能だろう。
実際にこうした3輪が市販化される可能性があるのか、それがいつになるのかは何とも言えないが、こうした技術によって誰もが、例えば足が不自由な場合であっても安全にバイクライフを楽しめる、そんな扉が開く日を心待ちにしたい。
ホンダが第44回東京モーターショー2015に出展したNEOWING(ネオウイング)。水平対向4気筒エンジンとモーターを組み合わせたハイブリッドシステムや、前輪に独自のリンク機構を採用すると謳っていた。
エンジンのシリンダーの前傾角などからNC750系の車体をベースにしている模様。これに独自のリンク機構を備えたフロントまわりをマウントしている。
左右にリーディングリンク式のサスペンションを備え、それを並行リンクで支持する。平行リンクのアッパーアームに揺動制御機構を設けている。ロワーリンクのところの左右のロッドはステアリング用か。自動ブレーキについては今回の特許で詳しく解説されていない模様。
※本記事の文責は当該執筆者(もしくはメディア)に属します。※掲載内容は公開日時点のものであり、将来にわたってその真正性を保証するものでないこと、公開後の時間経過等に伴って内容に不備が生じる可能性があることをご了承ください。
あなたにおすすめの関連記事
自然な乗り味を重視。操る楽しみは奪わない 空車状態のバイクがスタンドなしで直立している。ライダーが乗り込むと、2km/hの極低速でも倒れることなく旋回していく…。栃木県のテストコースでホンダが報道陣に[…]
未来の新車を大胆に予想(×妄想)することでおなじみの『ヤングマシン』。2018年はヤマハのLMWフラッグシップとしてナイケンが登場し、大きな話題を呼んだ。続く2019年はホンダが3輪市場に手を打ってく[…]
オートクラッチ操作とマニュアル操作を自在に切替可能? 2021年6月にお伝えした『クラッチもバイワイヤ! ホンダの新たな特許、指1本で軽々操作できる……だけじゃない?!』という記事を覚えている方はいら[…]
2022年8月には新世代GSX-R1000と思われるエンジンの特許情報が公開され…… スズキは国内の公式HPで、リッタースーパースポーツ「GSX-R1000R」および軽二輪スクーター「バーグマン200[…]
動力伝達を切断することなく変速できるシームトランスレスミッション コンマ1秒のラップタイムを競うレースの世界では、昔から無駄のないシフトワークがライダーに必要なスキルとされてきた。できるだけ素早くシフ[…]
最新の関連記事(メカニズム/テクノロジー)
夏場は100℃超えも珍しくないけれど… いまやバイクのエンジンは“水冷”が主流。安定した冷却性能によってエンジンパワーを確実に引き出すだけでなく、排出ガス/燃費/静粛性の面でも水冷の方が空冷より有利な[…]
LEDのメリット「長寿命、省電力、コンパクト化が可能」 バイクやクルマといったモビリティに限らず、家庭で利用する照明器具や信号機といった身近な電気製品まで、光を発する機能部分にはLEDを使うのが当たり[…]
ケーヒン/ショーワ/ニッシン/日立を統合した“日立Astemo(アステモ)”が4月より“Astemo”へ 自動車業界で「100年に一度」と言われる変革期を迎えるなか、キャブレターや電子制御スロットル、[…]
【冒頭解説】ECUをサスペンションに一体化、フロントフォークに自動車高調整を初採用 2021年1月に日立オートモティブシステムズ、ケーヒン、ショーワ、日信工業が経営統合して誕生した日立Astemo(ア[…]
ヤマハ発動機と三菱重工業は、200kgの貨物を搭載可能な中型マルチコプター型無人機(以下、中型無人機)の開発に向けた共同研究を行っていることを発表した。 パワーユニットには、ヤマハが2023年にコンセ[…]
最新の関連記事(ホンダ [HONDA])
奈良県からスタート! 北海道から九州まで全国で増加中の「カブの駅」 突然ですが、皆さん、『カブの駅』ってご存知ですか?現在、1200カ所以上登録されている『道の駅』はツーリングの集合場所や休憩スポット[…]
X-ADVの兄弟車として欧州で販売される「フォルツァ750」 ホンダは欧州でフォルツァ750(FORZA 750)の2026年モデルを発表した。主要諸元に変更はなくカラーバリエーションの一部変更でイリ[…]
ライダー本人のサイン入り限定ヘルメットも附属 ホンダUKが発表した「CBR1000RR-RファイアーブレードSP ディーン・ハリソン レプリカ」は、2025年のマン島TT・スーパーストッククラスでディ[…]
2025年3月の東京モーターサイクルショー以降、何かと話題のCB1000F!! いよいよかと色んな噂が飛び交っているなか、某日、各パーツメーカーのカスタマイズコンセプトがひっそり発表されました。カスタ[…]
Honda純正オイルは新ブランド「Pro Honda」へ Hondaのバイクのエンジン性能を100%発揮させる純正オイルが、2025年4月より新ブランド「Pro Honda(プロホンダ)」として生まれ[…]
人気記事ランキング(全体)
念願のWYVERNシリーズ最新作の登場だ! ついに復活を遂げて、新発売となったSHOEI「ワイバーンØ」。歴代ワイバーンシリーズを愛用してきた筆者としては、どんな進化を遂げたのが期待しかない。そこで、[…]
コンパクトで取り付けが簡単なスマートモニター タナックス(TANAX)の「スマートライドモニター AIO‑5 Play (SRS‑015)」は、本体サイズ78.8(H)×136.2(W)×26.8(D[…]
様々な日本の峠を網羅! ワインディングロードを抜け、視界いっぱいに広がる紅葉の絶景を走り抜ける。そんな瞬間こそ、秋のツーリングの醍醐味のひとつではないでしょうか。 ここで紹介する書籍「全国2954峠を[…]
ライダー本人のサイン入り限定ヘルメットも附属 ホンダUKが発表した「CBR1000RR-RファイアーブレードSP ディーン・ハリソン レプリカ」は、2025年のマン島TT・スーパーストッククラスでディ[…]
1,000ドルを謳い文句に全米で大ヒット! カワサキは1972年のZ1以来、Z650RSにZ750TWINと念願だったビッグバイクの領域で世界のリーダーへと君臨することに成功。 またそのいっぽうで、ホ[…]
最新の投稿記事(全体)
「MOUNT SYSTEM Second」 10月22日(水)発売 「MOUNT SYSTEM Second」は、力強さと美しさを両立させた新デザインの「model 01 ETHEREAL[…]
奈良県からスタート! 北海道から九州まで全国で増加中の「カブの駅」 突然ですが、皆さん、『カブの駅』ってご存知ですか?現在、1200カ所以上登録されている『道の駅』はツーリングの集合場所や休憩スポット[…]
8月後半から9月末の日本GP、10月の全日本へ怒涛のレースシーズン アッという間に10月も半ばが過ぎてしまいました。全日本ロードレース選手権を中心に取材活動をしているボクにとっては、8月23日・24日[…]
過激な初代からフレンドリーな後継モデルへ カワサキのビッグバイクと言えば、優れた資質を備える初期型をベースにして、2代目以降で徐々に動力性能を高めていくのが通例だ。だがマッハシリーズの場合は、初期型が[…]
ヤマハ・ハンドリングのこだわりを400レプリカ路線へ融合! 1980年にRZ250をリリース、レプリカの時代に先鞭をつけたヤマハも、4ストのスポーツバイクXJ400系ではツーリングユースを前提とした、[…]
- 1
- 2







![HONDA X-ADV 3W [IMAGE CG]/YAMAHA 3CT](https://young-machine.com/main/wp-content/uploads/2019/02/img00-11.jpg)







































