記事へ戻る

[画像 No.10/10]ビモータが新プロジェクト!! 謎のリンケージ写真をSNSで公開

2022/01/14
カワサキの公開特許図|ビモータが新プロジェクト!! 謎のリンケージ写真をSNSで公開
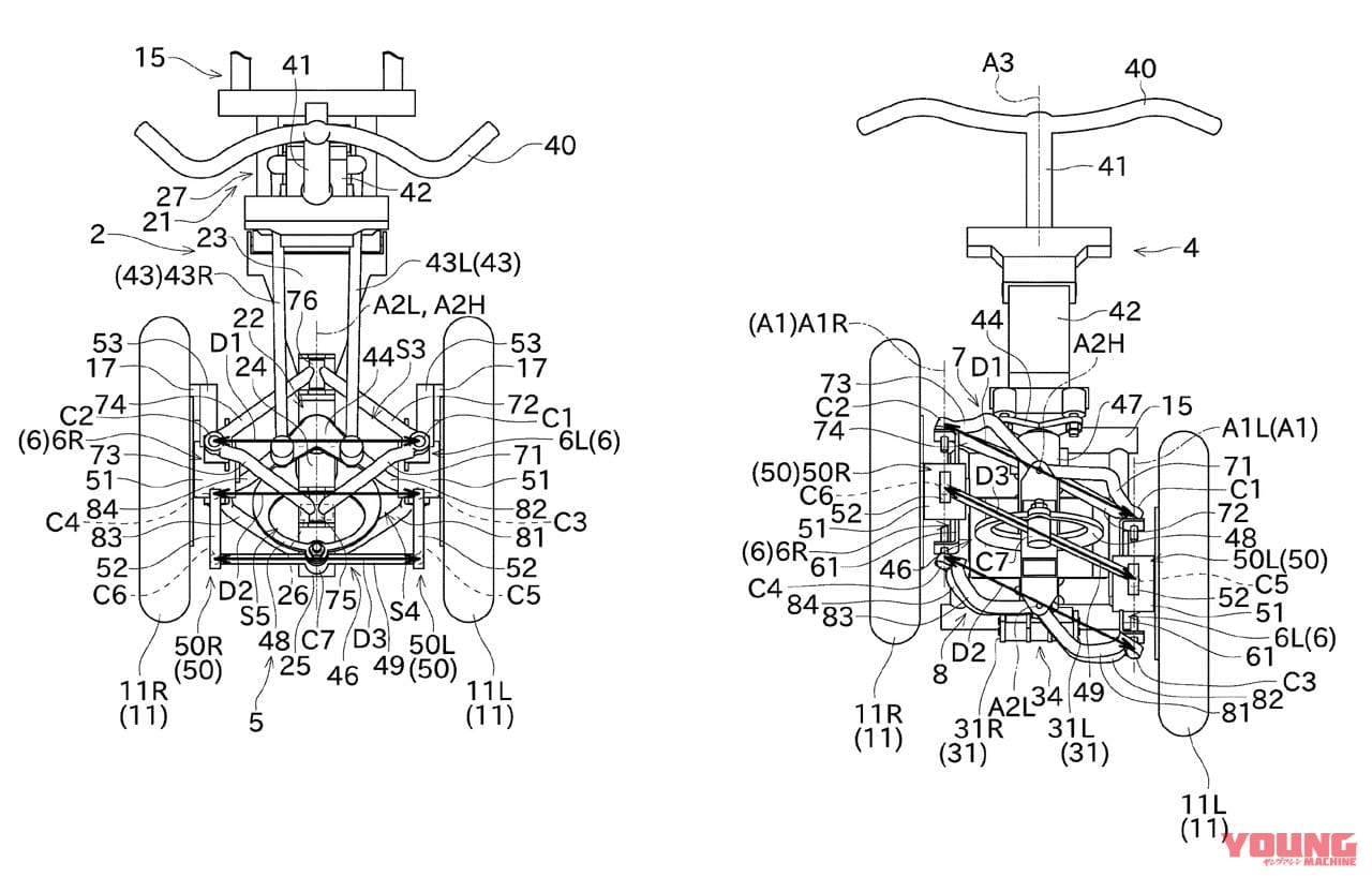
左はフロントまわりを俯瞰した図で、ダブルウィッシュボーンのようなアームが確認できる。右は正面から見た図で、左右のホイールが互い違いに上下する様子がわかる。連結リンクは常に平行を保っている。
ビモータは、新年最初のSNS投稿で『New year……new project!』と題した一葉の写真を公開した。そこに映し出されていたのは、なんらかの平行リンク的な機構と思われる部分のアップで、よく見ると細かいところまで削り出しで製作してあるものだとわかる。 光の加減から、車体の低い位置にあるパーツのようにも思えるが、フロントのダブルウィッシュボーンだとすればステアリング軸が足りないし、かといって […]
003-9