環境規制の端境期にあり、世代交代の節目を迎えているバイク。ラインナップに大変動が起きるのは必定だ。そこでヤングマシン創刊48年の知恵とカンをベースに、願望&妄想も織り交ぜながら、バイク未来予想を導き出してみた。本ページではホンダCRF1100Lアフリカツインに搭載される並列2気筒エンジンを使った展開について、レブル1100/CRF1100X/GB1100TTを例に予想する。
DCTも選べる最新ツイン。’21年よりフル活用の動き
’20年、ホンダCRF1000Lアフリカツインが1100に生まれ変わった。搭載される270度クランクの1082cc並列2気筒は、1000時代を含めてアフリカツイン専用で、現時点では他車に展開されていない。これは実にモッタイナイ話だ。軽量コンパクトな上に、抜群のトラクション性能とパルス感を有し、電子制御スロットルや6軸IMUなどの電脳も豊富。おまけにセミオートマチックのDCT版も用意され、’20年にユーロ5までクリアしているのだ。
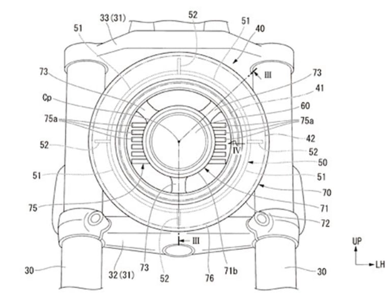
ホンダとしてもこのエンジンを活用すべく動いている模様で、派生モデル向けらしき多彩な特許が出願済み。図面には様々なフレームが描かれるが、いずれもアフリカツインの心臓を搭載しているのだ。
この特許から予想されるのが「前後17インチを履くオンロード指向のアフリカツイン」「ネイキッド」「クルーザー」の3タイプ。専用フレームとすることで、全く異なるジャンルの派生モデルを造り上げることが可能だろう。中でもクルーザーの「レブル1100」は有望で、最も登場が早いと予想する。
【ベース:’20 CRF1100Lアフリカツイン シリーズ】F21&R18インチスポークホイールを履き、オフにも強い。ユニカム4バルブのパラツインは2kg以上の軽量化も達成。
■水冷4スト並列2気筒 1082cc 102ps 10.7kg-m 226~ 250kg(装備) ●税込価格:161万7000円~205万7000円
ホンダ レブル1100/DCT:人気のレブルシリーズに親玉登場なるか
’18年の発売以来、国内でベストセラーを記録しているレブル250。その親玉がアフリカツインの心臓でデビューするだろう。レブルの象徴であるくさび型フォルムは、専用クレードルフレームで実現。エンジンがコンパクトなため、さほど大柄にはならず気楽に流せるだろう。DCTによる途切れない加速も他車にはない魅力だ。人気のレブルだけに派生機としては最優先され、’20年秋にも発表されると予想!
HONDA Rebel1100/DCT[予想イメージCG]
プロジェクターとイカリングを用いたLEDヘッドライトの特許では図面にレブルが描かれる。レブル用らしき上下2段の可動式液晶メーターに関する特許も。
【ファミリー: ’20 レブル500】共通フレームに、250は単気筒、500は並列ツインを搭載。日常の足として小回りが利き、抜け感のあるシンプルな外観もイイ。
■水冷4スト並列2気筒 471cc 46ps 4.4kg-m 190kg(装備) ●税込価格:79万9700円
あなたにおすすめの関連記事
軽量パワフルな上に、汎用性の高い車体構成を持つホンダの直4ネイキッド=CB1000Rは、本特集で既に取り上げた「CB988F」だけに留まらず、多彩なジャンルのプラットフォーム展開に最適とヤングマシンで[…]
Z1/2をモチーフとしたZ900RSの大ヒットを契機に、'19年にはカタナがリバイバルを果たした。これに続くのは、ホンダが今春発表したCB-Fコンセプトの市販版「CB998F」(本誌命名)と予測される[…]
メガスポーツやドラッガー系の持ち味である豪快なビッグトルクは、実に魅力的だ。しかし個性を堅持しつつ、強化される規制をクリアするには対策が必要。それが「大排気量化」と「過給機」だ。まず前者は、昔ながらの[…]
CBR1000RR-Rに続いて、ホンダCBR600RRがビッグチェンジを受けて復活! とヤングマシンでは予想する。CBR600RRは、日本や欧州ではユーロ4に対応せず、'16年型で終了。しかしアジアを[…]
持てる技術を注ぎ込んだ直4の集大成=CBR1000RR-Rをリリースしたばかりのホンダ。次に着手するのは究極のV4スーパースポーツ=「RVF1000R」と予想したい。 ヤングマシン本誌が以前から提唱し[…]






























