
●外部リンク: bimota
ビモータは、新年最初のSNS投稿で『New year……new project!』と題した一葉の写真を公開した。そこに映し出されていたのは、なんらかの平行リンク的な機構と思われる部分のアップで、よく見ると細かいところまで削り出しで製作してあるものだとわかる。
光の加減から、車体の低い位置にあるパーツのようにも思えるが、フロントのダブルウィッシュボーンだとすればステアリング軸が足りないし、かといってリヤのスイングアームとも思えない。
といったところで思い出されるのは、WEBヤングマシンで2020年3月に公開した『カワサキ設計のビモータモデルが存在した!? ハブステア特許図をキャッチ→真の狙いは3輪か』という記事だ。
写真の平行リンクの脇にはブレーキディスクのようなものが見え、2年前の記事の「リンクを介してほぼ平行に上下する片持ちアーム」というフロントまわりの機構に合致している部分もあるように見受けられる。
ただ、この片持ちアームの特許はカワサキが2018年に出願したもので、ビモータの設計によるものではなかったはずだ。それをビモータが2022年に「ニュープロジェクト」としてチラ見せしたりするものだろうか……。さらに、よく見れば形状も完全に一致しているとは言い難く、謎は深まるばかりだ。
いずれにせよ、ビモータが車体における何らかの新機構にトライすることはほぼ間違いない。まさかの3輪、しかもカワサキと共同開発の車体なんてことも? もしそうなら、かなりのトピックになりそうだ。
あまりにも情報が少ないため妄想の域を出ないのが残念ではあるが、KB4が国内カワサキプラザ店で買えるようになるなど、日本においても存在感を強めているビモータである。次なる一手では、どのようなサプライズを用意してくれるのだろうか。
以下は2020年3月6日公開の記事より抜粋
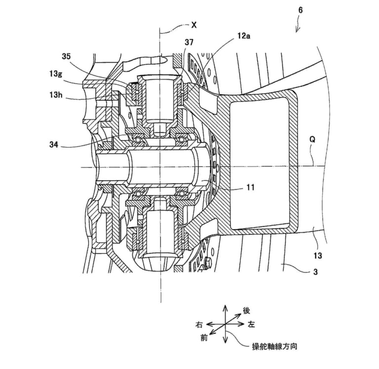
特許の狙いはズバリ「生産コストの低減を図り易い鞍乗車両を提供する。」とあるが、ざっくり言うとテージH2のフロントサスペンションが両持ちスイングアームなのに対し、こちらはリンクを介してほぼ平行に上下する片持ちアーム。また、リヤのスイングアームも片持ちに見える。詳細は図版を見てほしいが、小難しいので前半は読み飛ばし可である。
フロントアームを平行する2本のリンクで支持し、ショックアブソーバーに対してはリンクロッドで荷重を伝達。操舵機構はハンドル下のステアリング軸からリンクを介してハブステアへと連結されている。メインフレームは持たない構造のようだ。ストロークによるホイールベースの変化量は少ない方向か。
こちらはパイプフレーム版。ニンジャH2にハブステア機構を持たせたような構成に見える。フロント用のショックアブソーバーが横向き配置になっているのが見て取れる。図の116と117は分かれているように見えるが、溶接またはボルト留めによって締結されるという。
ハブステアリング機構。アーム前端に支持部が取り付けられており、縦軸が操舵軸。これの傾きがキャスター角となる。
支持アームと2対のリンク機構。アームはスイングせず、リンクによってほぼ平行に上下するようだ。
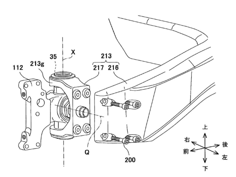
ハブステア部分はボルトオン機構も検討している模様。213gと書かれた部品を交換することでキャスター角の設定が容易になる。これがコストダウンにも貢献するようだ。
2019年末公開の特許図には前2輪/後1輪の3輪バイクの姿が!
ハブステアの特許には注目したい記述があったのでピックアップしてみよう。
まずひとつめは、「本発明は、上記実施形態に限定されるものではなく、本発明の趣旨を逸脱しない範囲で、その構成を変更、追加、又は削除できる。操舵輪は、前輪に限定されない。また鞍乗車両は、三輪自動車又は四輪自動車でもよい。駆動源は、エンジンのほか、走行用の電動モータでもよいし、走行用のエンジンと走行用の電動モータとの両方を備えるものでもよい。」という部分。
つまり、これが3輪または4輪の可能性もあるということだ。フロントのアームは左右両側に配置もOKとの記述もあり、また操舵輪は前輪に限定されないとのことで、4WSのような機構も想定しているのだろう。また、動力源はエンジンだけでなく電動モーターおよびハイブリッドの可能性もある。
もうひとつは「また、ハンドルは回動せず、例えば、ハンドルのグリップに設けられたスイッチにより操舵輪を操舵させてもよい。また操舵機構の操舵経路は、適宜設定可能である。また、第1実施形態では、操舵機構22はステアリング部材40、リンクユニット41、及びステアリングステム42により前輪3を操舵する例を示したが、操舵機構はアクチュエータにより前輪を操舵する構成を有していてもよい。また一対の支持用リンク部材14,15は必須ではなく、省略してもよい。」というもの。
ハンドル操作と操舵が直結している必要はなく、電子制御や別のリンク機構なども想定している。これらが意味するところとは……。
ようするにコレだろうか。
2013年の東京モーターショーで発表されたコンセプトモデル「J」は、2017年の東京モーターショーでそのコンセプトが再び語られている。詳細は関連記事にて。
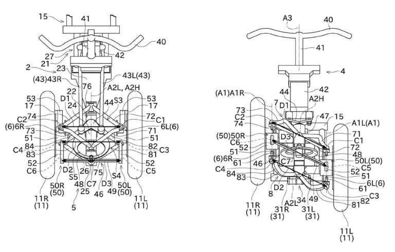
……と、思ったところで、2019年12月19日公開の特許図の存在が浮かび上がってきた。こちらのテーマは「リーン及び旋回を簡素な構造で実現できる鞍乗り型車両を提供する。」となっており、ざっくり言えばヤマハにおけるLMWのような前2輪のバイクの車両について特許が出願されているのだ(構造は独自のもの)。
前述のアームをセンターに配置して左右のフロントホイールを支持する構造。ショックアブソーバーの取り付け位置やステアリングリンクの配置は異なるが、基本的な考え方は前述のものとだいたい同じと思っていい。リヤは簡素な両持ちアームの1輪だが、これは今回の特許に関係ない部分ゆえに省略されているだけだろう。
そしてこれをよく見てみると、記事前半で紹介したフロントのアームと、リンクの構造などがそっくりなのである。ヤマハ以外のメーカーも「傾いて走る3輪または4輪」を研究していることは過去のスクープ記事などで明らかになっているが、カワサキもついにその研究車両の姿が見えてきたといっていいかもしれない。
これはあくまでもフロントまわりの特許なので、4輪の「J」のような車両が世に出る可能性ももちろんある。そう遠くない未来に期待してますよ、カワサキさん!
左右のホイールを連結するダブルウィッシュボーンのような構造は、左右ホイールを互い違いに上下させるためのもの。左の図を見ると支持アームがセンターにあって、その前端に左右ホイールを連結するリンクが生えているのがわかる。右の図はステアリングの動きを表現したものだ。
左はフロントまわりを俯瞰した図で、ダブルウィッシュボーンのようなアームが確認できる。右は正面から見た図で、左右のホイールが互い違いに上下する様子がわかる。連結リンクは常に平行を保っている。
※本内容は記事公開日時点のものであり、将来にわたってその真正性を保証するものでないこと、公開後の時間経過等に伴って内容に不備が生じる可能性があることをご了承ください。※掲載されている製品等について、当サイトがその品質等を十全に保証するものではありません。よって、その購入/利用にあたっては自己責任にてお願いします。※特別な表記がないかぎり、価格情報は税込です。
あなたにおすすめの関連記事
プラザ店49店舗+モトコルセで販売、まずは200台のKB4のみでスタート ビモータがついにプラザ店で買える! 2019年のEICMAでビモータの復活が宣言されてから、それを支援したカワサキは自社のディ[…]
カワサキのエンジンを“ビンテージスピリット”のデザインに包み込む ビモータはEICMA 2021で、2年前に登場を予告していたレトロルックのカフェスポーツ「KB4」と、そのネイキッド版である「KB4 […]
TESI H2のハブセンターステアリングって、いったいナニがどう凄いのか? 世界中のバイクエンスージャストを魅了するイタリアのビモータ。その数ある名車の中でも、TESIシリーズはハブセンターステアリン[…]
カワサキとの新たなパートナーシップにより再生を果たすイタリアの名門・ビモータ。カワサキ製スーパーチャージドH2エンジンを搭載する新型「テージH2」開発のために、かつての名車「テージ1D」の開発者である[…]
電動化やハイブリッド、さらには水素燃料への対応も……! 川崎重工は2021年6月1日、新会社「カワサキモータース株式会社」を2021年10月1日に発足させることを発表した。これは2020年11月に明ら[…]
最新の記事
- 【防寒】ムレや汗冷えから解放! ワークマン「サーキュレーター」シリーズが2900円~で販売中
- 【新車試乗】ホンダ(HONDA)CRF250ラリーは「遊び倒したくなるツーリングマシン」
- 【新型外車】トライアンフ(Triumph) TIGER SPORT 800 TOUR登場! 106L積載の最強”旅”ミドルツアラー
- ミニモトにハーレー、BMWも!! 台湾モーターサイクルショーのカスタムシーンが熱い!
- 【防寒】冬バイクの天敵「蒸れ」と「冷え」を解消! ワークマンの新作メリノウール100シリーズに注目
- 1
- 2



































