
ホンダは、2023年にスーパーカブなどで利用できる特許を出願し、2025年3月に登録&公開された。自動遠心クラッチとフットブレーキを組み合わせた車両ならではの機構で、ブレーキペダルひとつでパーキングブレーキを兼ねる構造だ。※この情報は公開特許に基づいていますが、本田技研工業や販売店への問い合わせはご遠慮ください
●文:ヤングマシン編集部(ヨ)
誤操作が少なくシンプルな構造で実現するという
もう何十年も前から完成形に至っているような印象を受けるホンダ「スーパーカブ」シリーズだが、ホンダは今も改良の手を緩めているわけではない──。そんな気概を感じさせる特許情報が登録&公開されていた。
はじめにお断りしておくと、けっこう地味な部分の特許ではある。しかし、こうした開発の積み重ねが、累計生産台数1億台を超える名車を、現代においてもある意味でフラッグシップモデルたらしめているのだ。
この特許は、駐車時に使うパーキングブレーキの操作を簡単にする工夫がなされているというもの。自動遠心クラッチを採用するスーパーカブやスクーターなどは、ギヤを入れても(スクーターはそもそも入らないが)坂道などで動き出してしまい、サイドスタンドが外れて転倒する恐れがある。そのため駐車用にブレーキがかかりっぱなしになる機構を採用(もしくはセンタースタンドを採用)することが多いが、走行用のブレーキレバーと離れたところに専用レバーあるいはロック機構を設けるなどしていて、誤操作の恐れは少ないものの操作にひと手間必要だったのも確か。
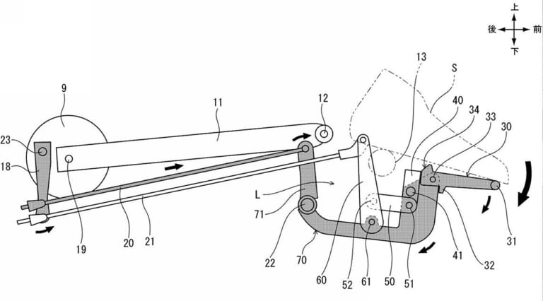
これを解決すべく、新特許ではブレーキペダルをかき上げることでリヤブレーキをロックする機構を採用している。
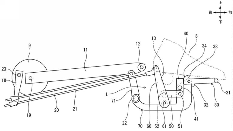
特許図にはスーパーカブPROと思われる車両を使用。
ブレーキペダルは、通常は踏むことでリヤブレーキを操作するが、駐車後にこれをかき上げることで独自のリンク機構が働き、山型のカムでブレーキロッドを引いた状態のまま固定することより、パーキングブレーキとしての役割を兼ねることになる。
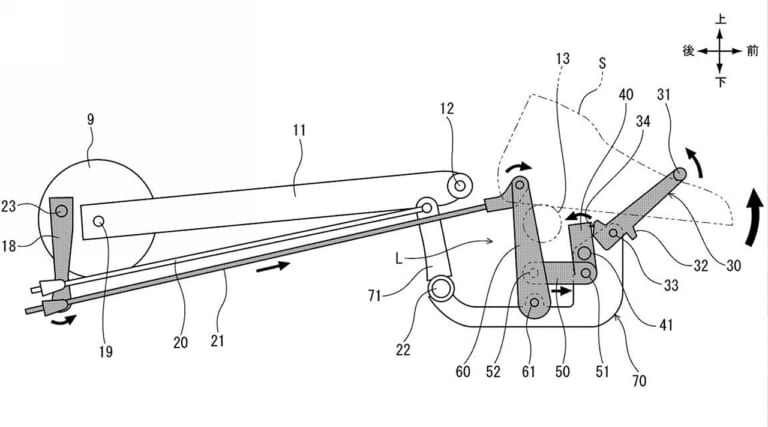
さらに、パーキングブレーキを解除するにはペダルを踏むだけという簡単さ。リヤブレーキを大きくかき上げる操作というのは通常走行での扱いからかなりかけ離れていて、誤操作の心配も少なそうだ。また、特許の説明によれば部品点数の増加も最小限で、コンパクトな設計が可能だという。
こうした特許の機構は、実際に製品に採用されることもあれば、そのまま消えていくこともあるので、今後市販に結び付くのかはなんとも言えないが、新聞配達など頻繁なストップ&ゴーをさまざまな路面状況で行う使い方においては、歓迎するユーザーも少なくないのでは。
ドラムブレーキのレバーを引くためのロッドが2本あるのが特徴だ。
※掲載内容は公開日時点のものであり、将来にわたってその真正性を保証するものでないこと、公開後の時間経過等に伴って内容に不備が生じる可能性があることをご了承ください。
最新の関連記事(メカニズム/テクノロジー)
水素燃焼エンジンとは? ヤマハ発動機がJMS2025で世界初公開した「H2 Buddy Porter Concept(エイチツー バディ ポーター コンセプト)」は、気体水素を燃焼して走行する水素エン[…]
エンジニアもバイクに乗る、それがボッシュの面白さ ボッシュが二輪車向けABSを世に出してから今年で30周年を迎えた。ボッシュといえばドイツのメーカーだが、バイク部門の開発拠点が日本の横浜にあることはご[…]
夏場は100℃超えも珍しくないけれど… いまやバイクのエンジンは“水冷”が主流。安定した冷却性能によってエンジンパワーを確実に引き出すだけでなく、排出ガス/燃費/静粛性の面でも水冷の方が空冷より有利な[…]
LEDのメリット「長寿命、省電力、コンパクト化が可能」 バイクやクルマといったモビリティに限らず、家庭で利用する照明器具や信号機といった身近な電気製品まで、光を発する機能部分にはLEDを使うのが当たり[…]
ケーヒン/ショーワ/ニッシン/日立を統合した“日立Astemo(アステモ)”が4月より“Astemo”へ 自動車業界で「100年に一度」と言われる変革期を迎えるなか、キャブレターや電子制御スロットル、[…]
最新の関連記事(ホンダ [HONDA] | ニュース&トピックス)
奈良県からスタート! 北海道から九州まで全国で増加中の「カブの駅」 突然ですが、皆さん、『カブの駅』ってご存知ですか?現在、1200カ所以上登録されている『道の駅』はツーリングの集合場所や休憩スポット[…]
新型CBは直4サウンドを響かせ復活へ! ティーザー画像から判明したTFTメーターとEクラッチ搭載の可能性 ホンダは中国がSNS『微博』にて、新たなネオクラシックネイキッドのティーザー画像を公開したのは[…]
世界初公開のプロトタイプ&コンセプトモデルも登場予定! ホンダが公式素材として配布した写真はモーターサイクルショー展示車および鈴鹿8耐時点のもの、つまりミラー未装着の車両だが、JMS展示車はミラー付き[…]
Dio110/ベーシック新車購入でトップボックスがもらえる! ホンダは、通勤や通学の強い味方であるDio110とDio110ベーシックの新車を購入したライダーを対象に、超太っ腹なプレゼントキャンペーン[…]
1位:フルカウルスポーツ「CBR500R FOUR」登場 CB500SFと同時に、重慶モーターサイクルショーではフルカウルスポーツの「CBR500R FOUR」も世界初公開された。こちらも新設計の50[…]
人気記事ランキング(全体)
火の玉「SE」と「ブラックボールエディション」、ビキニカウルの「カフェ」が登場 ジャパンモビリティショー2025でカワサキが新型「Z900RS」シリーズを世界初公開した。主軸となる変更はエンジンまわり[…]
KATANAというバイク 一昨年のこと、キリンと同じ年齢になったことをキッカケにKATANA乗りになったYです。 ノーマルでも十分乗り易いKATANAですが、各部をカスタムすることで、よりカタナ(GS[…]
外観をスタイリッシュにリニューアルしたトリシティ125 前回のトリシティ300に続き、今回試乗を行うのも前2輪を持つLMWシリーズのトリシティ125。ちなみにLMWとは、リーニング・マルチ・ホイールの[…]
グランプリレースの黄金時代が甦る! 1970年代~80年代にかけて伝説的なアメリカンライダーのケニー・ロバーツ氏が走らせたYZR500は、イエローのストロボライン(ヤマハは現在スピードブロックと呼称)[…]
最新の投稿記事(全体)
入れないとどうなる?フロントフォークのオイル はいどうも、みなさんこんにちは。本日は愛車DT50のフロントフォーク定期メンテナンスをやっております。 トップのキャップボルトを外してカラーを取り出して、[…]
水素燃焼エンジンとは? ヤマハ発動機がJMS2025で世界初公開した「H2 Buddy Porter Concept(エイチツー バディ ポーター コンセプト)」は、気体水素を燃焼して走行する水素エン[…]
電動車ならではのレイアウトの自由度の高さを活かした新設計の二輪駆動EVバイク「EV OUTLIER Concept」世界初公開 10月30日(木)から11月9日(金)まで東京ビッグサイトにて開催されて[…]
JMS2025のダンロップブースに出現 世界中で人気のアドベンチャーバイクだが、地域によって走行シチュエーションは異なり、日本国内ではほとんどオンロード専用ツアラーのように振る舞っているのに対し、欧米[…]
グランプリレースの黄金時代が甦る! 1970年代~80年代にかけて伝説的なアメリカンライダーのケニー・ロバーツ氏が走らせたYZR500は、イエローのストロボライン(ヤマハは現在スピードブロックと呼称)[…]
- 1
- 2










































 
   
   
   
   
   
  