記事へ戻る

[画像 No.9/18]スズキの電動「eチョイノリ」は予備バッテリー搭載で走行距離倍増?! 開発進行中と思われる特許情報をキャッチ!

2024/05/10
|スズキの電動「eチョイノリ」は予備バッテリー搭載で走行距離倍増?! 開発進行中と思われる特許情報をキャッチ!
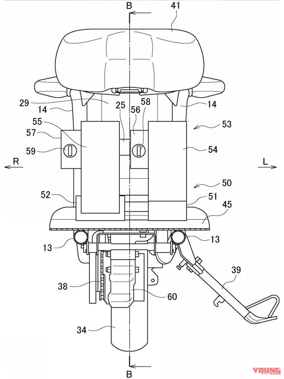
バッテリーを前方から見た図版。左右に1個ずつ並び、取り外しの方向が示されている。
スズキの「eチョイノリ(e-choinori)」と思われる車両に関する特許が4月~5月にかけて登録・発行された。この特許では、バッテリー1個を搭載していたジャパンモビリティショー2023参考出品車に対し、サブバッテリーを含む2個が搭載可能になっている。 目次 1 ちょい乗りするだけですから、というコンセプト2 バッテリーが増設できるならありがたいわけで3 公開されたeチョイノリの特許図4 JMSで […]