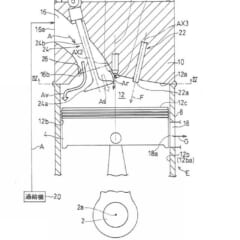
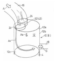
ピストン上面の形状も工夫されているようで、吸気ポート側の壁面に重点的に新気を取り入れることで効率的な掃気を実現。また、直噴用インジェクターは吸気バルブと対になるような位置(4ストにおける排気バルブのあたり)に配置されている。
カワサキの「2ストロークエンジン」なる特許が7月8日に公開された。図版を一見すると4ストロークエンジンのようなバルブが片側だけ見えるが、これで2ストロークなのだという。一体どういうことなのだろうか。スクープ未満の妄想も含む記事にはなるが、なるべく頑張って考察してみたい。 目次 1 弁方式がSOHC2バルブの2ストローク……だと??2 もしかして2ストオイル不要か……! 弁方式がSOHC2バルブの2 […]





































