
カワサキの「補助ブレーキを備えた鞍乗型車両」なる特許が今年1月に公開されている。普通バイクはエンジンブレーキまたはリヤブレーキで後輪を減速するが、これにもうひとつの選択肢を用意しようということらしい。駆動軸からドライブチェーンなどを介して減速力を伝えるという意味では、電磁式エンジンブレーキと言えなくもない……?
●文:ヤングマシン編集部(ヨ)
エンジンの出力軸に作用する補助ブレーキで、車体姿勢の乱れを抑制する
走行中のバイクを減速する手段は大まかに言ってホイールに作用する前輪ブレーキと後輪ブレーキ、そしてエンジンの回転抵抗を用いて後輪に作用するエンジンブレーキの3つだ。大きな制動力を生む前輪ブレーキ、車体を安定させる後輪ブレーキ、そしてクルージング時などのゆるやかな速度コントロールに向くエンジンブレーキ(レースなどでは後輪を可能な限りロックさせずに減速する手段のひとつとしても使われる)である。
ほとんどのライダーはこれらを使い分けながら減速を行うが、ライディングにおいてもっとも難しい場面と言われる『減速~ターンイン』の一連の流れにおいて、ブレーキリリースのタイミングで悩むライダーは少なくない。
最もテクニックの差が出るのがブレーキング~ターンインの場面。マシン開発も、この部分の挙動を安定させることに心血が注がれるという。写真はスーパーバイク世界選手権を走るカワサキのエースライダー、ジョナサン・レイ選手。
街中の一般的な速度域であれば、ブレーキのかけはじめは難しくない。アクセルを戻してエンジンブレーキを発生させ、リヤブレーキ~フロントブレーキの順に入力して減速していく。しかし、そこから例えば交差点を曲がる際などであっても、車体の挙動をまったく乱さずにブレーキレバー/ペダルをリリースしていくのは、簡単なことではない。
これがスポーティな走行になれば、前後ブレーキの扱いがさらに難しくなっていくのは、数々のライディングテクニック記事などでもおなじみだろう。コーナーの入り口においてフロント荷重を逃さず倒し込みに移行していく場面は神経を使う。特に、フロントブレーキを一気にリリースしてしまうとフロントフォークが伸び上がり、フロント荷重が不十分になる。
そんなときの挙動変化を抑制しようというのが、この出願特許による補助ブレーキだ。
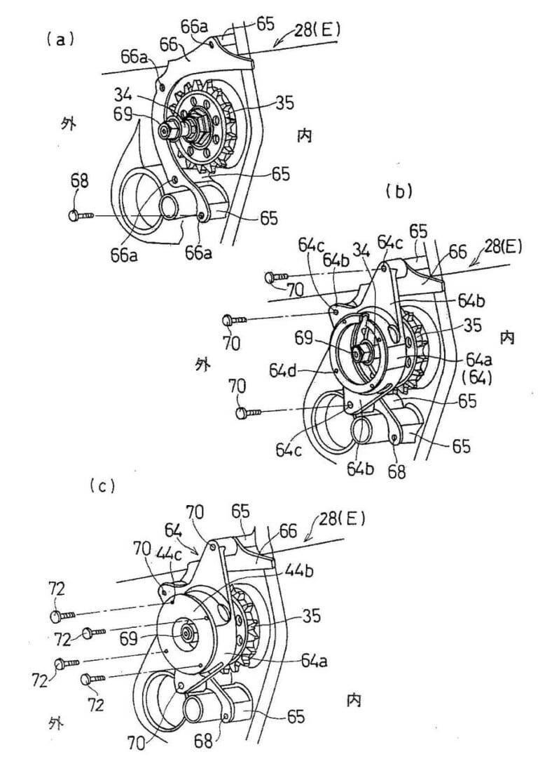
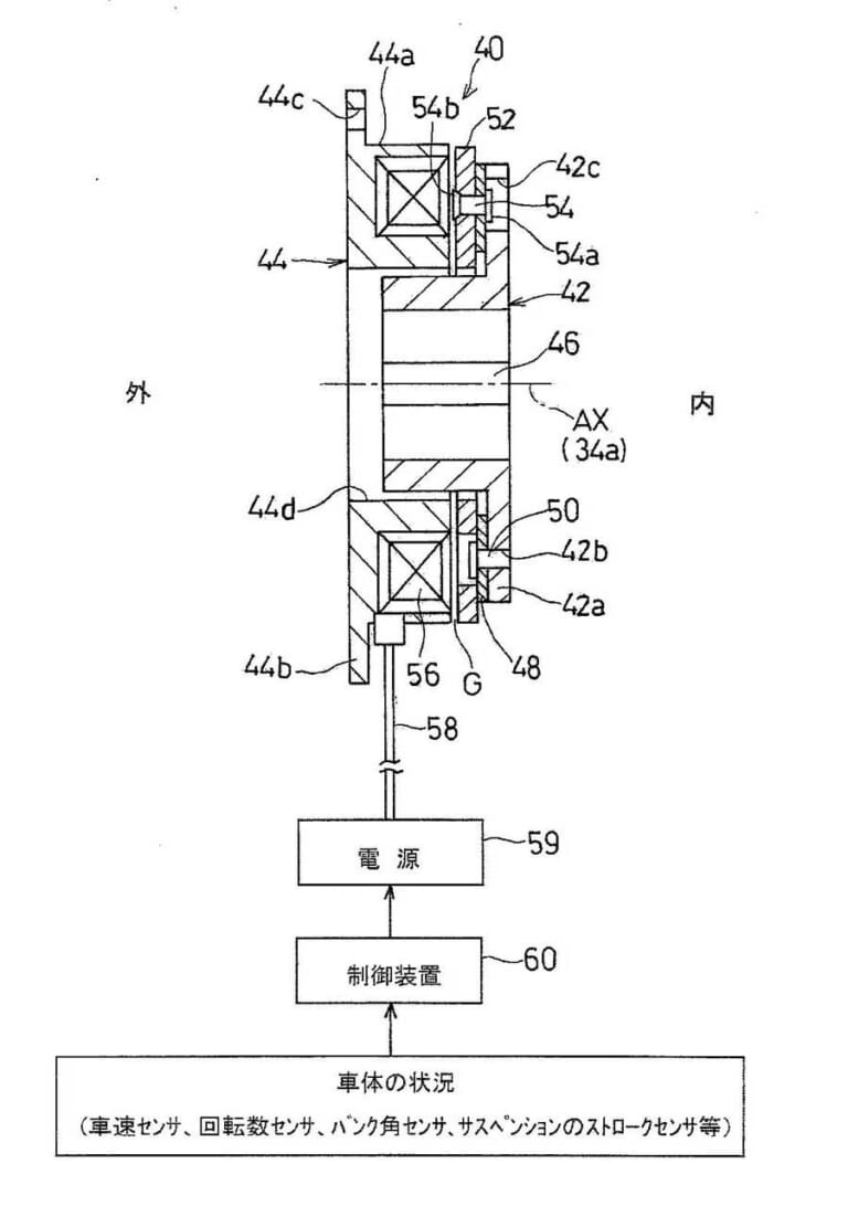
構造は意外とシンプルで、既存のエンジンに追加で搭載することもできるこの“補助ブレーキ”は、電気を流すと制動力が発生する電磁ブレーキを基本に考えられているもの(逆に電流が止まると制動力が発生するタイプなども考慮はされている模様)で、ドライブ軸と同軸にマウントすることでドライブ軸そのものを減速する。
この補助ブレーキは、ホイールを減速する前後ブレーキに対しフロントフォークやスイングアームに与える影響が小さく(ここはエンジンブレーキと同様)、かつ電子制御らしく一定の挙動が発生したときに自動的に作動することで、ライダーが感じる“フィーリング低減を抑制”するのだという。わかりやすく言えば、挙動がとっちらからないとか、フロント荷重をなるべく逃がさないように作動する、ということだろう。
ドライブ軸に制動力を働かせるという意味ではエンジンブレーキと似た部分もあるかもしれないが、エンジンブレーキは回転の上下や選択したギヤによって減速成分が変化するし、また減速中のシフトダウン操作によっても荷重の変化が起こる。ゆえに、この“補助ブレーキ”のほうが挙動を安定させるのにより有効と言えそうである。
とはいうものの、おそらくライダーが補助ブレーキの作動を如実に感じることはないだろう。というか、一部の敏感なライダーしか作動に気付かないかもしれない。補助ブレーキは文字通り“補助”を目的としており、あくまでもコントロールユニットが必要と判断したときにのみ、“安定性を逃さないために作動”するからだ。作動条件はサスペンションのストロークセンサーやバンク角センサー、車速センサー、回転センサー(おそらくエンジンの)によって決定されるという。
これ、テンアールじゃないのさ。
ちなみに、カワサキの特許出願図にはニンジャZX-10Rと思われるマシンの図版が使われていることから、補助ブレーキは街中などの走行よりもスポーツ走行やレースをターゲットにしたものと思われる。となれば、MotoGPにおいてドゥカティがエンジンブレーキの制御でアドバンテージを得ていると言われているが、もしかしたらカワサキはスーパーバイク世界選手権においてこの補助ブレーキを武器にしていくのだろうか。ドライブ軸におけるマイナス方向の駆動力をコントロールしようという点では、エンジンブレーキの電子制御と似た効果が生まれるに違いない。
カワサキが実際に市販車に補助ブレーキを採用する日は来るのか、それとも様々あるアイデアのひとつとして検討されたにすぎないのか。いつの日かの答え合わせに期待したい。
※本記事の文責は当該執筆者(もしくはメディア)に属します。※掲載内容は公開日時点のものであり、将来にわたってその真正性を保証するものでないこと、公開後の時間経過等に伴って内容に不備が生じる可能性があることをご了承ください。
あなたにおすすめの関連記事
オートクラッチ操作とマニュアル操作を自在に切替可能? 2021年6月にお伝えした『クラッチもバイワイヤ! ホンダの新たな特許、指1本で軽々操作できる……だけじゃない?!』という記事を覚えている方はいら[…]
2022年8月には新世代GSX-R1000と思われるエンジンの特許情報が公開され…… スズキは国内の公式HPで、リッタースーパースポーツ「GSX-R1000R」および軽二輪スクーター「バーグマン200[…]
開発したのはスズキ育ちのエンジニア 内燃エンジンを搭載したドローンこそが未来を切り拓くのか? そう思わずにはいられない無人航空機が公開される! 同社は2021年10月には先行開発機の「AZ-500」を[…]
動力伝達を切断することなく変速できるシームトランスレスミッション コンマ1秒のラップタイムを競うレースの世界では、昔から無駄のないシフトワークがライダーに必要なスキルとされてきた。できるだけ素早くシフ[…]
車体姿勢の制御に不可欠な“忠実なレスポンス”を具現化する “ユーロ5”や“令和2年排出ガス規制”といった文言を見かける機会がずいぶん増えてきた。今後ますます厳しくなっている一方の環境規制と大型バイクら[…]
最新の関連記事(カワサキ [KAWASAKI])
諦めずひとり粘ったカワサキだけが獲得したZZRカテゴリー! カワサキは1980年代、いわゆるレーサーレプリカをスポーツバイクの頂点とはせず、あくまでスーパースポーツが最高峰に位置する製品をラインナップ[…]
1位:カワサキの2ストが復活確定!! カワサキUSAがSNSで2ストロークの復活を宣言し、業界に激震が走った。注目すべきは公開された特許図で、吸気側のみにバルブを持つSOHC 2バルブの2ストという驚[…]
マーヴェリック号の燃料タンク右側ステッカー エンタープライズに配属された部隊 赤いツチブタは、「アードバークス」の異名を誇る米海軍「第114戦闘飛行隊(VF-114)」のパッチ。1980年代には第1作[…]
カワサキ KLR650:質実剛健を貫くビッグシングルのタフガイ カワサキの北米市場におけるロングセラー「KLR650」は、まさに質実剛健を地で行くモデルだ。心臓部には100mmという巨大なボアを持つ6[…]
36年の“時間”を感じる仕上がり カウルが紫外線で退色し、くすんだトーンだが、じつは緑青を用いたペイント。擦れて色が剥げ落ちた箇所も塗装だ。車体右側のエンジンケースカバーやサイドカバー、マフラーには転[…]
最新の関連記事(ニンジャZX-10R KRT)
大型ウイングレット装備とともに戦闘力を向上! カワサキは欧州と北米で「ニンジャZX-10R」シリーズの2026年モデルを発表。サーキットパフォーマンスと公道での実用性を両立するスーパースポーツがさらな[…]
新しい顔にウイングレットも装備! カワサキは欧州と北米で「ニンジャZX-10R」と「ニンジャZX-10RR」の新型モデルを発表した。サーキットパフォーマンスと公道での実用性を両立するスーパースポーツが[…]
一体型ウイングレット採用の最新ニンジャ カワサキは、日本国内でレースやサーキット走行に使用するための専用モデル「ニンジャZX-10R レース専用モデル」を国内で特別発売する。受注期間は2024年10月[…]
レーシングECUでアクティベートできる可変ファンネル=VAIシステムを搭載 カワサキが誇るスーパースポーツのレースホモロゲーションモデル「ニンジャZX-10RR」の2025年モデルが登場した。すでに北[…]
よりダークなブラックと、新グラフィックのKRTエディションが登場 カワサキモータースジャパンは、ニンジャZX-10R/KRTエディションの国内2025年モデルを2024年9月1日に発売する。2021年[…]
人気記事ランキング(全体)
くんかくんか……木の箱はジャパンの匂いがするぜぇ~! アッハハー! エンジンの上に蛇が巣を作ってたみたいだぞ! いや、ネズミっぽいぞ……? 41年も箱入り(動画公開時)になっていた新車のヤマハSR50[…]
125ccスクーター『LEAD125(リード125)』が華やかになりました! Hondaがラインアップする原付二種スクーターの中でも実用面においてはトップクラスの実力派が『LEAD125』だということ[…]
伝説の「OW-02」を彷彿とさせるヘリテージカラー 70周年記念カラーは、1999年に登場したレース専用ホモロゲーションモデル「YZF-R7(OW-02)」がモチーフとなっている。 白と赤を基調とした[…]
新機軸「違いの分かる男の4気筒路線」 1970年代を間近に控えた69年、バイク界に衝撃を与え、世界的な性能の基準を揺るがしたホンダCB750FOUR(フォア)。ナナハンブームの先駆けとなり、公道モデル[…]
GORILLAタンクと専用シートがついに販売開始! 2025年の7月に紹介されたGORILLA 125(ゴリラ125)が外装セットとして「8ft weekend」から販売スタート! 当時はプロトタイプ[…]
最新の投稿記事(全体)
バイクに目覚めるきっかけは「身近な存在」と「エンタメ」 この調査は2025年12月10日~16日に、バイクに興味がある20~59歳の男女420名を対象に実施された。そこでわかったのはまず、現代のライダ[…]
バイクが違えば洗い方も変わる! 車種別の洗車情報をお届けするシュアラスターの「バイク洗車図鑑」。 今回は大型クルーザーでありながらも軽量で扱いやすく、ロングツーリングにぴったりな「レブル1100」をま[…]
ヤマハ セロー250試乗レビュー この記事では、ヤマハの”二輪二足”をキーワードに誕生したマウンテントレールの元祖、セロー250の2020年モデルについて紹介するぞ。35年の歴史に幕を下ろした、最終モ[…]
125ccスクーター『LEAD125(リード125)』が華やかになりました! Hondaがラインアップする原付二種スクーターの中でも実用面においてはトップクラスの実力派が『LEAD125』だということ[…]
Screenshot 対前年比で+7.8% 250cc超の市場において前年比+7.8%という驚異的な伸びを見せ、シェアを確実に奪取。しかもこの数字、人気の電動モデル「CE 04」や「CE 02」を含ま[…]
- 1
- 2














































