
カワサキの特許出願情報が2021年9月2日に公開された。その内容は「4ストロークエンジン及びクランクケースの内部における着火防止方法」というものだが、これは内燃機関で“水素ガスを含む燃料”を使用することを想定したもの、。トヨタが水素カローラで魅せたイノベーションに続く、エンジン界の一大転機となるか!?
クランクケースを換気する……って?!
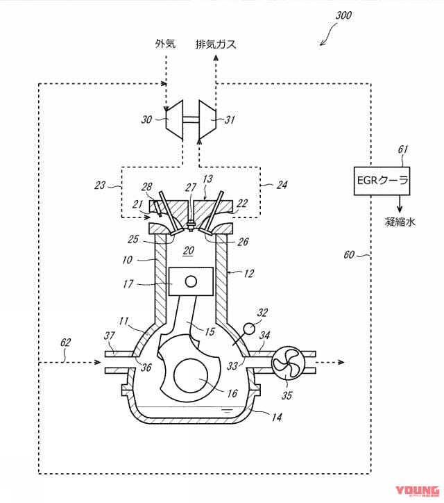
カワサキによる「4ストロークエンジン及びクランクケースの内部における着火防止方法」という特許の出願情報が2021年9月2日付で公開された。このエンジンは、水素ガスを含む燃料もしくは含まない燃料(ガソリンのことだろう)で運転可能な4ストロークエンジンであり、水素ガスを用いた場合に問題となるブローバイガスをいかにして換気するか、という技術が骨子である。
燃料が水素ガス/ガソリン/その他であることを問わず、4ストロークエンジンではピストンとシリンダーの隙間を抜けて燃焼室の気体がクランクケース内に漏れ出る場合がある。これを“ブローバイガス”と呼ぶのだが、ガソリンよりもさらに着火しやすい水素ガスの場合、ブローバイガスがクランクケース内で一定以上の濃度になると着火してしまう可能性がある。
ガソリンエンジンでもブローバイガスには未燃焼ガスが含まれてはいるが、この場合はクランクケース内で着火可能なほどに未燃焼ガスの濃度が上昇することはなく、これの対策も必要ない。
ところが、水素ガスを含む燃料の場合は話が変わってくる。水素ガスは天然ガスやガソリンなどの他の燃料に比べて可燃範囲が非常に広く、理論空燃比の10倍に希釈されても着火してしまうのだという。これを防止するためにはクランクケース内の水素ガスの濃度を一定以下に保つ必要があり、このような対策を講じることになったわけだ。
まずセンサーによって燃料に水素ガスが含まれるか否かを判定し、含まれていればエンジン始動前に換気ファンを回してクランクケース内を換気。エンジン始動後は、ケース内の水素ガス濃度を可燃範囲の下限よりも下に保つため、濃度が閾値を超えたら換気ファンを駆動し、閾値を下回っていればファンを停止する。
また、換気にともないクランクケース内には外気を導入するわけだが、導入通路にはフィルターを配置するほか、冷却された排気ガスも混合して導入するというのが面白いところ。まあ、考えてみれば水素が酸素と結びついて生成されるのはH2O、つまり水(水蒸気)なわけだから、これを循環させても全く問題はないのだろう。未燃焼ガソリンが含まれる排気ガスをクランクケース内に……と考えるとゾッとするが、燃料が変われば常識も変わるということか。
同じく、排気ガスの一部は冷却されたのちに混合器のもとになる外気とも混合され、再び燃焼室にも導入されるという。
このエンジンは、水素ガスを含む燃料だけでなくガソリン等でも運転可能。これが実現すれば、たとえばカワサキZ900RSなどに水素燃料版とガソリン版をラインナップし、エンジンを共有しながら燃料貯蔵&供給方法を変更するだけで成立する……という、言ってみれば“新たなプラットフォーム戦略”なんていうのも実現可能なのかもしれない。
いつかこの特許技術が我々の前に製品として現れるのか、それはどんな乗り味とサウンドなのか……。お待ちしてますよ、カワサキさん!
※公開時に誤りがあったため、9月4日19時30分に修正しました
※本内容は記事公開日時点のものであり、将来にわたってその真正性を保証するものでないこと、公開後の時間経過等に伴って内容に不備が生じる可能性があることをご了承ください。※掲載されている製品等について、当サイトがその品質等を十全に保証するものではありません。よって、その購入/利用にあたっては自己責任にてお願いします。※特別な表記がないかぎり、価格情報は税込です。
あなたにおすすめの関連記事
スーパー耐久シリーズ、第4戦を前にトヨタ×川崎重工×大林組が会見 トヨタは、5月21日~22日富士スピードウェイで行われたスーパー耐久シリーズ2021第3戦「富士SUPER TEC 24時間レース」に[…]
川崎重工は2021年8月4日よりWEBメディア「ANSWERS(アンサーズ)」を開設した。 ANSWERSは、より良い未来のために社会課題と向き合う川崎重工の技術や取り組みをわかりやすく紹介するメディ[…]
電動化やハイブリッド、さらには水素燃料への対応も……! 川崎重工は2021年6月1日、新会社「カワサキモータース株式会社」を2021年10月1日に発足させることを発表した。これは2020年11月に明ら[…]
パーソナルユースの2輪も電動化を推進 「ホンダは意志を持って動き出そうとしている人にパワーを与える会社になる。つまりは"Powered by HONDA"だ」と述べた三部社長は、以前からの目標「205[…]
パフォーマンス優先? 現状の把握はこれから 「'35年までに都内で純ガソリンエンジンの新車バイク販売をゼロにする」 '20年12月に東京都の小池百合子都知事が発表し、大きな波紋を呼んだ"電動化"方針。[…]
最新の記事
- 【激論】エンジンオイル三大思想バトル! 高級・格安・純正、結局どれを入れるべきか考えてみた
- 落札価格は4000万円?! ニキ・ラウダが職場への足として使ったフェラーリの4座2ドアクーペ
- 「ぼくの考えた最強のマシン」系?! 『トロン』のマシンをワンオフで再現しちゃった夫婦の話
- 【新型】待望の復活! スズキ(SUZUKI)DR-Z4S/SM購入前に読みたい記事3選【スペック/試乗/レンタル】
- これまでと違った「攻め」を感じさせた2025年の日本メーカー【ノブ青木の上毛グランプリ新聞 Vol.34】
- 1
- 2































