
●文:沼尾宏明
ヤングマシンお家芸のスクープネタとして、何度も執拗に追いかけ回してきた次期ハヤブサの姿。3代目新型のお披露目に伴ってスズキが公開した開発ストーリー動画により明らかになった試作車「ターボ」は、我々が長い間追い求めてきた夢の1台でもあった。
規制議論を巻き起こすほど突出した速さと人気を誇った '98年秋のショーで発表された初代ハヤブサは、よく"衝撃的”と表現されるが、写真が公開された段階では、いい意味で使われていなかった…気がする。当時は[…]
これがハヤブサに乗るぅ?! YMスクープ班の血圧急上昇
文字通りの“大物”だけに、ヤングマシン本誌スクープ班が全力で追いかけてきた次期ハヤブサ。YM本誌では’15年12月号から独自の”予想”を展開。「1500cc化」に始まり、「ターボ化」「やっぱり自然吸気で1400ccだ」「いやターボとの2本立てだ」「正常進化はするけど詳細不明」と変遷を辿った。
…結果的に的中は叶わなかったわけだが、我々が様々な仕様を予想してきたように、公式の開発ストーリー動画で数多くの試作車がテストされていた事実が判明。我々の迷走ぶりは、スズキの試行錯誤を正確に表していた…とも言えるのではなかろうか!?
開発ムービーの中でも驚いたのは、「ターボ隼」の存在だった。どの時期に試作されたのかは不明だが、YM本誌では’16年2月号でスズキ社内でのテスト情報をキャッチし、同4月号で特許を紹介した。当時の我々はテンション爆上がり。読者の反響も凄まじかった。
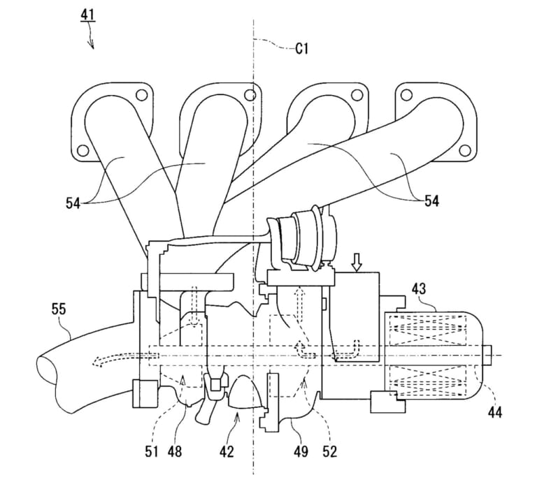
当時公開された特許は”電動アシストターボ”。単なるターボではなく、電動モーターでタービンの回転上昇をアシストする先進システムだ。唐突なターボラグを防ぐ上に、バッテリー+駆動用モーターで電動走行できるのも画期的。おまけにコンパクト設計で2輪用に最適だった。盛んに電動化が叫ばれる現在、”マイクロハイブリッド”として注目を集める手法でもある。
特許の図面は4気筒で、マシンの性格からしてハヤブサに最適。さらにDCTより速いセミオートマチック技術の特許も公開され、その導入にワクワクしたものだった。
ちなみに、同じ動画で明らかになった”6気筒”の存在までは、さすがのYM本誌もつかめず。採用は見送られたが、別の機会にぜひ市販化を!!
貴重な開発風景のカット。10年以上にわたるテストで膨大な試作車が生まれ、その中にターボや1340㏄超の大排気量版などが存在した。
“ターボ隼”夢の根拠:電動アシスト式ターボ特許関連図面(’15年5月公開)
【リカージョン用とは異なる勇ましい並列4気筒ターボ】スズキは’13年秋に2気筒600cc程度のターボモデル「リカージョン」を初公開したが、後に公開された本特許は4気筒向けで、電動アシストモーターまで採用。エンジン前面にターボユニットと補助モーター、背面に駆動用のEVモーターを置くというまったく異なる構造だった。
【タービン軸の回転上昇を電動でアシスト。スペースは最小限に】電動モーターが強制的にタービンを回し、スムーズな走りを実現。タービン同軸上の真横にモーターを置き、小型化を図った。
【EVモーターはエンジン背面に】駆動を補助するハイブリッド用モーターはエンジン背面に搭載。カウンターシャフトとギヤに直結し、発電機としてターボの補助モーターに電力供給する機能も持つ。モーターのみや電動アシスト走行など、任意でモード切り替えも可能だ。
【大容量バッテリーはシート下に】ハイブリッド化にはバッテリーの追加か大容量化が必要。特許では、シート下(図面35)に大きなスペースを割いて置く。その前方は、電動モーター向けに電源を変換するインバーターだ。
にしてもまさか6気筒ハヤブサまで作っていたとは…
もうひとつ驚いたのが”6気筒のハヤブサ”。これはさすがにYM本誌も初耳だった。今までスズキ製バイクで6気筒は存在せず、唯一思い当たるのがコンセプトモデルのストラトスフィア。’05年の東京モーターショーで展示され、180psを発生する水冷6気筒1100ccを搭載していた。この企画が継続中で、ハヤブサとしてテストすることになったのだろうか? もはやハヤブサとは別モノになりそうだが、市販されればインパクト抜群だったのは間違いない。
【’05 SUZUKI STRATOSPHERE [Comcept]】6気筒ながらスリムな横幅で、パワーも180psと十分。会場では走行シーンの動画が流され、カタナを連想させる端正なスタイルでも話題になった。
〈蛇足〉そして誰も信じなくなった…。YMスクープ団オオカミ少年記
次期ハヤブサの第1報を載せたのは『ヤングマシン』’15年12月号。従来型ベースで1380cc程度、または新設計で1500cc化と予想した。そして翌’16年2月号でターボ化の情報をキャッチし、大反響を呼んだ。当時は’17年秋頃の登場を予想したが、次期型は待てど暮らせど現れず、やがて”ターボ案消滅”との情報が舞い込む。結局YM本誌は「オオカミ少年」呼ばわりされ…。ハヤブサ関連のスクープは完敗にオワッタのでした。
【”隼ターボ”追跡は’15年暮れから】写真右が’16年2月号、左が’16年4月号。ターボについて初めて報じたのが当時。’15年にスーパーチャージャーのH2が登場し、ヒットを飛ばす。その対抗馬として十分現実味があったハズが…。
【’16年2月号:テスト情報と特許をキャッチ】社内で既にテスト中との情報に続き、特許情報も掲載。隼の軽快な運動性を損なわずにパワーアップできるのが、ターボ化の根拠だった。
【’17年2月号:NAで排気量アップか?!】情報が乱れ飛び、自然吸気とターボ仕様が併売との噂も。しかし’17年に入ったあたりでターボ案は消え、NAで+100cc程度が有力に。
【’18年6月号:でもターボも売ってほしい】国内では既に生産終了。望み薄ながら再浮上してきたターボ案を再プッシュした。スズキ100周年でユーロ5適用開始となる’20年発売を予想。
【’18年11月号:商標も再出願されてたぞ!】カタナのロゴに続き、欧州と日本でハヤブサの「隼」ロゴが商標出願。用途はキーホルダー/ステッカー/アパレルなど。いよいよと思いきや…。
【’19年3月号:“正常進化版”で情報が定着】’19年前後からほとんど情報が入らず。フレームや車高調整の特許もあったが、電脳化などの正常進化で落ち着く、との見方が有力になった。
※本内容は記事公開日時点のものであり、将来にわたってその真正性を保証するものでないこと、公開後の時間経過等に伴って内容に不備が生じる可能性があることをご了承ください。※掲載されている製品等について、当サイトがその品質等を十全に保証するものではありません。よって、その購入/利用にあたっては自己責任にてお願いします。※特別な表記がないかぎり、価格情報は税込です。
あなたにおすすめの関連記事
規制議論を巻き起こすほど突出した速さと人気を誇った '98年秋のショーで発表された初代ハヤブサは、よく"衝撃的”と表現されるが、写真が公開された段階では、いい意味で使われていなかった…気がする。当時は[…]
裏話本音が炸裂。新型は”買い”では? スズキは、ユーチューブのグローバルチャンネルで隼に関する公式ムービーを8本も公開。PVや技術解説に交じって、珍しいことにエンジニアたちのインタビューを主軸に構成し[…]
〈写真1〉〈写真2〉〈写真3〉〈写真4〉〈写真5〉〈写真6〉〈写真7〉〈写真8〉〈写真9〉〈写真10〉〈写真11〉〈写真12〉〈写真13〉〈写真14〉〈写真15〉〈写真16〉[…]
骨格の完成度は時代を超越。必要な箇所はキッチリ改良 ハヤブサの車体におけるテーマは、"安定感アップ"と"俊敏なハンドリング"、そして"ブレーキ性能&効率の向上"だ。 メインフレームとスイングアームは先[…]
鬼に金棒、サスペンション以外の電子制御サポートは全部入り 先代のハヤブサは、ABSとパワーモードを備えてはいたものの、現代のバイクと比べると電脳デバイスに乏しかった。それもそのはず、2代目のデビューは[…]
最新の記事
- 【バイク選び&最新相場情報】ヤマハ(YAMAHA) セロー250FINAL EDITION(2020) 試乗レビュー
- 【海外新型】ヤマハ(YAMAHA)創業70周年記念! 往年のOW-02カラーを纏った「YZF-R」シリーズ2026年モデル紹介
- 【DIY整備】サビ落とし革命! 削らずに落とせるハケ塗りサビ取り剤を使ってみたら効果的すぎた
- 【国産名車】ヤマハ(YAMAHA)SR400カラー大図鑑:伝統のサンバースト(ぼかし塗装)系を年式ごとに紹介
- 45年前のヤマハのバイクを“箱入り新車”のままゲット! 待っていたのは…キー紛失と鬼キック?!
- 1
- 2








































