
カワサキの「2ストロークエンジン」なる特許が7月8日に公開された。図版を一見すると4ストロークエンジンのようなバルブが片側だけ見えるが、これで2ストロークなのだという。一体どういうことなのだろうか。スクープ未満の妄想も含む記事にはなるが、なるべく頑張って考察してみたい。
●文:ヤングマシン編集部(ヨ) ●CG製作:SRD(不許複製/All rights reserver)
弁方式がSOHC2バルブの2ストローク……だと??
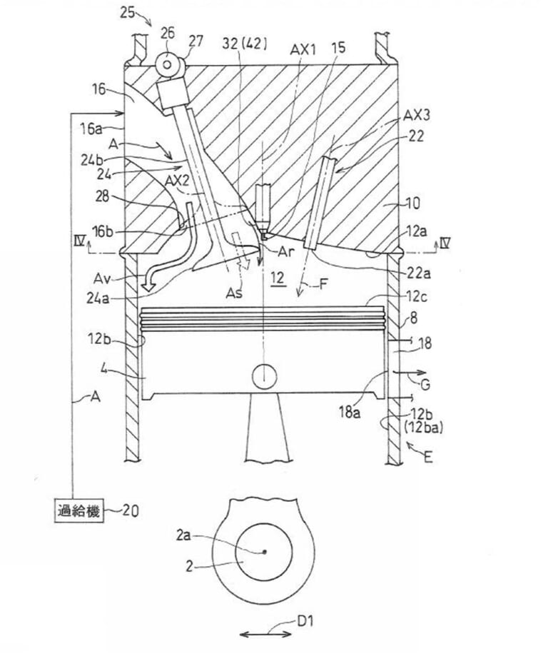
カワサキモータースが2022年12月26日に出願し、2024年7月8日に公開となった特許には、「2ストロークエンジン」の名称が与えられていた。新規の2ストエンジンか、と簡単に考えたらちょっと違う。なにしろ、4ストロークエンジンでしか見られないはずの円錐状のバルブを採用しているのだ(※)。それも吸気側だけ。
これをヤングマシン的なスペック表記とするなら、●冷2ストローク●気筒SOHC2バルブ……ということになるのだろうか? 一般的なモーターサイクル用2ストロークエンジンの弁方式といえば、ピストンバルブやピストンリードバルブ、あるいはクランクケースリードバルブ、ロータリーディスクバルブの4種類しか聞いたことがない。
しかも、4ストロークエンジンにおける2バルブといえば吸気/排気バルブが各1本という構成であり、この特許図のような吸気側の2本だけというのも実に奇妙だ。
しかし、特許の文面と図版を眺めていると、とても理にかなっていると思えてくる。
一般的なモーターサイクル用2ストロークエンジンでは、シリンダーの前後方向のどちらかの壁面に掃気ポートがあり、反対側に排気ポートがある。上記4つのバルブ方式のいずれかでクランクケース内に吸気し、ピストンが下がることで1次圧縮が行われ、掃気ポートからシリンダーに混合気が供給されるとともに燃焼済みのガスが排気ポートから押し出される。入れ替わった混合気はピストン上昇で圧縮され、スパークプラグで点火することで燃焼を得ることができ、またピストンは押し下げられていく。
こうしたサイクルがピストン1往復=クランク1回転の間で行われ、上/下の2ストロークで1サイクルが完成されることから2ストロークあるいは2サイクルエンジンと呼ばれるわけだ。
4ストロークがピストン2往復=クランク2回転で1サイクルを完成するのに対し、同一回転数なら2倍の回数の燃焼を得ることができ、それゆえ同一排気量なら、2ストロークエンジンのほうが圧縮比を上げにくい構造ながらもパワーを得やすく、反面で燃費は悪い。
軽量シンプルな部品構成ながらポート形状によるパワーの追求は複雑で奥深く、一方でクランクケース内に吸気することからクランクベアリングとピストン&シリンダーを潤滑するためのオイルを供給し続けなければならないのが2ストロークエンジンの宿命だった。
※船舶用などの2ストロークディーゼルエンジンでは円錐状の排気バルブとターボの組み合わせが一般的(本記事のエンジンとは逆)かつ主流だが本記事では割愛
もしかして2ストオイル不要か……!
そんなメリット/デメリットを併せ持つ2ストロークエンジンは、なぜ姿を消していったのか。それは、掃気/排気がオーバーラップすることでどうしても未燃焼ガスが排出されることや、2ストオイルを供給することで排気ガスにオイル成分が含まれてしまうことによって、排出ガスのクリーン化が難しかったことによる。また、燃費をよくするのが難しいため二酸化炭素の排出量でも不利だ。
これらを解決するため、これまでも燃焼室にインジェクターで直接燃料を噴射する直噴や、2ストオイルの混合気への混入を極力減らすようなメカニズムがトライされてきたが、根本的な構造が変わったわけではなかった。
4ストロークエンジンのような吸気バルブシステムを持つ一方で、図版の右側に見えるシリンダー壁面には排気ポートが設けられている。そして左下には『過給機』の文字が!
ではカワサキの出願している特許による2ストロークエンジンはというと、吸気バルブを4ストロークで見られるような円錐型のバルブとし、燃料噴射を直噴にすることで、多くの課題を解決に導くように見える。
構造としては、4ストロークエンジンと同じくシリンダーヘッド上にあるカムシャフトでバルブを駆動し(機構的にはOHVでもいいという)、一般的な2ストロークエンジンと同じようにシリンダー側面に設けられた排気ポートから燃焼済みガスが排出されるようになっている。
面白いことに、吸気バルブは4ストロークエンジンがクランク1回転の間に仕事をし、もう1回転する際には完全に休んでいるのに対し、クランク1回転毎に開閉することになる。
これによるメリットは、クランクケース内に吸気しなくて済むということに尽きるだろう。スロットルボディと4ストローク的な吸気ポート/吸気バルブという流路で吸気システムは成立しており、クランクケースを経由する必要がないのだ。
ピストン上面の形状も工夫されているようで、吸気ポート側の壁面に重点的に新気を取り入れることで効率的な掃気を実現。また、直噴用インジェクターは吸気バルブと対になるような位置(4ストにおける排気バルブのあたり)に配置されている。
となれば、クラッチやトランスミッションを潤滑するエンジンオイルを4ストロークエンジンと同様にクランクベアリングにも共有することができ、ケース内を循環するオイルで潤滑が完結する。そのため2ストオイルのように新たに供給してやる必要がなく、これによって排出ガスにオイルが混入することも避けられるはず(一般的な4ストロークエンジンと同等のごくわずかな混入はあるにしても)。
そうなると燃焼室に供給するべきは空気と燃料ということになり、吸排気の考え方はひと回りシンプルになるように思える。これに直噴を組み合わせることで、排気ポートがピストンで塞がれた後に燃料を供給することも可能になる。つまり、点火前に混合気(未燃焼ガス)が排気ポートを吹き抜ける、という現象も起こらなくなるわけだ。
特許の文面によれば、シリンダー壁面の排気ポートが開いたあとに吸気バルブが開き、掃気~吸気が連動して行われる。そしてピストンが上昇して圧縮行程が開始され、燃料噴射が行われるという。
ではこのカワサキ方式の2ストロークのデメリットはと考えると、やはりクランクケース内に吸気しないことに起因するのではないだろうか。1次圧縮がないことで燃焼室に空気を送り込む力は弱くなり、一方で4ストロークのように吸気行程で燃焼室内がしっかりと負圧になるということもなさそう。つまり、回るには回るとしてもちょっと“吸いが弱い”ように思えてならないわけだ。
しかし、カワサキはすでに解決方法も特許にサラリと記載している。そう、過給機である。これは機械式スーパーチャージャーまたは排気を利用するターボチャージャーのどちらであってもいいようで、これによって新気を送り込む力を強め、掃気をより効率的に行うことができるようになるのだろう。また、2ストロークならではのチャンバー(マフラーのパイプが膨らむ独特の形状)がこのエンジンに対しても効果的なのかどうか、気になるところではある。
一部に4ストロークエンジンのような動弁機構を用い、2ストロークのいいところは残しつつネガティブな要因を排除する。ある意味2ストロークと4ストロークのハイブリッドのようなエンジンと言っていいのかもしれない。あとは気になるとすれば燃費がどうかという部分だろうか。
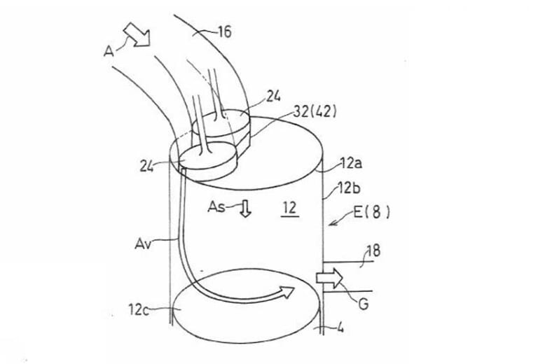
左の図版はピストンが下死点近くまで下がった掃気行程で、吸気バルブから進入した新気が燃焼済みガスを追い出しているのが想像できる。右は圧縮からの燃料噴射行程のようで、排気ポートが塞がってからの直噴により未燃焼ガスの損失を防いでいるように思える。
このほか、燃料は水素、あるいは炭化水素を含む気体燃料、炭化水素を含む液体燃料(ガソリン/ディーゼル/アルコールなど)であってもいいとされている。
まさしく“ぼくの考えた最強の2スト”が具現化されようとしているかのような公開特許である。これ、マジで実現してほしいんですけど!!
ちなみに、どうやら1989年の東京モーターショーでトヨタが公開したコンセプトエンジンにも、似た系統のアイデアが採用されていた模様。資料が揃わず正体はわからないのだが、下記↓↓の記事で触れているので興味があれば一読を。記事の主題であるホンダの2スト+4ストハイブリッドというのも、前2気筒が4スト/後ろ1気筒が2ストのV型3気筒というのは妄想が過ぎるにしても、実際は今回の記事のようなアイデアと近いものだったとすれば、十分に存在し得たものなのかもしれない。
※掲載内容は公開日時点のものであり、将来にわたってその真正性を保証するものでないこと、公開後の時間経過等に伴って内容に不備が生じる可能性があることをご了承ください。
最新の関連記事(スクープ/未来予想)
日本仕様が出れば車名はスーパーフォアになるか ホンダの名車CB400スーパーフォアが生産終了になって今年ではや3年目。入れ替わるようにカワサキから直列4気筒を搭載する「Ninja ZX-4R」が登場し[…]
みんながCBを待っている! CB1000Fに続く400ccはあるのかないのか ホンダの名車CB400スーパーフォアが生産終了になって今年ではや3年目。入れ替わるようにカワサキから直列4気筒を搭載する「[…]
“次”が存在するのは確実! それが何かが問題だ 2018年に発売されたモンキー125以来、スーパーカブC125、CT125ハンターカブ、そしてダックス125と、立て続けにスマッシュヒットを飛ばしている[…]
勝手に妄想、クーリーレプリカ! スズキの『8』プラットフォームに新顔の「GSX-8T」と「GSX-8TT」が登場した。まずは欧州や北米で発売され、順次日本にも導入の見込みだ。 この新型については以前ヤ[…]
おそらくあと数時間で答えは出るが、ヤングマシンは休んでいられない 6月30日に一報をお届けしたように、スズキ「GSX-8」系のニューモデルが登場することになりそうだ。同日にグローバルサイトで公開された[…]
最新の関連記事(メカニズム/テクノロジー)
いまや攻めにも安全にも効く! かつてはABS(アンチロックブレーキシステム)といえば「安全装備」、トラクションコントロールといえば「スポーツ装備」というイメージを持っただろう。もちろん概念的にはその通[…]
油圧ディスクブレーキだけど、“油(オイル)”じゃない いまや原付のスクーターからビッグバイクまで、ブレーキ(少なくともフロントブレーキ)はすべて油圧式ディスクブレーキを装備している。 厳密な構造はとも[…]
[A] 前後左右のピッチングの動きを最小限に抑えられるからです たしかに最新のスーパースポーツは、エンジン下から斜め横へサイレンサーが顔を出すスタイルが主流になっていますよネ。 20年ほど前はシートカ[…]
ミリ波レーダーと各種電制の賜物! 本当に”使えるクルコン” ロングツーリングや高速道路の巡航に便利なクルーズコントロール機能。…と思いきや、従来型のクルコンだと前方のクルマに追いついたり他車に割り込ま[…]
3気筒と変わらない幅を実現した5気筒エンジンは単体重量60kg未満! MVアグスタはEICMAでいくつかの2026年モデルを発表したが、何の予告もなく新型5気筒エンジンを電撃発表した。その名も「クアド[…]
人気記事ランキング(全体)
250cc水冷90°V型2気筒でDOHC8バルブが、たった2年でいとも容易くパワーアップ! ホンダが1982年5月、V型エンジン・レボリューションのVF750Fに次ぐ第2弾としてVT250Fをリリース[…]
インカムが使えない状況は突然やって来る!ハンドサインは現代でも有効 走行中は基本的に1人きりになるバイク。たとえ複数人でのマスツーリングだとしても、運転中は他のライダーと会話ができないため、何か伝えた[…]
悪質な交通違反の一つ、「無免許運転」 今回は無免許運転をして捕まってしまったときに、軽微な違反とはどのような違いがあるのか紹介していきます。 ■違反内容により異なる処理無免許運転の人が違反で捕まった場[…]
6/30:スズキの謎ティーザー、正体判明! スズキが公開した謎のティーザー、その正体が遂に判明したことを報じたのは6月30日のこと。ビリヤードの8番玉を写した予告画像は、やはりヤングマシンが以前からス[…]
RZ250の歴代モデル 1980 RZ250(4L3):白と黒の2色で登場 ’80年8月から日本での発売が始まった初代RZ250のカラーは、ニューヤマハブラックとニューパールホワイトの2色。発売前から[…]
最新の投稿記事(全体)
鮮やかな“パールビガーブルー”のスペシャルエディション登場 スズキは「ハヤブサ」をマイナーチェンジし、2025年12月24日に発売すると発表した。アルティメットスポーツを標ぼうするマシンは、リチウムイ[…]
過渡期に生まれながらもマシン全体の完成度は抜群 ’59年にCB92を発売して以来、各時代の旗艦を含めたロードスポーツの多くに、ホンダはCBという車名を使用してきた。そして昨今では、ネイキッド:CB、カ[…]
16歳から取得可能な普通二輪免許で乗れる最大排気量が400cc! バイクの免許は原付(~50cc)、小型限定普通二輪(~125cc)、普通二輪(~400cc)、大型二輪(排気量無制限)があり、原付以外[…]
13台しか作られなかった964モデルのうちの1台 ポルシェのカスタムと聞いて、世代の違いで思い浮かべるファクトリーが変わってくるかと思います。ベテラン勢ならば、クレーマー、ルーフ、あるいはDPやアンデ[…]
悪質な交通違反の一つ、「無免許運転」 今回は無免許運転をして捕まってしまったときに、軽微な違反とはどのような違いがあるのか紹介していきます。 ■違反内容により異なる処理無免許運転の人が違反で捕まった場[…]












































