公開特許図版がコチラ。
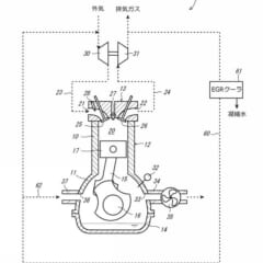
カワサキの特許出願情報が2021年9月2日に公開された。その内容は「4ストロークエンジン及びクランクケースの内部における着火防止方法」というものだが、これは内燃機関で“水素ガスを含む燃料”を使用することを想定したもの、。トヨタが水素カローラで魅せたイノベーションに続く、エンジン界の一大転機となるか!? 目次 1 クランクケースを換気する……って?! クランクケースを換気する……って?! カワサキに […]
爆誕! 世界初のバガーレース世界選手権 ハーレーダビッドソンとMotoGPは、ハーレーダビッドソンのバガーレーサーのみに特化した、世界初のグローバルレーシングシリーズ『Harley-Davidson […]
あえて勝てなかったサファリラリーをモチーフに ポルシェ911にとって、サファリはなかなか勝たせてもらえなかった数少ないラリー。1974年はカレラ2.7RS、1978年は911SCラリーといったマシンを[…]
乗るカワサキ・着るカワサキ カワサキモータースジャパンは、2026年3月に開催予定の「第42回大阪モーターサイクルショー2026」「第53回 東京モーターサイクルショー2026」にブース出展すると発表[…]
バイク系メディアでもその名を目にしたことのある方は少なくないだろう。ロードレースを中心にカメラマンとして活動し、雑誌をはじめとしてメディアでも活躍してきた赤松孝さんがキヤノンギャラリー銀座およびキヤノ[…]
新基準原付とホンダ「Lite」シリーズ 皆さん既にご存知のことかと思いますが、新基準原付とは2025年4月1日から新たに設けられた原付一種の区分で、排気量50cc超125cc以下、かつ最高出力が4.0[…]
高いコスパと「旅」をテーマにした日常着としてのデザイン 『葬送のフリーレン』は、魔王を倒した勇者一行の後日譚を描くファンタジー作品だ。主人公のエルフ・フリーレンが、かつての仲間との約束を果たすため、あ[…]
2025/9/16:衝撃のシルエットティザー公開 中国のSNS『微博』で「新しい命を創造する」というメッセージとともに、丸目ネイキッドのシルエットが公開された。画像の解析からは、丸型ヘッドライトやダブ[…]
伝説の暗殺拳が拓く、愛と宿命の世紀末 1980年代、原作・武論尊、作画・原哲夫により展開され、少年たちの胸を熱く焦がした『北斗の拳』。その魅力について振り返っておこう。 物語の舞台は、199X年の核戦[…]
十分な軽さ、しかし失っていないビッグ1的な貫禄 2025年2月28日に発売され、6月30日に受注終了となったファイナルエディションでCB1300シリーズが終止符を打った。ホンダのビッグ1シリーズ的なも[…]
強度は「太さ」よりも「焼き入れ」で確保する 多くのライダーは「チェーンは太いほど強い」と考えがちだ。確かに物理的な切断に対して太さは正義だが、それは同時に携帯性を犠牲にすることを意味する。カエディアが[…]




