
スズキの「e-PO(イーポ)」と思われる車両に関する特許が公開された。出願は2023年2月となっており、2023年秋のジャパンモビリティショーでの参考出品車には装備されていなかった仕様が検討されていることがわかる。
●文:ヤングマシン編集部(ヨ)
堂々と公道を走れる原付一種の折り畳み電動モペッド、発売早よ!
スズキがジャパンモビリティショー2023で初公開した原動機付自転車の「e-PO」は、同時発表の「eチョイノリ(e-choinori)」や新原付カテゴリーのスズカーゴ、スズライドらとともに大きな注目を集めた。今夏の鈴鹿8耐ではチームスズキCNチャレンジのピットにブルーのe-POが並べられていたことも記憶に新しい。
「e-PO」はスズキとパナソニックサイクルテックの共同開発で、市販されている電動アシスト自転車び「OFF TIME」をベースにしていると思われる。他の出展車両とともに参考出品車という扱いではあったが、実現性の高そうなコンセプトであり、2024年6月には原付一種登録してナンバーを取得した車両によって公道走行調査が行われ、『市販近し』との印象を与えている。
ちなみに電動モペッドを取り巻く状況としては、警察が2024年4月より違法な電動モペッド(出力が大きすぎる電動アシスト自転車を含む)の取り締まりを強化していると言われ、一般メディアでも実際の公道でも、そうした違法走行モデルに厳しい視線が注がれている。
そんな中、バイクと自転車のノウハウを持つ国産メーカーが共同開発する「e-PO」は、多くの原付ユーザーが安心して手にすることができる1台として期待を集めそうだ。
バッテリーが切れたら乗れないという問題を解決!
そしてこのたび、スズキが電動の原動機付自転車に関する特許を出願していたことが明らかになった。出願は2023年2月3日で、公開は2024年8月16日。この車両の図版が、簡略化されているもののe-POに似ているように思われるのだ。
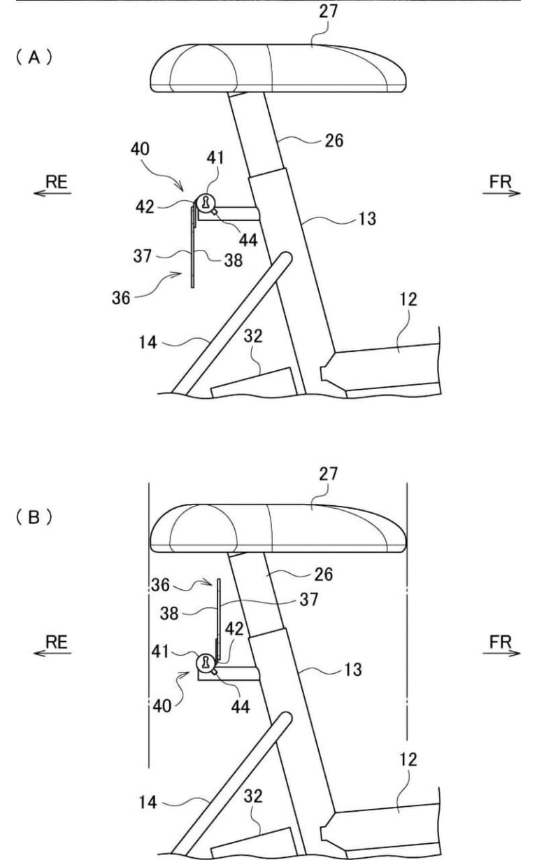
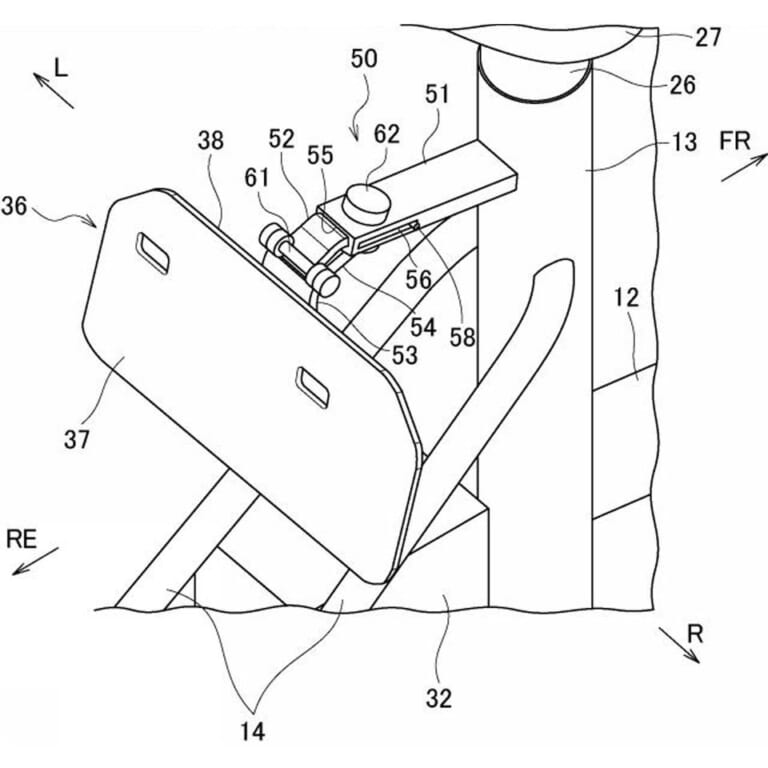
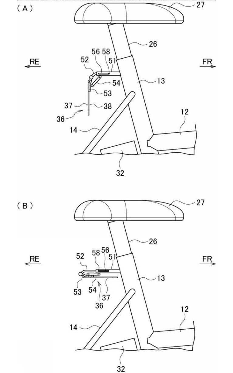
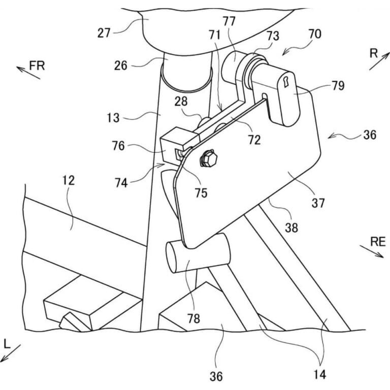
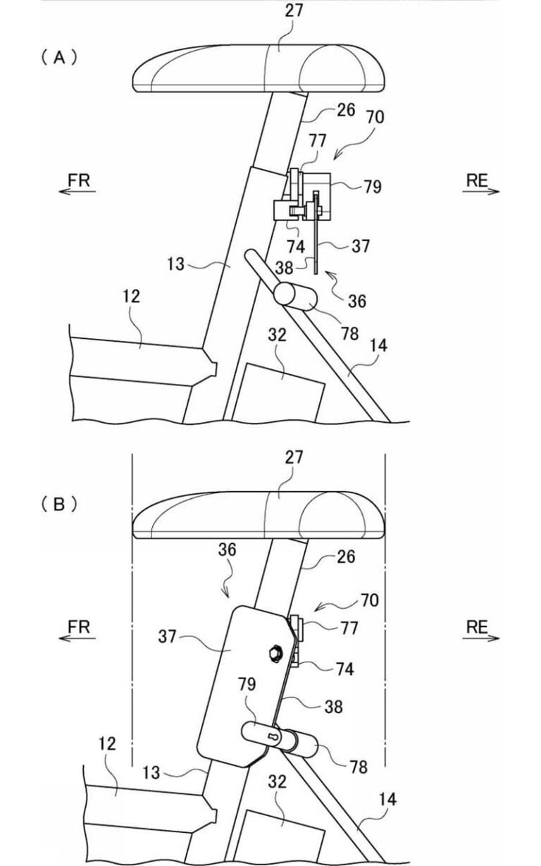
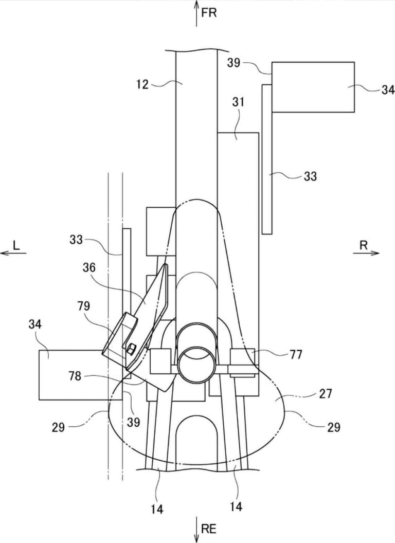
この特許は、使用形態を変える際にナンバープレートを非表示にすることができるというもの。具体的には、電動モードあるいは電動アシストモードを用いた動力走行と、人力のみによる走行を分けるものだ。
じつはここに問題がある。動力走行を前提とした原動機付自転車に区分されていると、たとえ人力のみで走行する場合でもウインカーを含む灯火類の作動などが義務付けられている。つまり、バッテリー残量が0%になると公道を走行できなくなってしまうのだ。
つまり、構造的には人力走行が可能でも、車両区分によるルール上は保安部品が作動する状態でないと公道を走れない。
これを解決するために、グラフィットなどのEV専業メーカーは車両区分を変化させることができるモビリティとして「原動機付自転車として適法に走行させることができない構造」を持たせるというアイデアを実現した。
これはナンバーを何らかの方法で見えないように畳むか隠すかして、外観から人力モードで走っていることがわかるようにすることで、車両区分を変更してしまうというもの。グラフィットでは「モビリティ・カテゴリー・チェンジャー(略称:モビチェン)」と名付けている。
これと同様のアイデアを、スズキが自社製のe-PO(と思われる車両)に向けて具現化しようというのが、今回の特許の要点だ。
車両のメインキー等を用いてナンバープレートホルダーのロックを解除、ホルダーを折りたたんで普通の自転車の見た目にすることで車両区分も軽車両になり、自転車のルールで走ることができるようになる。
特許図版にあるいずれの方法でもナンバープレートは畳んだままロックできる模様。これなら、出先でバッテリーを使い切ってしまっても安心して自転車として運用できる。
e-POは年内にも正式発表が予想されているが、この特許のような機構が搭載されるかは未知数。しかし、利便性を考えれば多少のコストが上乗せされたとしても採用してくれるならありがたい。どうでしょうか、スズキさん!?
特許図版はe-POに酷似?!
かなり簡略化されているが、バッテリー搭載位置や小径ホイールからe-POへの搭載を検討していると思われる。
横から見た図だ。
横から見た図。
e-POは小さな保安部品や前18/後20インチタイヤを装備
ベースモデルと思われるパナソニックサイクルテックの「OFF TIME」。バッテリー容量8.0Ahで走行距離30~53km(モードによる)を実現し、価格は15万8000円。
折り畳み電動モペッドのe-POは、パナソニックサイクルテックの「オフタイム(OFF TIME)」という電動アシスト自転車がベースと思われ、これに前後ディスクブレーキやフェンダー、デジタルメーターなどを増設している。
走行モードは3種類。原付一種並みの動力性能を発揮するフル電動モード、電動アシスト自転車のような“24km/hまでしかアシストできない”といったルールから解き放たれたアシストモード、そして保安部品の電源をONにしながら人力のみで走るペダル走行モードがある。
元々は自転車に小さなエンジンを搭載したことからはじまった“原動機付自転車”のカテゴリーだが、このe-POはある意味で原点回帰したものと言えるのかもしれない。
e-PO のスペックとスタイリング&ディテール解説
主要諸元■全長1520 全幅570 全高930 シート高790~955(各mm)■タイヤサイズ前:18-2.125 後:20-2.124 ※写真と諸元はジャパンモビリティショー2023発表時のもの
e-PO
e-PO
e-PO
e-PO
※掲載内容は公開日時点のものであり、将来にわたってその真正性を保証するものでないこと、公開後の時間経過等に伴って内容に不備が生じる可能性があることをご了承ください。
最新の関連記事(新型EV/電動バイク)
電動原付一種バイクながら電動アシスト自転車にも切り替え可能 50ccの原付一種バイクが生産を終え、これまでこのクラスを利用してきたユーザー層が新車に乗り換えるなら、上限125cc以下の新基準原付、もし[…]
“マキシスポーツ”の系譜を受け継ぐAEROX E ヤマハはインドで電動スクーター2車を発表。このうち「AEROX E」は、ヤマハのマキシスポーツの系譜を受け継ぐ高性能電動スポーツスクーターで、ヤマハが[…]
エンジンみたいな気持ちよさはないでしょう? って、確かに違う乗り物だけど…… 2023年にホンダが同社初のパーソナル向け電動バイク「EM1 e:」を発売し、2024年にはカワサキが国産初のスポーツタイ[…]
インホイールモーターなど車体のベースはホンダ製 ヤマハが原付一種の電動スクーター「JOG E」を市販する。2002年に量産初の電動二輪車「パッソル(Passol)」を日本国内で発売して以降、原付一種E[…]
走るワクワクを現代・そして未来に…EVであの“VanVan”が復活!! 10月30日(木)から11月9日(日)まで東京ビッグサイトにて開催されていた「ジャパンモビリティショー2025」。スズキのブース[…]
最新の関連記事(スズキ [SUZUKI])
16歳から取得可能な普通二輪免許で乗れる最大排気量が400cc! バイクの免許は原付(~50cc)、小型限定普通二輪(~125cc)、普通二輪(~400cc)、大型二輪(排気量無制限)があり、原付以外[…]
DRZ4シリーズが24年ぶりのフルモデルチェンジ ʼ00年に登場したDR-Z400シリーズ。オフ車の“S”が24年ぶり、モタードの“SM”が19年ぶりとなるフルチェンでDR-Z4シリーズへと進化! 早[…]
2ストGT時代から世界ではツーリングモデルで定評のブランド! 2ストロークエンジンのメーカーだったスズキも、排気ガス規制などに対応できる4ストローク化を急務としていた。 そして1976年、初の4ストロ[…]
オンロードメインで楽しむ扱いやすいツアラーモデル いい意味で、事前の想像とは大きく異なる乗り味だったのが、油冷単気筒エンジンを搭載した軽二輪アドベンチャーのVストローム250SX。このルックスから、個[…]
50ccクラスは16歳から取得可能な“原付免許”で運転できるほか、普通自動車免許でもOK バイクを運転するための免許は原付(~50cc)、小型限定普通二輪(~125cc)、普通二輪(~400cc)、大[…]
人気記事ランキング(全体)
250cc水冷90°V型2気筒でDOHC8バルブが、たった2年でいとも容易くパワーアップ! ホンダが1982年5月、V型エンジン・レボリューションのVF750Fに次ぐ第2弾としてVT250Fをリリース[…]
インカムが使えない状況は突然やって来る!ハンドサインは現代でも有効 走行中は基本的に1人きりになるバイク。たとえ複数人でのマスツーリングだとしても、運転中は他のライダーと会話ができないため、何か伝えた[…]
悪質な交通違反の一つ、「無免許運転」 今回は無免許運転をして捕まってしまったときに、軽微な違反とはどのような違いがあるのか紹介していきます。 ■違反内容により異なる処理無免許運転の人が違反で捕まった場[…]
6/30:スズキの謎ティーザー、正体判明! スズキが公開した謎のティーザー、その正体が遂に判明したことを報じたのは6月30日のこと。ビリヤードの8番玉を写した予告画像は、やはりヤングマシンが以前からス[…]
RZ250の歴代モデル 1980 RZ250(4L3):白と黒の2色で登場 ’80年8月から日本での発売が始まった初代RZ250のカラーは、ニューヤマハブラックとニューパールホワイトの2色。発売前から[…]
最新の投稿記事(全体)
過渡期に生まれながらもマシン全体の完成度は抜群 ’59年にCB92を発売して以来、各時代の旗艦を含めたロードスポーツの多くに、ホンダはCBという車名を使用してきた。そして昨今では、ネイキッド:CB、カ[…]
16歳から取得可能な普通二輪免許で乗れる最大排気量が400cc! バイクの免許は原付(~50cc)、小型限定普通二輪(~125cc)、普通二輪(~400cc)、大型二輪(排気量無制限)があり、原付以外[…]
13台しか作られなかった964モデルのうちの1台 ポルシェのカスタムと聞いて、世代の違いで思い浮かべるファクトリーが変わってくるかと思います。ベテラン勢ならば、クレーマー、ルーフ、あるいはDPやアンデ[…]
悪質な交通違反の一つ、「無免許運転」 今回は無免許運転をして捕まってしまったときに、軽微な違反とはどのような違いがあるのか紹介していきます。 ■違反内容により異なる処理無免許運転の人が違反で捕まった場[…]
レプリカに手を出していなかったカワサキがワークスマシンZXR-7から製品化! 1988年、秋のIFMAケルンショーでカワサキのZXR750がセンセーショナルなデビューを飾った。 なぜ衝撃的だったかとい[…]
- 1
- 2





























































