
スズキの「eチョイノリ(e-choinori)」と思われる車両に関する特許が4月~5月にかけて登録・発行された。この特許では、バッテリー1個を搭載していたジャパンモビリティショー2023参考出品車に対し、サブバッテリーを含む2個が搭載可能になっている。
●文:ヤングマシン編集部(ヨ)
ちょい乗りするだけですから、というコンセプト
スズキがジャパンモビリティショー2023(JMS)で初公開した「eチョイノリ(e-choinori)」は、同時発表のe-PO(イーポ)や新原付カテゴリーのスズカーゴ、スズライドらとともに大きな注目を集めた。いずれも参考出品車ではあったが、実現性の高そうなコンセプトや車体構成にウキウキしたスズキファンも多いことだろう。
おりしも原付一種=50ccの定義が、2025年11月からは“125ccであっても出力制御することで原付一種扱いにする”というルールに変更される見通しもあって、スズキの次世代原付コミューターにおける有力な製品として正式な登場が期待されている。
そんな中で、今回はeチョイノリについて特許情報をキャッチした。
49cc・OHV2バルブの空冷単気筒エンジンは最高出力2.0ps、乾燥重量39kg。部品点数を約3割削減、ボルト&ナット類を約5割削減することでコンパクトな設計とし、5万9800円という低価格を実現したチョイノリ。発売は2003年だった。
名車とも珍車とも言われるチョイノリ(eなし)は、2003年2月に5万9800円で発売された伝説的な格安スクーター。その後継機として電動化されたものというコンセプトが「eチョイノリ」だ。往年のチョイノリと同じように通勤や通学、買い物など近距離の移動に機能を絞り、リヤサスペンションすら持たないシンプルな車体構造となっている。
超近距離モビリティとして幅広い世代に愛されそうなeチョイノリは、電動バイクを買わない理由としてしばしばバイク乗りがつぶやく「航続距離が足りない」という問題を逆手に取ったかのようなネーミングとコンセプトで、「いえ、ちょい乗り用ですから」と鮮やかに切り返したかのような、「その手があったか!!」の電動モビリティと言えよう。
e choinori(JMS参考出品車)
バッテリーが増設できるならありがたいわけで
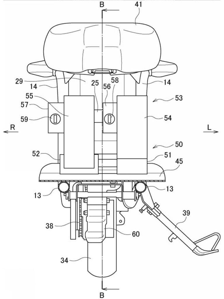
このたび明らかになった特許では、図版に使われている車両の外装部分が省略されているものの、見るからにeチョイノリとしか思えない形態。そして特許の主題はバッテリーの搭載および着脱の方法についてだった。
こちらはJMS公開車両のバッテリー着脱写真。
JMS参考出品車との大きな違いは、バッテリーを2個搭載した図になっていることだ。シートとフロアボードの間、ライダーのふくらはぎのすぐ後ろあたりにマウントされたバッテリーは左右に1個ずつあり、それぞれ前方もしくは左右どちらかに向かって取り外す構造になっている。
これを見ると、前述のように超近距離モビリティとして開発されていることに違いはなさそうだが、バッテリー1個で15~20km程度と思われる航続可能距離が、サブバッテリーも搭載することで2倍になると想定できる。つまり片道10~15kmくらいは現実的に不安なく使えそう、ということになる。
となれば、もちろんユーザーの使い方にもよるが、都市部だけでなく郊外や、坂道の多い地方などにお住いの方でも50ccエンジン車の代替として選択肢に入ってくる可能性がある。
浜松からの吉報を待ちたい!
公開されたeチョイノリの特許図
JMSで参考出品されたeチョイノリ
e choinori
電動アシスト自転車の駆動ユニットとバッテリーを活用。
シート下というか足元というか……という位置にバッテリーをマウント。その直下に駆動ユニットがある。
このサイズのヘルメットは収納可能ということか。ここは元祖チョイノリに対するアドバンテージであり、電動スクーターとしてヘルメット収納可能なスペースと確保しているのはかなり珍しい。
メーターは超シンプル。
e choinori
e choinori
※掲載内容は公開日時点のものであり、将来にわたってその真正性を保証するものでないこと、公開後の時間経過等に伴って内容に不備が生じる可能性があることをご了承ください。
最新の関連記事(スズキ [SUZUKI])
16歳から取得可能な普通二輪免許で乗れる最大排気量が400cc! バイクの免許は原付(~50cc)、小型限定普通二輪(~125cc)、普通二輪(~400cc)、大型二輪(排気量無制限)があり、原付以外[…]
DRZ4シリーズが24年ぶりのフルモデルチェンジ ʼ00年に登場したDR-Z400シリーズ。オフ車の“S”が24年ぶり、モタードの“SM”が19年ぶりとなるフルチェンでDR-Z4シリーズへと進化! 早[…]
2ストGT時代から世界ではツーリングモデルで定評のブランド! 2ストロークエンジンのメーカーだったスズキも、排気ガス規制などに対応できる4ストローク化を急務としていた。 そして1976年、初の4ストロ[…]
オンロードメインで楽しむ扱いやすいツアラーモデル いい意味で、事前の想像とは大きく異なる乗り味だったのが、油冷単気筒エンジンを搭載した軽二輪アドベンチャーのVストローム250SX。このルックスから、個[…]
50ccクラスは16歳から取得可能な“原付免許”で運転できるほか、普通自動車免許でもOK バイクを運転するための免許は原付(~50cc)、小型限定普通二輪(~125cc)、普通二輪(~400cc)、大[…]
最新の関連記事(新型EV/電動バイク)
電動原付一種バイクながら電動アシスト自転車にも切り替え可能 50ccの原付一種バイクが生産を終え、これまでこのクラスを利用してきたユーザー層が新車に乗り換えるなら、上限125cc以下の新基準原付、もし[…]
“マキシスポーツ”の系譜を受け継ぐAEROX E ヤマハはインドで電動スクーター2車を発表。このうち「AEROX E」は、ヤマハのマキシスポーツの系譜を受け継ぐ高性能電動スポーツスクーターで、ヤマハが[…]
エンジンみたいな気持ちよさはないでしょう? って、確かに違う乗り物だけど…… 2023年にホンダが同社初のパーソナル向け電動バイク「EM1 e:」を発売し、2024年にはカワサキが国産初のスポーツタイ[…]
インホイールモーターなど車体のベースはホンダ製 ヤマハが原付一種の電動スクーター「JOG E」を市販する。2002年に量産初の電動二輪車「パッソル(Passol)」を日本国内で発売して以降、原付一種E[…]
走るワクワクを現代・そして未来に…EVであの“VanVan”が復活!! 10月30日(木)から11月9日(日)まで東京ビッグサイトにて開催されていた「ジャパンモビリティショー2025」。スズキのブース[…]
人気記事ランキング(全体)
インカムが使えない状況は突然やって来る!ハンドサインは現代でも有効 走行中は基本的に1人きりになるバイク。たとえ複数人でのマスツーリングだとしても、運転中は他のライダーと会話ができないため、何か伝えた[…]
寒暖差が大きくても着替えずに対応できる! ワークマンのヒーターウエア『WindCore(ウインドコア)』シリーズは、電熱ヒーターを内蔵する防寒アイテム。別売りのバッテリー(4900円)は必要だが、もの[…]
お待たせしました経過報告です 前回のラバゲイン記事、おかげさまで大反響をいただきました。ありがとうございます! そして同時に、「続編が知りたい!」「その後どうなったの?」「どれぐらい持つの?」「いつま[…]
昔ながらの構成で爆発的な人気を獲得 ゼファーはレーサーレプリカ時代に終止符を打ち、以後のネイキッドの基盤を構築したモデルで、近年のネオクラシックブームの原点と言えなくもない存在。改めて振り返ると、’8[…]
BLESS CREATIONのカーボン外装をまとう カーボン外装メーカー・ブレスクリエイションの高い質感と造形の美しさのX350専用外装に惚れ、編集部号にも装着することにした。フロントフェンダー/ラジ[…]
最新の投稿記事(全体)
バニャイアにとって「新しいモノはいいモノ」じゃなかった MotoGPマシンがあまりにも速くなりすぎたこともあって、再来年にはレギュレーションが大きく改定されることになった。 エンジンは850ccに、空[…]
戦闘力を高めるヘッドギア「ダインギア ヘッドアーマー」 クロスカブ110の個性をさらに際立たせ、カスタムの方向性を決定づけるほどの高いデザイン性を持つパーツが登場した。それがダイバディプロダクションが[…]
粘り強い100mmボアビッグシングルと23Lタンク KLR650の心臓部は、水冷4ストロークDOHC4バルブ単気筒エンジンだ。排気量は652ccで、ボア径はなんと100mmにも達する超ビッグシングルと[…]
きっかけは編集部内でのたわいのない会話から 「ところで、バイクってパーキングメーターに停めていいの?」 「バイクが停まっているところは見たことがないなぁ。ってことはダメなんじゃない?」 私用はもちろん[…]
ワールド経験者と全日本ホープが加入! FIM世界耐久選手権(EWC)を戦っているTeam Étoile(チーム・エトワール)が2026年のライダーラインナップを12月12日(金)に発表しました。 2[…]
- 1
- 2


























































