
今や貴重なミドルクラスの並列4気筒車として、堅調な販売を続けているCBR650R/CB650R。乗りやすさとスポーツ性の好バランスが光る1台だが、ホンダはそこに“イージー”というさらなる一手を加えてくる?! 特許出願でその存在が明らかになっている「電子式クラッチ」が投入されるというのだ!!
●CG作成:SRD(CBR650R)/鰭崎真司(CB650R)
革命的装備も価格差はヒトケタ万円以内?!
スーパースポーツ系を除くと唯一の国産ミドル直4スポーツ・ホンダCBR650R/CB650Rに「電子式クラッチ」が導入される見込みだ。ホンダは2022年11月に「Honda Pro Clutch」、2023年1月に「Honda E-Clutch」という商標を出願したのをはじめ、電子クラッチ関連の特許を大量に日本で出願。その第1弾搭載車がCB650R/CBR650Rになるようだ。
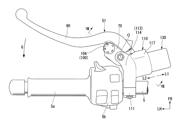
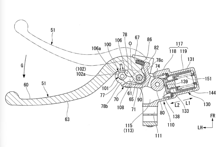
ご存じのとおりバイクのクラッチは、レバーからの入力をワイヤーか油圧で機械的に伝達しているが、こうした入力を電気信号としたシステムが電子クラッチだ。近頃はアクセルの入力を電気信号で伝える“スロットルバイワイヤ”が増加中。電子クラッチも同様の機構で“クラッチ バイワイヤ”と言える。
ホンダと言えば奇数ギヤと偶数ギヤにそれぞれクラッチを持ち、AT走行も可能とするDCT(デュアルクラッチトランスミッション)を各車に展開しているが、クラッチレバーがないDCTに対し、電子クラッチはレバー操作もできるのが特徴だ。
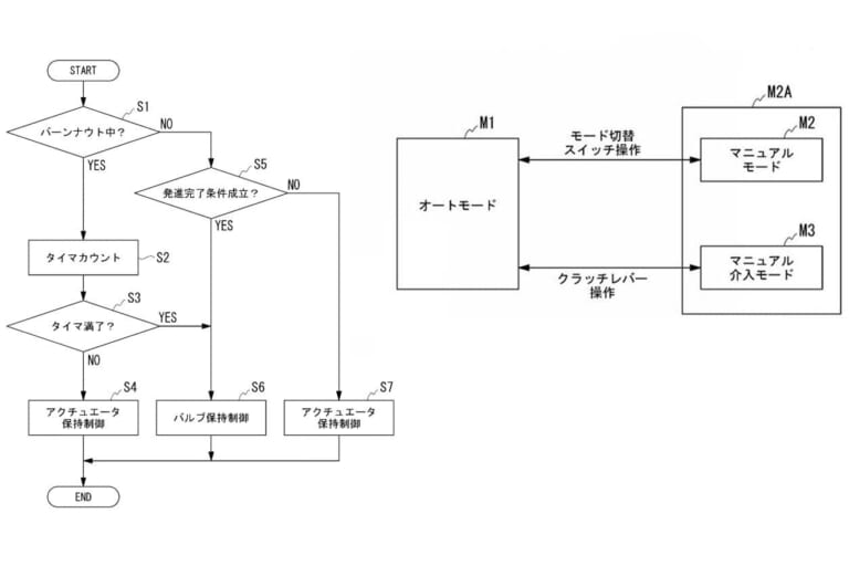
特許によると、レバー操作不要でゼロ発進から変速までをこなすオートマチッククラッチモードのほか、通常のマニュアル車と同じようにレバー操作ができ、なんとエンストするモードまで想定されている。これら全ての機能が実車に投入されるかは不明だが、クラッチ操作から完全に解放されるモードを搭載するのは間違いないだろう。クラッチ操作を行うモードでも、より軽い操作感や回転アシストなどの機能が期待できるはずだ。
ビギナーにメリットがあるのは言うまでもないが(レブルなんかに最高だと思います!)、クラッチ操作を楽しみたいベテランにも有効。長距離や疲れた際はオートマで走り、スポーツ走行したい時は従来通りのマニュアルと使い分けられる。イージーさと操る楽しさを両立できるのは、さすがホンダだ。
そして何よりも期待したいのは価格。MT車との違いはレバー周辺とクラッチ操作用のアクチュエーター、制御系程度に収まりそうだし、何より構造的にDCTよりも圧倒的にシンプル。CRF1100LアフリカツインのMT車とDCT車の価格差が11万円なことを踏まえれば、新650の電子クラッチ仕様はプラス10万円以内に収まる可能性もあるだろう。
【ホンダCBR650R E-Clutch|イメージCG】現行型はCBR-RR系をイメージさせる2眼+フルカウルを採用。2019年の初代登場時からスタイルは変わっておらず、電クラの投入に合わせて外観のリファインもありえるか。◎予想発売時期:2023年秋〜 ◎想定価格帯:120万円前後 ◎デビュー可能性:90%
【ホンダCBR650R E-Clutch|イメージCG】ネオスポーツカフェを標榜するCB-R兄弟のミドル版として登場。デザインは兄弟車のCBRと同じく2019年型から不変なの で、そろそろ変更されると予想したい。◎予想発売時期:2023年秋〜 ◎想定価格帯:110万円前後 ◎デビュー可能性:90%
【ホンダCBR650R(107万8000円〜)/CB650R(100万1000円〜)】ミドルクラスでは貴重な並列4気筒を搭載する万能スポーツの2台。通常の6速マニュアルだが、電子クラッチが搭載されれば、激戦区であるミドルクラスで大きなアドバンテージとなるハズだ。 ■水冷4スト並列4気筒 648cc 95ps/12000rpm 6.4kg-m/9500rpm ■車重203kg シート高810mm 燃料タンク容量15l ※諸元はCB650R
ワイヤーではなく電気信号の”クラッチバイワイヤ”
通常のクラッチはレバーからの入力をケーブルか油圧で物理的に伝達していたが、センサーからワイヤ(電線)で電子的に伝えるのがクラッチ バイワイヤ。レバー操作に必要な力は従来以上に軽くて済む。
出願特許によると、レバー不要でエンストしないオートモード、クラッチを任意に切れて自動でオートマに戻るモード、完全マニュアルの 3種類が選択可能。メーター上のランプでモードの状態は一目瞭然だ。変速ショックや過度なエンブレも制御する!
※本記事の文責は当該執筆者(もしくはメディア)に属します。※掲載内容は公開日時点のものであり、将来にわたってその真正性を保証するものでないこと、公開後の時間経過等に伴って内容に不備が生じる可能性があることをご了承ください。
あなたにおすすめの関連記事
オートクラッチ操作とマニュアル操作を自在に切替可能? 2021年6月にお伝えした『クラッチもバイワイヤ! ホンダの新たな特許、指1本で軽々操作できる……だけじゃない?!』という記事を覚えている方はいら[…]
4輪の車線維持システムと類似 4輪の技術で『車線内の中央を走るように制御する』というシステムがあるのをご存じだろうか。ホンダで言えば「レーンキープアシストシステム=LKAS」と呼ばれるもので、日本語で[…]
コーナリング中の自動ブレーキでも車体姿勢をキープできる これはライダーなら直感的に「そりゃ実現は難しいよね」と思う代物で、たとえばカーブで車体が傾いているときに自動ブレーキが作動したとしたら挙動が乱れ[…]
より操作に忠実な過給機付きエンジンを実現する! ホンダがアフリカツインに過給機を搭載?! そんなニュースが現実味を帯びてきたかもしれない。2020年の特許公開時には海外メディアを中心に話題となったが、[…]
エンジンの出力軸に作用する補助ブレーキで、車体姿勢の乱れを抑制する 走行中のバイクを減速する手段は大まかに言ってホイールに作用する前輪ブレーキと後輪ブレーキ、そしてエンジンの回転抵抗を用いて後輪に作用[…]
最新の関連記事(CB650R/Eクラッチ)
デザイン刷新&Eクラッチ採用の2024年モデルからカラーバリエーションを変更 ホンダは欧州で、2024年モデルのマイナーチェンジでデザイン変更とEクラッチ(Honda E-Clutch)搭載仕様の追加[…]
大型二輪免許は18歳から取得可能! バイクの免許は原付(~50cc)、小型限定普通二輪(~125cc)、普通二輪(~400cc)、大型二輪(排気量無制限)があり、原付以外には“AT限定”免許も存在する[…]
CBR650R&CB650Rをもっと楽しく、ジェントルに! マフラーカスタムは出力特性を向上させるもの。そんなイメージを抱いている方はとても多いと思います。しかし、近年のバイクはノーマルでも十分パワフ[…]
大型二輪免許は18歳から取得可能! バイクの免許は原付(~50cc)、小型限定普通二輪(~125cc)、普通二輪(~400cc)、大型二輪(排気量無制限)があり、原付以外には“AT限定”免許も存在する[…]
大型バイクの重さ/シビアさから降りてしまったライダー 今回「CB650R E-Clutch」に乗るのは、元大型ライダーの赤坂さん。 バイク歴8年で10代から乗っていた赤坂さんは、以前はリッタークラスの[…]
最新の関連記事(CBR650R/Eクラッチ)
デザイン刷新&Eクラッチ採用の2024年モデルからカラーバリエーションを変更 ホンダは欧州で、2024年モデルのマイナーチェンジでデザイン変更とEクラッチ(Honda E-Clutch)搭載仕様の追加[…]
以前、Honda E-Clutchを開発した方々にインタービューしたとき「最初はHonda E-Clutchなんていらないと思っていたけれど、一度乗ったら考えが変わった」という話をお聞きしました。 じ[…]
CBR650R&CB650Rをもっと楽しく、ジェントルに! マフラーカスタムは出力特性を向上させるもの。そんなイメージを抱いている方はとても多いと思います。しかし、近年のバイクはノーマルでも十分パワフ[…]
【岡崎静夏 おかざき・しずか】ルックスはキュートなバイク女子。走りは全日本ロードレース選手権J-GP3クラスでシリーズランキング4位を獲得する実力!! E-クラッチがもたらす超スムーズな変速に感動 今[…]
ベテランはクラッチ操作を苦にしていない まずはライダーである私、後藤のプロフィールをお伝えしておきましょう。40年バイクに乗り続けていて、ワインディングやツーリング、アマチュアレース参戦などさまざまな[…]
人気記事ランキング(全体)
11/1発売:カワサキ Z250 カワサキ「Z250」はニンジャ250と骨格を共有するこの軽二輪スーパーネイキッドは、アグレッシブな「Sugomi」デザインを継承。軽さと力強さを併せ持つ本格的スーパー[…]
薄くても温かい、保温性に優れる設計 GK-847は、ポリエステル素材をベースとしたサーマル構造を採用しており、薄手ながらも高い保温性を実現している。厚手のウインターグローブの下に装着しても動きが妨げら[…]
厳冬期ツーリングで感じる“インナーの限界” 真冬のツーリングでは、防寒ジャケットやグローブを重ねても、冷えは完全には防ぎきれない。風を受け続ける上半身は体温が下がりやすく、体幹が冷えることで集中力や操[…]
長距離や寒冷地ツーリングで感じる“防寒装備の限界” 真冬のツーリングでは、重ね着をしても上半身の冷えは避けにくい。特に風を受ける胸や腹部は冷えやすく、体幹が冷えることで集中力や操作精度が低下する。グリ[…]
より高度な電子制御でいつでもどこでも快適な走りを!! 【動画】2026 CB1000GT | Honda Motorcycles ホンダがEICMA 2025にて発表した「CB1000GT」は、「Hi[…]
最新の投稿記事(全体)
世界初公開! 3タイプのEVバイクが未来の二輪車シーンを牽引する!? 10月30日(木)から11月9日(日)まで東京ビッグサイトにて開催されている「ジャパンモビリティショー2025」。ヤマハのブースで[…]
革新メカERC装備の本格アドベンチャー EICMA2024、そして今春の東京モーターサイクルショーでも展示された「Concept F450GS」が、EICMA2025で正式モデル「F450GS」として[…]
風のように静かで、1000㏄並みにトルクフル! ホンダは昨年のEICMA2024で「EV Fun Concept」を出展したが、今回のEICMA2025では「WN7」を発表。基本スタイルは踏襲するもの[…]
今回は、BMCの最新モデル「防風ジーンズ・ボア」2025年モデルがターゲットだ!! 先日、弊誌が「週刊○○」のようにBLUE MONSTER CLOTHING(以下:BMC)のローリー青野氏を追尾して[…]
点火トラブルって多いよね 昔から「良い混合気」「良い圧縮」「良い火花」の三大要素が調子の良いエンジンの条件として言われておりますが、それはそのまま調子が悪くなったバイクのチェック項目でもあります。その[…]
- 1
- 2



















































