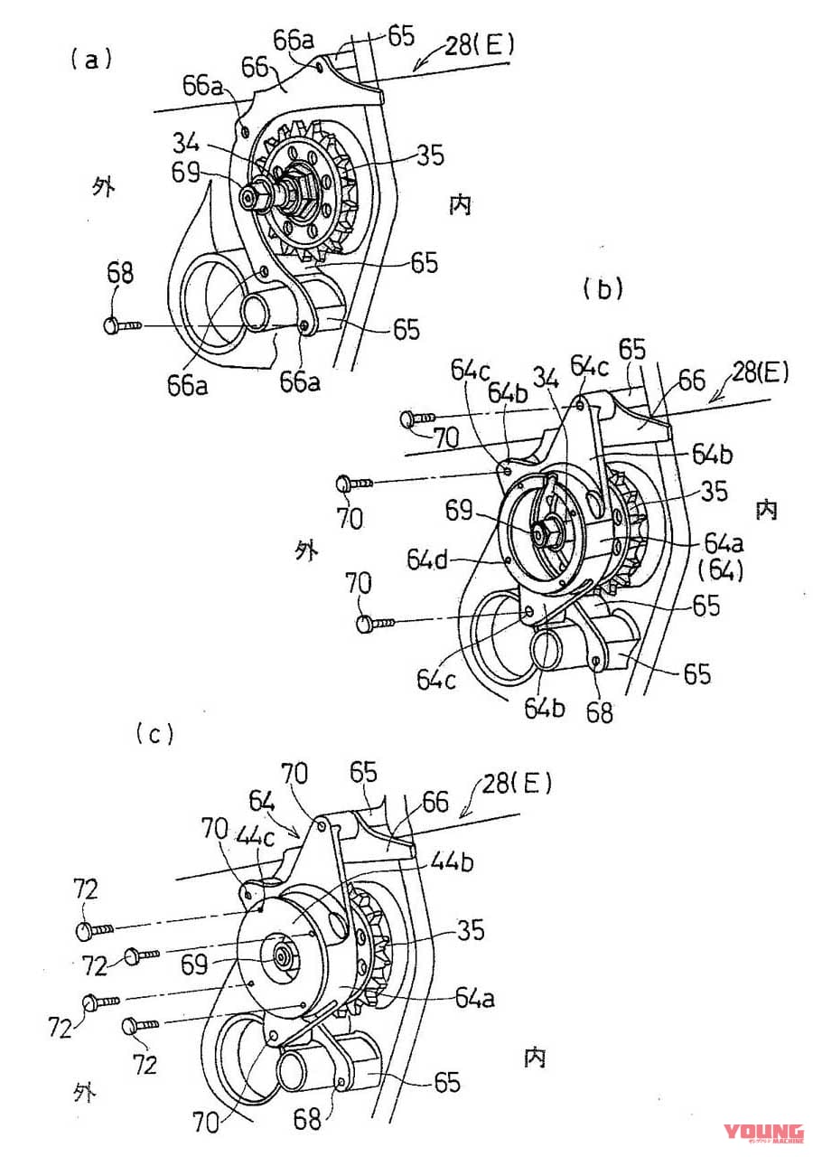
補助ブレーキのマウント方法などを解説する図版。既存のエンジンに取り付けるのもスペース的に無理はなさそうだ。
カワサキの「補助ブレーキを備えた鞍乗型車両」なる特許が今年1月に公開されている。普通バイクはエンジンブレーキまたはリヤブレーキで後輪を減速するが、これにもうひとつの選択肢を用意しようということらしい。駆動軸からドライブチェーンなどを介して減速力を伝えるという意味では、電磁式エンジンブレーキと言えなくもない……? 目次 1 エンジンの出力軸に作用する補助ブレーキで、車体姿勢の乱れを抑制する エンジン […]


































