●文:ヤングマシン編集部 ●CG:白圡学
’20年10月に開催された、「神戸ニューオーダーチョッパーショー」に展示されていた謎の3輪バイク。前2輪構造やフレーム、エンジンから見るにカワサキ Z125をベースに作成されたと見ていいだろう。そこでヤングマシンでは謎の3輪バイクをベースにカワサキがKSRを復活させてくれるのではないかと期待。
謎の3輪車、状況証拠からしてカワサキ製で間違いなし!
ここで取り上げる謎の3輪バイク「NL‐TR1」は、’20年10月に開催された神戸ニューオーダーチョッパーショーに出展されていた車両。カスタムショーらしくストリート系の外観を持つが、最大の注目点は2本の倒立フォークを車体中央にぐっと寄せて構築されたフロントの2輪構造にある。
左右にリーンするのはヤマハ トリシティなどと同様だが、部品点数が少なく、構造はとてもシンプル。それでいて前2輪のトレッドは広く取られており、トライク型でも4輪免許で運転が可能になる460mm以上はあるように見える。フレーム自体はZ125を無加工で使っているようだ。
【FONK MOTORCYCLE NL-TR1 3WHEEL TRIKE】出展者は神戸のフォンクモーターサイクル。「NL-TR1」と名付けられたこの車両の外装類は、ヤマハSRやハーレーなどのカスタムに強い同社の技術が注がれたもの。エンジンはZ125で走行可能。この出展自体、カワサキの意向で名を秘して反響を探る市場調査の一環ではないかと思われる。
エンジンはZ125のものを使用。
ショーでは謎の存在だったが、この前2輪構造は川崎重工の「noslisu(ノスリス)」という電動の3輪自転車にも採用されており、’20年12月には特許も公開されていることが判明。以上の証拠から、上の3輪バイクはカワサキの試作車とみて間違いないだろう。
では、この3輪車の狙いは何だろうか? 部品点数が少ないから安く作れそうだし、展示車のように既存2輪のフレームにポン付けが可能。必要な免許は4輪だ。つまりは既存2輪をベースに、価格上昇を最低限に抑えた3輪バイクを作り、2輪よりはるかに裾野の広い4輪免許所持者に訴求する…というプロジェクトではないだろうか。
カワサキは今後、派生機種に力を入れる方針らしい。その流れに合致しつつ、4輪免許で乗れる125ccスリーホイールなんて飛び道具をひねり出すとは…。さすがはカワサキ、目の付けどころがひと味違う!
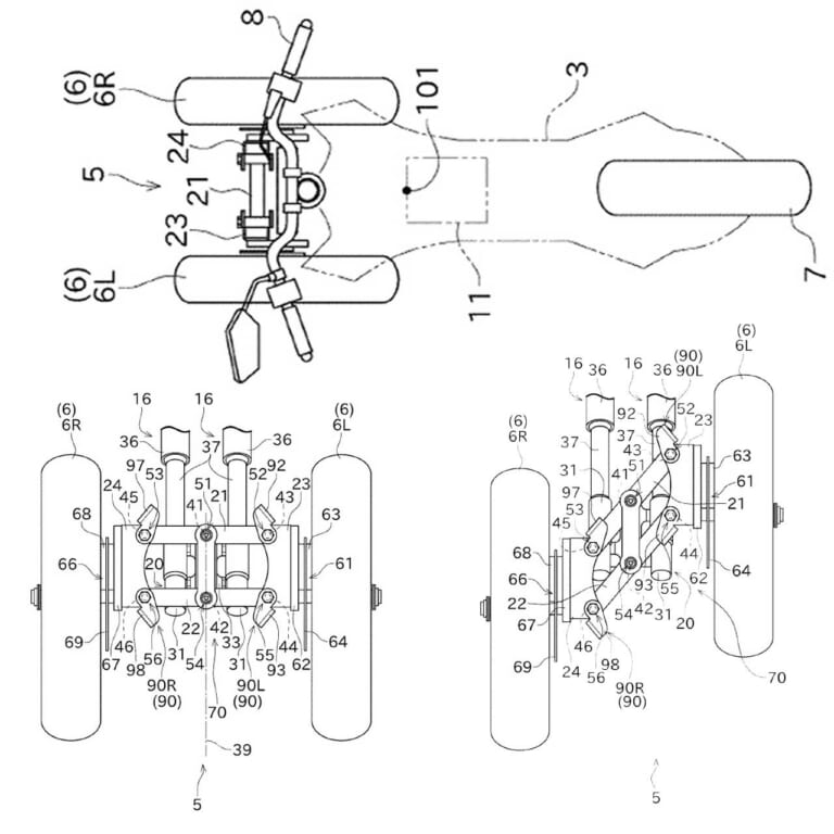
【Z125の倒立サスをそのまま活用】前2輪構造を支持しているのはヘッドパイプから伸びたリンク機構で、Z125を転用した2本の倒立フォークは緩衝のみを担う。しかし特許公報には、通常のバイクのフロントフォーク先端に前2輪システムをボルトオンしたような図版も存在。その日の気分で前2輪と1輪を使い分ける…なんてこともできる?
【特許も出願】上図はカワサキの特許公報図版。その狙いは「車両のリーン及び進行方向の変更を簡素な構造で実現する」とある。左右のホイールは横方向に走る上下2本のサスペンションアームで繋がっており、このサスアームの中心点を軸に左右輪がストロークする。つまり、右ホイールが上に動けばそのぶん左ホイールが下に動くという非独立懸架だ。システム全体の剛性やタイヤの接地性ではヤマハ方式に分がありそうだが、カワサキ方式はシンプルで重量的にもかなり軽そう。コストを抑え、幅広い普及を目指す意図が垣間見える。余談ながら、発明者のひとりにはニンジャH2の車体設計を担当したエンジニアが名を連ねていた。まさかのスーパーチャージャー3輪もある!?
【ヤマハの3輪とは違う方向性だ】ヤマハ3輪の方は、4本のフロントフォークを独自のパラレログラムリンクで支持する凝った構造により、高い走行性能と自然な操縦性を追求。立ち位置はあくまでも2輪で、訴求相手もライダーが中心だ。※写真はナイケンとトリシティ300
【川重の社内公募で生まれた電動アシスト3輪・ノスリス】クルマ/バイク/自転車それぞれの不便を解決する次世代の3輪モビリティ。電動アシスト仕様にEV仕様も存在し、前2輪の間に荷物スペースも備える。川崎重工の社内公募で生まれたプロジェクトで、現在事業化を目指している。
末弟Zに7年目の刷新はあるか?!
カワサキネイキッドの末弟として’16年に登場。ベースは’08モデルでファイナルとなったKSR110で、横型シリンダーの空冷SOHC2バルブ単気筒を3mmのボアアップで111→124ccへ拡大、燃料供給もキャブからFIとし、始動方式もキックからセルへ。外観もKSRのオフロードテイストからストリートファイター系へと大幅にイメチェンを図っている。KSRは1人乗りだったが、Z125はタンデム可能なのもポイントだ。’20年10月に黒と青、2つの新色が登場したが、国内はこの’21がファイナルとなる模様。競合するホンダ・グロムはフルチェンジを敢行したが、カワサキはどう出る?
せっかくなので本格KSR復活を希望!!→YM未来予想は「カワサキKSR125 TYPE-3W」
NL-TR1のPVでは、安定性を活かしてダートで遊ぶシーンも。オフで楽しい気軽なカワサキ…というわけで、妄想CGはKSRイメージで作成してみた。どお?
【KAWASAKI KSR125 TYPE-3W|IMAGE CG】●予想発売時期:調査中 ●予想価格帯:調査中 ※デビュー可能性:30%
“小さくて速い”KSRをもう一度
スーパーバイカーズスタイルをデフォルメしたスタイルで登場したKS-I/IIをベースに、水冷エンジンや倒立フォークを採用して’90年に登場。’03年には4スト化されてKSR110へと進化した。
※本内容は記事公開日時点のものであり、将来にわたってその真正性を保証するものでないこと、公開後の時間経過等に伴って内容に不備が生じる可能性があることをご了承ください。※掲載されている製品等について、当サイトがその品質等を十全に保証するものではありません。よって、その購入/利用にあたっては自己責任にてお願いします。※特別な表記がないかぎり、価格情報は税込です。
あなたにおすすめの関連記事
空冷単気筒を搭載、倒立フォークやペタルディスクを装備するリトルダイナマイト カワサキは、スーパーネイキッドZシリーズの中で最も軽くコンパクトな車体に空冷単気筒エンジンを搭載したZ125 PROの202[…]
カワサキの誇るスーパーネイキッド、Zシリーズの中でも最もコンパクトで軽いZ125プロがカラー&グラフィック変更。前後12インチホイールにワイドレシオの4速ミッションを組み合わせ、街を快活に、経済的に走[…]
2018年9月10日、昨年のイタリア ミラノショーでカワサキが登場を予告したニンジャ125とZ125の写真が公開された。これまでの予想通り、車体や外装は国内でも販売されていたニンジャ250SL&Z25[…]
2018年8月29日、昨年のイタリア ミラノショーでカワサキが登場を予告したニンジャ125とZ125のティザー動画が公開された。「The Toughest Choice(非常に難しい選択)」というタイ[…]
最新の記事
- 【元白バイ警官が解説】「白バイそっくりカスタムは違法?」「制服や装備ってどんなモノ?」の答え教えます
- ホンダ/カワサキ/スズキから続々! 最新スーパースポーツ/ツアラー/スクーター発売カレンダー【2025年11月版】
- 【モビショー】自立する二輪車MOTOROiDにハイブリッドEVバイク、そして水素…ヤマハブースも目が離せない!!
- ロアミドルとは思えない本格装備! ベテランもビギナーも存分に振り回せるBMW「F450GS」見参!!
- ホンダの本格スポーツEVバイク「WM7」が遂に登場! 600㏄のパワーと1000㏄のトルクで新次元の走りに期待大!!
- 1
- 2



































