
スズキは、国内公式HPで「GSX-R1000R」の生産終了を明らかにした。欧州でもカタログ落ちとの情報があり、これでGSX-R1000シリーズが生き残るのは北米やフィリピンなど、限られたマーケットのみということになった。
●文:ヤングマシン編集部(ヨ)
2022年8月には新世代GSX-R1000と思われるエンジンの特許情報が公開され……
スズキは国内の公式HPで、リッタースーパースポーツ「GSX-R1000R」および軽二輪スクーター「バーグマン200」の生産終了を明らかにした。唯一の4気筒ナナハンとして生き残ってきたGSX-S750の生産終了に続き、令和2年排出ガス規制が適用されるタイミングで車両ラインナップが再構築される。
MotoGPおよび世界耐久選手権のワークス撤退と時を同じくしての「GSX-R1000終了のお知らせ」だけに寂しいことこの上ない。
ちなみに、ハヤブサやGSX-S1000シリーズ(KATANA含む)、Vストローム1050などをはじめとした新世代車が令和2年排出ガス規制に適合していく一方で、軽二輪のVストローム250、GSX250R、ジクサー250/SF250、ジクサー150らは旧排出ガス規制の型式のままラインナップに残っており、エンジンをリファインした新型が登場する予兆なのか気になるところだ。
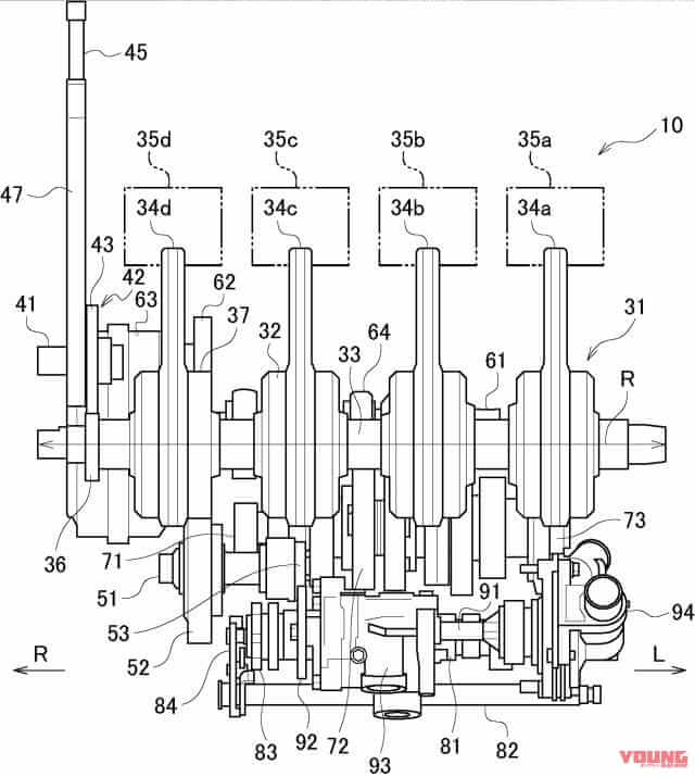
公開特許図と現行GSX-R1000のエンジン画像がピタリと一致。
さて、気になるといえばGSX-R1000がこのまま本当に消えてしまうのかということ。これについては正直言って“わからない”としか言いようがないのだが、2022年8月には次世代GSX-R1000向け(?)に開発していたと思われる並列4気筒エンジンの特許情報が公開されている。
この特許は2021年1月に出願されたもので、まだMotoGPや世界耐久選手権の撤退の気配などなかった頃。とはいえ、スズキファンとしては「いずれまた、いつか……」と一縷の望みをつなぐ拠り所になるかもしれない。
特許情報は、クランク軸を逆回転させるエンジンにおいてエンジンサイズの大型化を抑えるというのが骨子。逆回転クランク仕様のエンジンは、最終的なドライブ軸を正回転とするために、一般的な3軸構成ではなく4軸構成になる。これがエンジンの大型化を招くわけだが、クランク軸とカウンタ軸の間に介在するプライマリ軸を下方に配置し、上後方にあるカウンタ軸を正回転とする構成になっている。このほかプライマリドライブギヤなど、それぞれの干渉を防ぎつつ配置したことなどにより、クランクケースの大型化を抑えているという。
軸配置と各軸&ギヤの干渉を避ける工夫が分かる図。
逆回転クランクは、もちろんMotoGPマシン「GSX-RR」から来た直系の技術と見て間違いない。ホイールの正回転ジャイロモーメントを打ち消すことで、倒し込みの重さ(というか慣性力による抵抗)を解消できるほか、クランクの加減速によるトルクリアクションで前後荷重が移動しすぎるのを防ぐ効果もある。
前者の効果で言えば、速度を高めるほどに増えていく回転イナーシャを打ち消すことで、低速域から高速域までの倒し込みの手応えの変化を抑制することが可能。また、車体をより安定方向にセットアップすることも可能になる。
トルクリアクションの面では、例えば縦置きクランクのではアクセルをひねると車体が横にグラリと傾くが、これと同じ力が実は横置きクランクのバイクにも発生しており、正回転では加速するとウイリー方向に、減速するとジャックナイフ方向にトルクリアクションが起こる。クランクを逆回転にすると、例えばスロットルを戻してブレーキングする際にはフロントに荷重が移っていくのと反対のモーメントがトルクリアクションによって起こり、極端な荷重移動を抑制する効果になるのだ。
……と小難しい話はさておき、少なくとも次世代GSX-R1000向けと思われるエンジンの構想があったことは確実。欧州では2025年以降に次期規制のユーロ6が施行される可能性が高そうだが、これに合わせて逆回転クランクの次世代GSX-R1000が登場……となればファンとしては嬉しいことこの上ないが……。今はじっと耐え忍び、いつかまたGSX-R1000に出会える日を心待ちにしたい。
あ、ユーロ5仕様のハヤブサのように、しばらく〈生産終了〉のままラインナップに置いておきつつサプライズで復活! という路線も歓迎しますけどね!
なお、北米では「GSX-R1000」「GSX-R750」「GSX-R600」の2023年モデルが発表されているほか、フィリピンなどでは現行ラインナップにGSX-R1000が残っている。イギリスでは特別仕様の「GSX-R1000R ファントム」が店頭在庫としてまだ買えるところもあるようだ。
日本もこれにて終了というわけではなく、店頭在庫などから入手は可能なはず。どうしても欲しい! という方はショップに問い合わせてみてほしい。
現行GSX-R1000Rは2021年7月30日発売
現状で国内最終モデルとなるのは2021年型だ。2017年にフルモデルチェンジし、ユーロ4適合で197psを誇る並列4気筒エンジンは、幅広い回転域でパワーを得られる「ブロードパワーシステム」を実現するため、カムタイミングを可変するVVT(バリアブルバルブタイミング)や電子制御スロットル+2インジェクター、3つの排気圧調整バルブといった先進の装備を採用。
過度な剛性を抑えたコンパクトなフレームや、SHOWA製の前後サスペンション、BFF(バランスフリーフロントフォーク)とBFRC lite(バランスフリーリヤクッションライト)、ブレンボ製モノブロックラジアルマウントブレーキキャリパー+Tドライブブレーキディスクといった車体まわりも色あせない。
日本仕様ではETC2.0車載器を標準装備し、価格は215万6000円。
SUZUKI GSX-R1000R[2021 model]
【SUZUKI GSX-R1000R[2021 model]】主要諸元■全長2075 全幅705 全高1145 軸距1420 シート高825(各mm) 車重203kg(装備)■水冷4ストローク並列4気筒 999cc 197ps/13200rpm 11.9kg-m/10800rpm 変速機6段 燃料タンク容量16L■タイヤサイズF=120/70ZR17 R=190/55ZR17 ●価格:215万6000円 ●色:青×銀、艶消し黒×灰、艶消し黒 ●発売日:2021年7月30日
SUZUKI GSX-R1000R[2021 model]トリトンブルーメタリック/ミスティックシルバーメタリック (GUL) ※アンダーカウルがブラックに&サイドカウルの一部が銀から青になった
※本記事は“ヤングマシン”が提供したものであり、文責は提供元に属します。※掲載内容は公開日時点のものであり、将来にわたってその真正性を保証するものでないこと、公開後の時間経過等に伴って内容に不備が生じる可能性があることをご了承ください。※掲載されている製品等について、当サイトがその品質等を十全に保証するものではありません。よって、その購入/利用にあたっては自己責任にてお願いします。※特別な表記がないかぎり、価格情報は税込です。
あなたにおすすめの関連記事
'22年11月からユーロ5基準規制が施行。1台でも多く生き残ってくれ! CB400SF/SBなどロングセラーの生産終了が相次いでいる。これは、'22年11月1日以降生産の全バイクに適用される「平成32[…]
マットブラックの車体にシングルシートカウルやヨシムラサイレンサーを装着 英国スズキは、リッタークラスのスーパースポーツで、世界耐久選手権のチャンピオンマシンでもあるGSX-R1000Rに特別仕様の「G[…]
1980年代カラーと最新スーパースポーツを融合 スズキが北米で2023年モデルのGSX-Rシリーズを発表した。GSX-R1000R/GSX-R1000/GSX-R750/GSX-R600それぞれにニュ[…]
カワサキ ニンジャZX-10RR 川崎重工125周年記念KRTスペシャル#1:ZXR750カラーでオヤジハートを直撃 川崎重工グループの設立125周年を記念して、'21年SBK第12戦アルゼンチン大会[…]
開発したのはスズキ育ちのエンジニア 内燃エンジンを搭載したドローンこそが未来を切り拓くのか? そう思わずにはいられない無人航空機が公開される! 同社は2021年10月には先行開発機の「AZ-500」を[…]
最新の記事
- 【限定ヘルメット】kabuto「F-17R Mips」登場! カーボン×Mipsで最高峰の空力と安全性を手に入れたフラッグシップ
- 鍵の滑りをよくする裏技! クレ5-56がNGな理由とは?
- 年末年始の帰省時に食べたい道の駅グルメ! 「道-1グランプリ」出場グルメを味わって2026年へ向けて心身ともにチャージだっ!
- ひと狩りいこうぜ! モンハン仕様のスズキ「DR-Z4S」がオートサロンに見参──「ジムニー ノマド」とともに冒険心を刺激する!
- スズキ「GSX250R」が全カラー刷新! 価格は2024年モデルから据え置きで新4色をラインナップ
- 1
- 2





![SUZUKI GSX-R1000R[2021 model]|【生産終了】さよならGSX-R1000……!! また逢う日は逆回転クランクで!?](https://young-machine.com/main/wp-content/uploads/2021/07/GSX-R1000RZAM2_GUL_1-768x512.jpg?v=1627034305)
![SUZUKI GSX-R1000R[2021 model]|【生産終了】さよならGSX-R1000……!! また逢う日は逆回転クランクで!?](https://young-machine.com/main/wp-content/uploads/2021/07/GSX-R1000RZAM2_GUL_2-768x512.jpg?v=1627034313)
![SUZUKI GSX-R1000R[2021 model]|【生産終了】さよならGSX-R1000……!! また逢う日は逆回転クランクで!?](https://young-machine.com/main/wp-content/uploads/2021/07/GSX-R1000RAM2_CB8_1-768x512.jpg?v=1627034334)
![SUZUKI GSX-R1000R[2021 model]|【生産終了】さよならGSX-R1000……!! また逢う日は逆回転クランクで!?](https://young-machine.com/main/wp-content/uploads/2021/07/GSX-R1000RAM2_CB8_2-768x512.jpg?v=1627034339)
![SUZUKI GSX-R1000R[2021 model]|【生産終了】さよならGSX-R1000……!! また逢う日は逆回転クランクで!?](https://young-machine.com/main/wp-content/uploads/2021/07/GSX-R1000RAM2_4TX_1-1-768x512.jpg?v=1627034424)
![SUZUKI GSX-R1000R[2021 model]|【生産終了】さよならGSX-R1000……!! また逢う日は逆回転クランクで!?](https://young-machine.com/main/wp-content/uploads/2021/07/GSX-R1000RAM2_4TX_2-768x512.jpg?v=1627034354)
























