
ヤマハの新しい特許が2022年5月24日に発行された。その内容は「シームレス変速機の変速ショックを抑制する」というものだが、図版に使用されている車両はMotoGPマシン・YZR-M1ではなく、我々もよく知る市販車「YZF-R1」だった。こ、これは………ッ!!
動力伝達を切断することなく変速できるシームトランスレスミッション
コンマ1秒のラップタイムを競うレースの世界では、昔から無駄のないシフトワークがライダーに必要なスキルとされてきた。できるだけ素早くシフトアップすることが加速時の無駄をなくし、スムーズなシフトダウンは余計な挙動を生まない。そうやってライダーの操作が違いを生み出してきたが、現在のレーシングマシン(およびスポーツバイク)では、これがエンジニアリングの領分になってきている。
クルマの世界では、マニュアルトランスミッションよりもオートマチックのほうが無駄のない加速を実現できることをポルシェが最初に証明した。PDKと呼ばれる機構(いわゆるDCTと同義)を1980年代にレースに持ち込んだあと、21世紀になってから市販車に搭載(市販車ではアウディとVWが先に採用)。以降、さまざまなメーカーが同様の機構を採用した。
バイクはというと、ホンダが2010年型のVFR1200Fに初めてDCTを搭載し、その後もNC700系などをはじめとしたツーリング向けのバイクに採用。また、各メーカーともアクセル&クラッチ操作不要でシフトアップ/ダウン可能なクイックシフターを採用する例が増えている。
いずれも我々のような普通のライダーにとっては十分に素早い変速が可能であり、なんならツーリングにも便利な装備といえる。しかし、厳密にいえばクイックシフターも加速時には変速のたびにコンマ数秒のロス(無加速の時間)があり、DCTはもっとロスを詰められるけれど重量と体積がかさみがちだ。
では、レースの最高峰であるMotoGPマシンにはどんなトランスミッションが使われているかというと、この記事のタイトルにもある“シームレストランスミッション”である。シームレス=継ぎ目がないという名の通り、加速時のロスがゼロになっているのが最大の特徴で、長らくその詳細は伏せられてきたが、ラチェットのような機構によって、たとえば1速と2速を同時に噛み合わせておいて、動力を2速に受け渡した瞬間に1速ギヤが噛み合ったまま内部で空転する仕組み、というようなことがわかってきた。同様にシフトダウン側にも対応し、スロットルを開けっぱなし/閉じっぱなしで全く無駄のないシフトアップ/ダウンができるという夢のような機構なのだ。さらに、一般的なマニュアルトランスミッションよりもさらに左右幅を縮められるという情報もある。
極限まで攻めるMotoGPでは、わずかな挙動の乱れによるタイムロスでも看過できない。派手なアクションに見えても、操作や制御の中身はとても繊細だ。
市販車にはとても搭載できない、そう思っていた時期がありました
一方で、シームレストランスミッションを市販車に投入しようとすると致命的な弱点もあると言われてきた。ひとつは価格が非常に高いことで、一説にはトランスミッション単体で郊外の一軒家が買えるくらいだとか。
そしてもうひとつは、変速ショックが大きかったことだ(シフトアップのたびに、ごく短いウイリーがピョコンと起こる様子を想像してみてほしい)。MotoGPでコーナーから立ち上がる際に、直線に入ってからもバイクを蛇行させるように傾け続けていた場面に見覚えのある方もいることだろう。これは、最短距離で走ることを捨ててでも、途方もないパワー+変速ショックでフロントが浮き上がってくるのを抑えるために、遠心力でフロントタイヤを地面に押し付けることが目的だったという。現在はそれほどでもないように見えるのは、おそらくエアロダイナミクスで浮き上がりを抑制できるようになったのと、シームレストランスミッションの変速ショック自体も軽減してきているのでは、と推察するが詳細はわかならい。
特許図版に用いられていたのは、どう見てもYZF-R1!
こうした理由から、シームレストランスミッションが市販車に採用される日は来ないのかも……と思われていたわけだが、ヤマハがシームレストランスミッションに関する特許を登録していたこと(発行日は2022年5月24日)が判明したのである。しかも、その図版で使われていた車両はMotoGPマシンではなく、市販車のYZF-R1だった。これは祭り好きのヤングマシン編集部として、喰い付かないわけにはいかないだろう。特許の内容を要約すると以下のようになる。
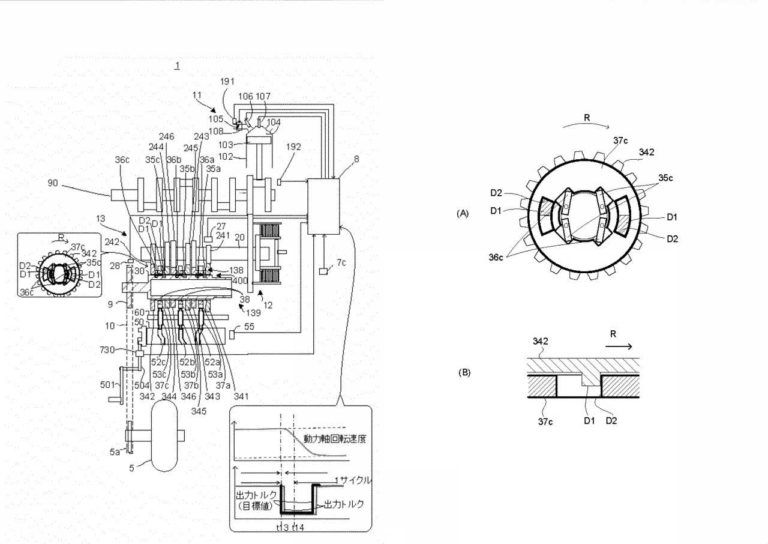
「シームレストランスミッションで変速を行う際には動力伝達が途切れないがゆえに変速ショックが生じる。ギヤ比が切り替わった瞬間に回転数の異なるギヤへと慣性で生じるショックを“イナーシャ相ショック”と称し、これが駆動力の変化として車体の挙動を乱すわけだが、クルマと比べて車重が軽いバイクでは変速ショックによる影響がより顕著である。
制御を行う時の概略。高速で回転するギヤの係合タイミングに合わせて出力制御するので、一般的なクイックシフターよりもだいぶ繊細なタイミング計算が必要に思える。
これを解決する手段として、シームレストランスミッションの内部でショックを抑えるのではなく、車両全体としてショックまたはショックの影響を抑えることを検討した。この検討の中で、変速機に動力を供給する動力源を制御する、つまりクランクからの出力を制御することでショックを抑えることを考えた。
例えば一般的なトランスミッションでも、シフトアップ時には動力を一旦減少させることでギヤチェンジを行いやすくする。この方法がシームレストランスミッションにも使えないか試してみたところ、効果があることを見出だした。さらに、シフトダウン時にも出力制御がショック軽減に有効であるとわかった。
シームレスミッションは加速側と減速側にラチェット機構を備え、これを機械的に制御することで動力伝達が途切れない変速を可能とするが、ギヤが切り替わる前に動力を制御することで変速ショックが抑えられる」
ようするに、動力伝達が途切れないシームレスミッションであっても、クイックシフターのようなパワー制御を行うことでショックが軽減できるということのようである。これにより、加速時のロスは“ゼロ”から“限りなくゼロに近いもの”になるだろうが、仮に市販車に採用することになるなら、不快な(もしくは挙動を乱す可能性のある)ショックを軽減したほうがいいのは間違いない。ただし、クイックシフターよりもかなり繊細で高度な制御を必要とするように思えるが……。また、特許の後半には「ドグ係合するタイプでもそうでなくてもいい」といった内容が書かれていることもあり、ラチェット機構の制御のみで作動するシームレストランスミッションと、その他のタイプのシームレストランスミッションが存在することもうかがわせる。
以上のようなことから、ヤマハが市販車へのシームレストランスミッション搭載を、少なくとも検討していたことがあるのではと推察できた。ちなみに、MotoGPマシンのシームレストランスミッションは、走行中にはニュートラルに入らないようになっており、ニュートラルに入れるためにはハンドレバーの併用操作が必要になっている。これが市販車ではどうなるのか、そしてクラッチ機構は一般的なものなのか、また採用するマシンがスーパースポーツなのかそれ以外なのか、価格はどうなってしまうのか……。気になるところはたくさんある。今後の動きに注目していきたい。
シームレストランスミッション搭載車両の概要と、ギヤ内部のポール(ラチェット機構のようなものらしい)の図。
YAMAHA YZF-R1M / R1 ABS[2022 model]
2015年のフルモデルチェンジで、クロスプレーンクランクの4気筒エンジンに最新の電子制御をテンコ盛でクラス最強のスーパースポーツに生まれ変わったYZF-R1/R1M。2021年型でマイナーチェンジし、外装などのリファインを受けるとともにエンジンはユーロ5に適合した。この際、エンジンスペックは2020年型と変わらない数値が発表されたが、ヤングマシンのテストによる実測ではむしろ大幅にパワーアップし、なんと公称値を超えていたことが判明している。
主要諸元■全長2055 全幅690 全高1165 軸距1405 シート高860(各mm) 車重202kg[201kg](装備)■水冷4ストローク並列4気筒DOHC4バルブ 997cc 200ps/13500rpm 11.5kg-m/11500rpm 変速機6段 燃料タンク容量17L■タイヤサイズF=120/70ZR17 R=200/55ZR17[190/55ZR17] ●価格:319万円[236万5000円] ※[ ]内はR1 ●販売中
※本記事は“ヤングマシン”が提供したものであり、文責は提供元に属します。※掲載内容は公開日時点のものであり、将来にわたってその真正性を保証するものでないこと、公開後の時間経過等に伴って内容に不備が生じる可能性があることをご了承ください。※掲載されている製品等について、当サイトがその品質等を十全に保証するものではありません。よって、その購入/利用にあたっては自己責任にてお願いします。※特別な表記がないかぎり、価格情報は税込です。
YZF-R1シリーズ 概要 ヤマハが誇るYZF-Rシリーズの長兄は、'21モデルでユーロ5対応のマイナーチェンジが施されているため、'22はMAX200psの動力性能や車体面に変更はなくカラーチェンジ[…]
あなたにおすすめの関連記事
ホーネット600の歴史から新生する“何か”がもうすぐ登場?! ホンダが欧州の公式サイトで“ホーネット”のコーナーを新設した! 掲載されているのは、2021年秋のEICMA(ミラノショー)で発表されたコ[…]
クランクケースを換気する……って?! カワサキによる「4ストロークエンジン及びクランクケースの内部における着火防止方法」という特許の出願情報が2021年9月2日付で公開された。このエンジンは、水素ガス[…]
ダウンサイジング並列2気筒に過給機を組み合わせたコンセプトモデルだった スズキのターボといえば、新型ハヤブサが登場した際に「ターボや6気筒も検討していた」と明かされたことがニュースになったが、我々はも[…]
ニーゴーに新ネオクラ? レブルの次を開拓するか 信頼のおける情報筋から「CL250/500なる車名のマシンが企画されているらしい」との話が編集部に舞い込んできた! 残念ながらそれ以外の情報はまだないの[…]
最新の記事
- 公道の事故パターンを徹底分析。約80mmの空気層で胸と背中を守る着用型エアバッグ「T-SABE」登場
- 250ccクラスに革命を起こすVツイン×ベルトドライブ。維持費の悩みも吹き飛ぶ新型クルーザー「GV250X」登場
- ワイズギア2026春夏新作|袖が外れる2Wayジャケット&洗える本革グローブなど3選
- カワサキZ900RSのリアビューをより美しく。保安基準適合のValenti製LEDテールランプで愛車をスタイリッシュに仕上げよう
- 「やば…このデザイン斬新すぎ」「マジでカッコいいわ」超個性的バイクメーカーの芸術的作品。顧客リストには超有名俳優の名前も。
- 1
- 2





![YAMAHA YZF-R1M ABS[2022 model]|次期YZF-R1はシームレストランスミッション搭載か?! ヤマハが変速ショックを抑える特許を登録](https://young-machine.com/main/wp-content/uploads/2021/10/3458cf603267c4d4658f4647b4aaaf74-768x512.jpg?v=1633662530)
![YAMAHA YZF-R1 ABS[2022 model]|次期YZF-R1はシームレストランスミッション搭載か?! ヤマハが変速ショックを抑える特許を登録](https://young-machine.com/main/wp-content/uploads/2021/10/e6aa46fc002d45fa98a92a6e09073902-768x512.jpg?v=1633662583)
![YAMAHA YZF-R1 ABS[2022 model]|次期YZF-R1はシームレストランスミッション搭載か?! ヤマハが変速ショックを抑える特許を登録](https://young-machine.com/main/wp-content/uploads/2021/10/3659ab4f7ef2c06ad683d595dae476c5-768x512.jpg?v=1633662608)
![YAMAHA YZF-R1 ABS WGP 60th Anniversary[2022 model]|次期YZF-R1はシームレストランスミッション搭載か?! ヤマハが変速ショックを抑える特許を登録](https://young-machine.com/main/wp-content/uploads/2021/10/956b5b154f6deb4347b031845cdc4ea3-768x512.jpg?v=1633662640)


























